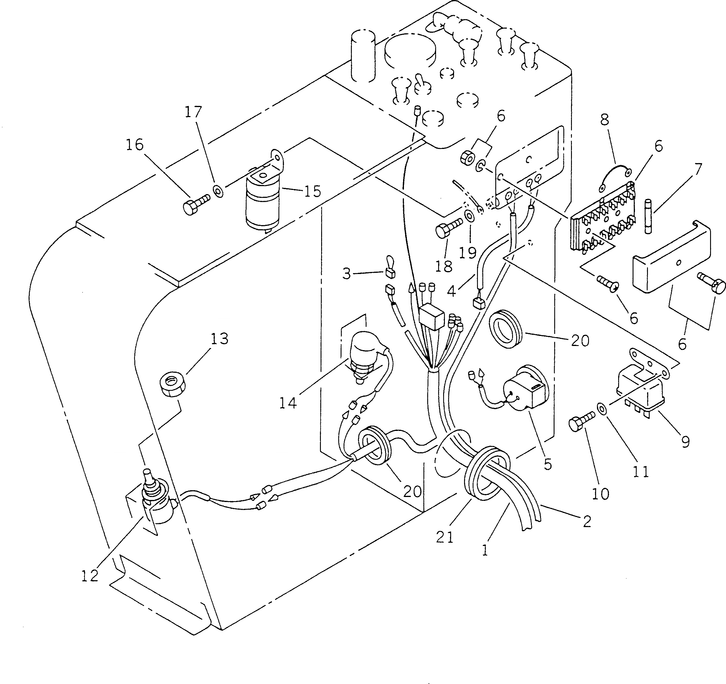
Запчасти Komatsu GD705A-4 ЭЛЕКТРИКА (ЦЕНТР.) (/) (ДЛЯ РОССИЯ №97-)(№97-) КОМПОНЕНТЫ ДВИГАТЕЛЯ И ЭЛЕКТРИКА

Схема запчастей Komatsu GD705A-4 - ЭЛЕКТРИКА (ЦЕНТР.) (/) (ДЛЯ РОССИЯ №97-)(№97-) КОМПОНЕНТЫ ДВИГАТЕЛЯ И ЭЛЕКТРИКА
FIT
1:1
100%

Артикул

Название

Примечание

Количество

1

234-A06-1110

HARNESS,(SEE FIG.1533)

SN: 21097-UP

1шт.

2

234-A06-1360

HARNESS

SN: 21097-UP

1шт.

3

234-A06-1310

HARNESS

SN: 21097-UP

1шт.

4

234-A06-1260

HARNESS

SN: 21097-UP

1шт.

5

232-06-61620

BUZZER

SN: 21097-UP

1шт.

6

08043-16000

BOX,FUSE

SN: 21097-UP

1шт.

7

08040-04000

FUSE, 40A

SN: 21097-UP

1шт.

7

08040-01000

FUSE, 10A

SN: 21097-UP

5шт.

8

234-A06-1290

CABLE

SN: 21097-UP

1шт.

9

08163-02400

RELAY,HORN

SN: 21097-UP

1шт.

10

01010-50612

BOLT

SN: 21097-UP

2шт.

11

01643-30623

WASHER

SN: 21097-UP

2шт.

12

234-A06-1610

SWITCH,SAFETY

SN: 21097-UP

1шт.

13

236-06-23230

NUT

SN: 21097-UP

1шт.

14

234-A06-1610

SWITCH,BACK LAMP

SN: 21097-UP

1шт.

15

08077-22400

FLASHER,TURN SIGNAL

SN: 21097-UP

1шт.

16

01010-50612

BOLT

SN: 21097-UP

1шт.

17

01643-30623

WASHER

SN: 21097-UP

1шт.

18

01010-50616

BOLT

SN: 21097-UP

1шт.

19

01640-20610

WASHER

SN: 21097-UP

1шт.

20

08037-02512

GROMMET

SN: 21097-UP

2шт.

21

08037-05016

GROMMET

SN: 21097-UP

1шт.

Выбрано товаров: 22