Запчасти Komatsu GD705A-4 LICENSE ПЛАСТИНА ОСВЕЩЕНИЕ (С РЫХЛИТЕЛЕМ)(№-) КОМПОНЕНТЫ ДВИГАТЕЛЯ И ЭЛЕКТРИКА

Схема запчастей Komatsu GD705A-4 - LICENSE ПЛАСТИНА ОСВЕЩЕНИЕ (С РЫХЛИТЕЛЕМ)(№-) КОМПОНЕНТЫ ДВИГАТЕЛЯ И ЭЛЕКТРИКА
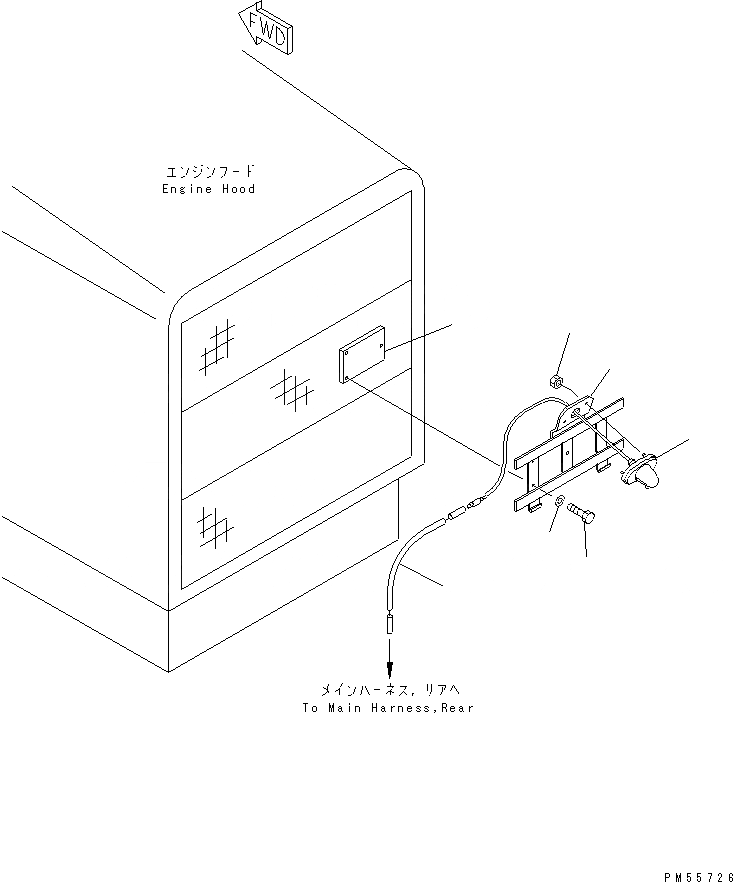
1
2
3
4
5
5
6
FIT
1:1
100%

Артикул

Название

Примечание

Количество

1

232-06-15217

BRACKET

SN: .-23000

1шт.

1

232-06-15215

BRACKET

SN: 21001-.

1шт.

2

01220-40616

SCREW

SN: 21001-23000

3шт.

3

01643-30623

WASHER

SN: 21001-23000

3шт.

4

232-46-51620

SEAT (WELDED)

SN: 21001-23000

1шт.

5

23D-06-13360

LAMP ASS'Y,LICENSE PLATE

SN: .-23000

1шт.

5

0

LAMP ASS'Y,LICENSE PLATE

SN: 21001-.

1шт.

5

08110-12410

BULB, 12W

SN: 21001-23000

1шт.

6

232-06-52930

CABLE

SN: 21001-23000

1шт.

Выбрано товаров: 9