Запчасти Komatsu GD705A-4A-N ПЕРЕДН. РАМА (СПЕЦ-Я С АВТОМ. ТРАНСМИССИЕЙ) РАМА И ЧАСТИ КОРПУСА

Схема запчастей Komatsu GD705A-4A-N - ПЕРЕДН. РАМА (СПЕЦ-Я С АВТОМ. ТРАНСМИССИЕЙ) РАМА И ЧАСТИ КОРПУСА
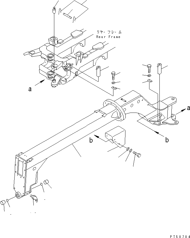
1
2
2
3
3
4
4
5
5
6
6
7
7
8
9
10
11
12
13
14
15
FIT
1:1
100%

Артикул

Название

Примечание

Количество

1

234-46-61100

FRAME,FRONT

SN: 13001-UP

1шт.

2

234-46-31280

BUSHING

SN: 13001-UP

2шт.

3

07000-F5095

O-RING

SN: .-UP

2шт.

|3

0

O-RING

SN: 13001-.

2шт.

4

234-46-31290

PIN

SN: 13001-UP

4шт.

5

04082-00206

LOCK

SN: 13001-UP

4шт.

6

01010-51225

BOLT

SN: 13001-UP

8шт.

7

01643-31232

WASHER

SN: 13001-UP

8шт.

8

232-45-13130

PIN

SN: 13001-UP

1шт.

9

234-54-31171

PIN

SN: 13001-UP

1шт.

10

04052-01038

PIN,SNAP

SN: 13001-UP

2шт.

11

234-46-31261

COVER

SN: 13001-UP

1шт.

12

01010-51020

BOLT

SN: 13001-UP

4шт.

13

01643-31032

WASHER

SN: 13001-UP

4шт.

14

01643-31032

WASHER

SN: 13001-UP

4шт.

15

07020-00675

FITTING

SN: 13001-UP

2шт.

Выбрано товаров: 16