Качественные детали и логистика
Оригинальные и аналоговые запчасти с доставкой по России, Казахстану и Беларуси
©2022 PartSell ООО "Система" ИНН 2463123282 ОГРН 1212400004838
Центральный офис: г. Красноярск, Академика Киренского, д.87, пом.4
Телефон: 8 (800) 777-65-74 Email: zakaz@partsell.ru
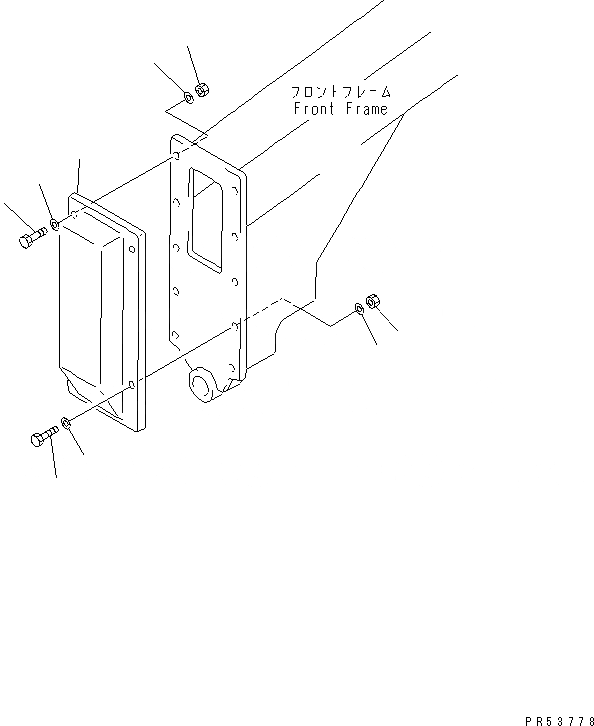
ПЕРЕДН. ГРУЗ (С УСИЛ СНЕГООЧИСТИТ. СИСТЕМОЙ)(№-)
№
Артикул
Название
Примечание
Количество
1
234-846-3220
WEIGHT
SN: 11321-UP
1шт.
|1
0
SN: 11002-11320
2
01011-52410
BOLT
SN: 11002-UP
2шт.
3
01011-52450
4
01580-12419
NUT
4шт.
5
01643-32460
WASHER
8шт.
Выбрано товаров: 0