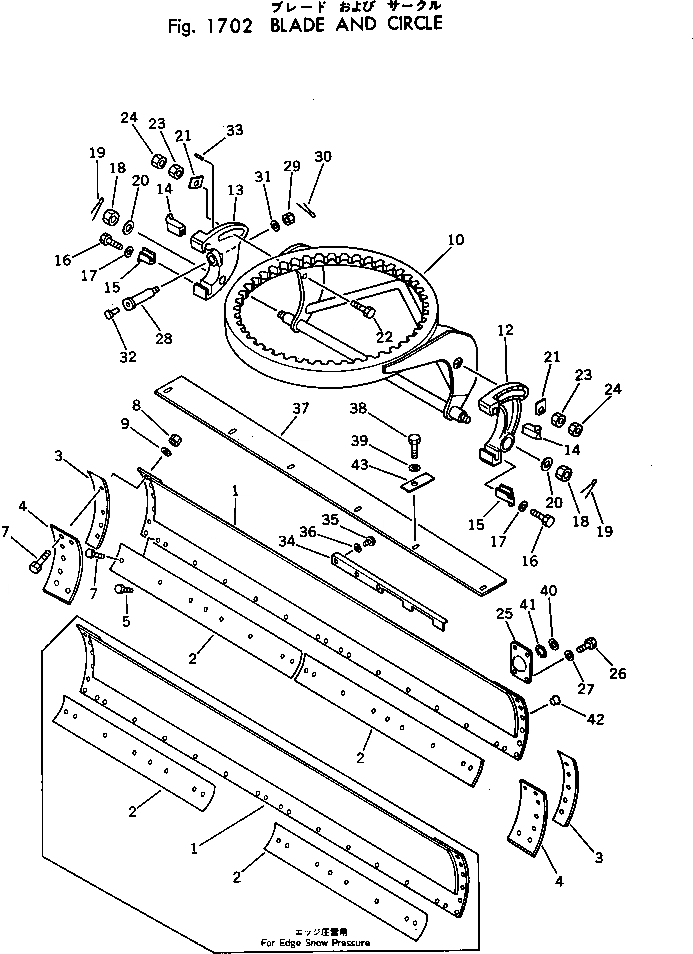
Запчасти Komatsu GD705R-1 ОТВАЛ И CIRCLE РАБОЧЕЕ ОБОРУДОВАНИЕ

Схема запчастей Komatsu GD705R-1 - ОТВАЛ И CIRCLE РАБОЧЕЕ ОБОРУДОВАНИЕ
FIT
1:1
100%

Артикул

Название

Примечание

Количество

|$0

234-70-00025

BLADE ASS'Y

SN: 2052-UP

1шт.

|$1

232-977-0345

BLADE ASS'Y

SN: 2051-2051

1шт.

1

234-70-12186

BLADE

SN: 2052-UP

1шт.

1

234-70-12482

RAIL,UPPER

SN: 2052-UP

1шт.

1

234-70-12492

RAIL,LOWER

SN: 2052-UP

1шт.

2

234-70-12193

EDGE,CUTTING, L.H. (16MM)

SN: 2052-UP

1шт.

2

232-70-12143

EDGE,CUTTING, R.H. (16MM)

SN: 2052-UP

1шт.

2

234-70-12510

EDGE,CUTTING,L.H.(FOR HD.SNOW)(19)

SN: 2052-UP

1шт.

2

232-70-52910

EDGE,CUTTING,R.H.(FOR HD.SNOW)(19)

SN: 2052-UP

1шт.

3

234-70-12214

BIT,SIDE (16MM)

SN: 2052-UP

2шт.

4

234-70-12233

BIT,SIDE (13MM)

SN: 2052-UP

2шт.

5

232-70-12450

BOLT

SN: 2052-UP

28шт.

5

234-977-8310

BOLT,(FOR HEAVY DUTY SNOW)

SN: 2051-2051

28шт.

7

232-70-12460

BOLT

SN: 2052-UP

10шт.

7

234-977-8320

BOLT,(FOR HEAVY DUTY SNOW)

SN: 2051-2051

10шт.

8

232-70-12480

NUT

SN: 2052-UP

38шт.

9

01643-31645

WASHER

SN: 2052-UP

38шт.

10

234-70-12114

SUPPORT

SN: 2052-UP

1шт.

10

234-977-6550

SUPPORT,(FOR COLD WEATHER)

SN: 2051-2051

1шт.

|$19

234-70-00041

GUIDE ASS'Y

SN: 2052-UP

1шт.

|$20

234-70-00051

RATCHET ASS'Y,L.H.

SN: 2052-UP

1шт.

|$21

234-70-00061

RATCHET ASS'Y,R.H.

SN: 2052-UP

1шт.

12

234-70-12132

RATCHET,L.H.

SN: 2052-UP

1шт.

12

234-870-2140

RATCHET,L.H. (FOR CUTTING ANGLE 90)

SN: 2052-UP

1шт.

13

234-70-12142

RATCHET,R.H.

SN: 2052-UP

1шт.

13

234-870-2130

RATCHET,R.H. (FOR CUTTING ANGLE 90)

SN: 2052-UP

1шт.

14

234-70-12251

GUIDE

SN: 2052-UP

1шт.

15

234-70-12261

GUIDE

SN: 2052-UP

1шт.

16

01010-31435

BOLT

SN: 2052-UP

2шт.

17

01602-01442

WASHER

SN: 2052-UP

2шт.

18

01590-04548

NUT

SN: 2052-UP

2шт.

19

04050-08075

PIN

SN: 2052-UP

2шт.

20

01640-24560

WASHER

SN: 2052-UP

2шт.

21

234-70-12151

BLOCK

SN: 2052-UP

2шт.

22

234-870-6220

BOLT

SN: 2052-UP

2шт.

23

01580-03024

NUT

SN: 2052-UP

2шт.

24

01580-03024

NUT

SN: 2052-UP

2шт.

25

234-70-12270

BRACKET

SN: 2052-UP

1шт.

26

01010-31845

BOLT

SN: 2052-UP

4шт.

27

01602-01854

WASHER

SN: 2052-UP

4шт.

28

234-70-12282

SHAFT

SN: 2052-UP

1шт.

29

01590-03638

NUT

SN: 2052-UP

1шт.

30

04050-06065

PIN

SN: 2052-UP

1шт.

31

01640-23650

WASHER

SN: 2052-UP

1шт.

32

07020-00900

FITTING

SN: 2052-UP

1шт.

33

01322-30825

SCREW

SN: 2052-UP

1шт.

34

234-70-12311

COVER

SN: 2052-UP

1шт.

35

01010-31225

BOLT

SN: 2076-UP

5шт.

35

0

BOLT

SN: 2052-2075

5шт.

36

01602-01236

WASHER

SN: 2052-UP

5шт.

37

234-70-12321

COVER

SN: 2052-UP

1шт.

38

01010-31230

BOLT

SN: 2052-UP

6шт.

39

01602-01236

WASHER

SN: 2052-UP

6шт.

40

04064-05020

RING

SN: 2052-UP

1шт.

41

01640-24860

WASHER

SN: 2052-UP

1шт.

42

07048-01815

PLUG

SN: 2052-UP

8шт.

43

234-70-12331

PLATE

SN: 2052-UP

6шт.

Выбрано товаров: 57