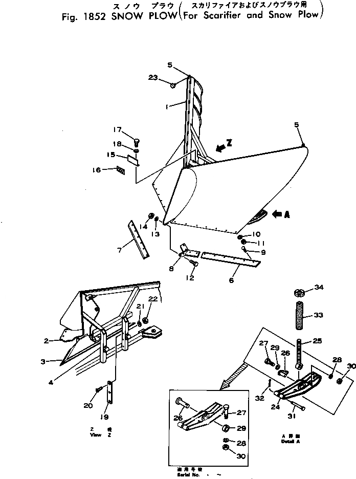
Запчасти Komatsu GD705R-1 SNOW PНИЗ. (ДЛЯ SCARIFIER И SNOW PНИЗ.) ОПЦИОННЫЕ КОМПОНЕНТЫ

Схема запчастей Komatsu GD705R-1 - SNOW PНИЗ. (ДЛЯ SCARIFIER И SNOW PНИЗ.) ОПЦИОННЫЕ КОМПОНЕНТЫ
FIT
1:1
100%

Артикул

Название

Примечание

Количество

|$0

234-970-0012

SNOW PLOW ASS'Y

SN: 2052-UP

1шт.

1

234-970-1112

PLOW

SN: 2052-UP

1шт.

2

234-970-1121

V-PLOW (WELDED)

SN: 2052-UP

1шт.

3

234-970-1131

SUPPORT (WELDED)

SN: 2052-UP

1шт.

4

234-970-1141

SUPPORT (WELDED)

SN: 2052-UP

1шт.

5

234-970-1180

BRACKET (WELDED)

SN: 2052-UP

2шт.

6

232-970-1280

EDGE,L.H.

SN: 2052-UP

1шт.

7

232-970-1290

EDGE,R.H.

SN: 2052-UP

1шт.

8

234-970-1150

EDGE,CENTER

SN: 2052-UP

1шт.

9

02090-11050

BOLT

SN: 2052-UP

16шт.

10

01602-01648

WASHER

SN: 2052-UP

16шт.

11

02290-11016

NUT

SN: 2052-UP

16шт.

12

01010-31250

BOLT

SN: 2052-UP

2шт.

13

01602-01236

WASHER

SN: 2052-UP

2шт.

14

01580-01210

NUT

SN: 2052-UP

2шт.

15

232-970-1440

BRACKET

SN: 2052-UP

1шт.

16

09694-00200

PLATE, MARK

SN: 2052-UP

1шт.

17

01010-31220

BOLT

SN: 2052-UP

2шт.

18

01602-01236

WASHER

SN: 2052-UP

2шт.

19

232-970-1230

PLATE

SN: 2052-UP

2шт.

20

232-970-1241

BOLT

SN: 2052-UP

6шт.

21

01602-01236

WASHER

SN: 2052-UP

6шт.

22

01580-01210

NUT

SN: 2052-UP

6шт.

23

08170-00000

REFLECTOR

SN: 2052-UP

2шт.

|$24

234-970-0023

SLED ASS'Y

SN: .-UP

3шт.

|$25

234-970-0022

SLED ASS'Y

SN: 2052-.

3шт.

24

234-970-1160

SLED

SN: 2052-UP

1шт.

25

234-970-1171

BOLT

SN: 2052-UP

1шт.

26

232-970-1332

PIN

SN: .-UP

1шт.

26

232-970-1331

PIN

SN: 2052-.

1шт.

27

01010-50865

BOLT

SN: .-UP

1шт.

27

01010-30825

BOLT

SN: 2052-.

1шт.

28

01602-00825

WASHER

SN: 2052-UP

1шт.

29

232-970-1370

COLLAR

SN: .-UP

1шт.

29

01640-20816

WASHER

SN: 2052-.

1шт.

30

01580-00806

NUT

SN: 2052-UP

1шт.

31

232-970-1430

PIN

SN: 2052-UP

1шт.

32

04050-05035

PIN

SN: 2052-UP

1шт.

33

234-970-1220

BOLT

SN: 2052-UP

1шт.

34

234-970-1210

NUT

SN: 2052-UP

1шт.

Выбрано товаров: 40