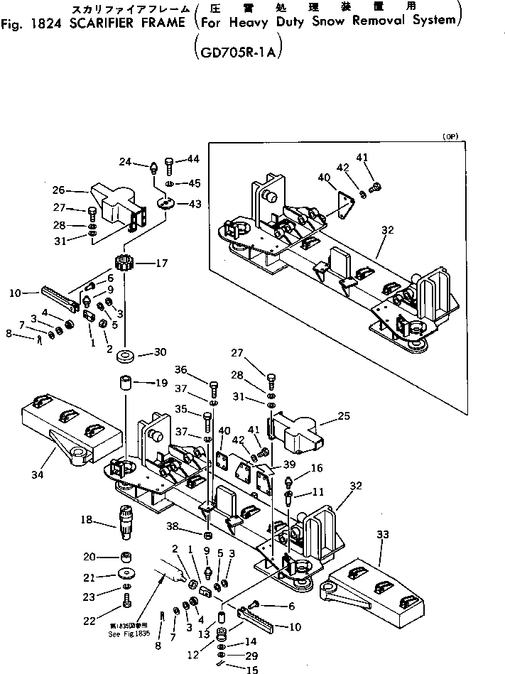
Запчасти Komatsu GD705R-1 SCARIFIER РАМА (ДЛЯ УСИЛ. СНЕГООЧИСТ. СИСТМЫ) ОПЦИОННЫЕ КОМПОНЕНТЫ

Схема запчастей Komatsu GD705R-1 - SCARIFIER РАМА (ДЛЯ УСИЛ. СНЕГООЧИСТ. СИСТМЫ) ОПЦИОННЫЕ КОМПОНЕНТЫ
FIT
1:1
100%

Артикул

Название

Примечание

Количество

|$0

234-977-0207

SCARIFIER ASS'Y

SN: 2052-UP

1шт.

1

234-977-3920

JOINT

SN: 2052-UP

2шт.

2

01583-13018

NUT

SN: 2052-UP

2шт.

3

234-977-3940

COLLAR

SN: 2052-UP

4шт.

4

230-09-13270

BEARING

SN: 2052-UP

2шт.

5

04065-02612

RING

SN: 2052-UP

2шт.

6

234-977-3930

PIN

SN: 2052-UP

2шт.

7

01641-21626

WASHER

SN: 2052-UP

2шт.

8

04050-14025

PIN

SN: 2052-UP

2шт.

9

07020-00001

FITTING

SN: 2052-UP

2шт.

10

234-977-3421

RACK

SN: 2052-UP

2шт.

11

234-977-3591

SHAFT

SN: 2052-UP

2шт.

12

234-977-3571

ROLLER

SN: 2052-UP

2шт.

13

234-977-3561

BUSHING

SN: 2052-UP

2шт.

14

01640-22440

WASHER

SN: 2052-UP

2шт.

15

04050-13022

PIN

SN: 2052-UP

2шт.

16

07020-00000

FITTING

SN: 2052-UP

2шт.

17

234-977-3442

PINION

SN: 2052-UP

2шт.

18

234-977-3433

SHAFT

SN: 2052-UP

2шт.

19

07143-10604

BUSHING

SN: 2052-UP

2шт.

20

234-977-3532

BUSHING

SN: 2052-UP

2шт.

21

234-977-3991

HOLDER

SN: 2052-UP

2шт.

22

01010-50830

BOLT

SN: 2052-UP

2шт.

23

01602-20825

WASHER

SN: 2052-UP

2шт.

24

07020-00000

FITTING

SN: 2052-UP

2шт.

25

234-977-3393

COVER,L.H.

SN: 2052-UP

1шт.

26

234-977-3413

COVER,R.H.

SN: 2058-UP

1шт.

27

01010-30816

BOLT

SN: 2052-UP

8шт.

28

01602-00825

WASHER

SN: 2052-UP

8шт.

29

01640-21626

WASHER

SN: 2052-UP

2шт.

30

234-977-3691

COLLAR

SN: 2052-UP

2шт.

31

01640-20816

WASHER

SN: 2052-UP

8шт.

32

234-977-3813

BODY,(FOR SYNCRONOUSE SWING)

SN: 2052-UP

1шт.

32

234-70-13120

STUD,BALL (WELDED)

SN: 2052-UP

2шт.

32

234-977-5471

BODY,(FOR INDIVIDUALLY SWING)

SN: 2052-UP

1шт.

32

234-70-13120

STUD,BALL (WELDED)

SN: 2052-UP

2шт.

33

234-977-3822

BLOCK,L.H.

SN: 2052-UP

1шт.

34

234-977-3832

BLOCK,R.H.

SN: 2052-UP

1шт.

35

01010-31645

BOLT

SN: 2052-UP

6шт.

36

01010-31630

BOLT

SN: 2052-UP

2шт.

37

01602-01648

WASHER

SN: 2052-UP

8шт.

38

01580-01613

NUT

SN: 2052-UP

6шт.

39

234-977-2910

COVER

SN: 2052-UP

2шт.

40

234-977-2920

COVER,(FOR SYNCRONOUSE SWING)

SN: 2052-UP

1шт.

40

234-977-2921

COVER,(FOR INDIVIDUALLY SWING)

SN: 2052-UP

1шт.

41

01010-31230

BOLT

SN: 2052-UP

12шт.

42

01602-21236

WASHER

SN: 2052-UP

12шт.

43

234-977-4780

HOLDER

SN: 2052-UP

2шт.

44

01010-30825

BOLT

SN: 2052-UP

4шт.

45

01602-00825

WASHER

SN: 2052-UP

4шт.

Выбрано товаров: 50