Запчасти Komatsu GD705R-1 ГИДРАВЛ РЫЧАГ УПРАВЛ-Я (/)(ДЛЯ УСИЛ. СНЕГООЧИСТ. СИСТМЫ) ОПЦИОННЫЕ КОМПОНЕНТЫ

Схема запчастей Komatsu GD705R-1 - ГИДРАВЛ РЫЧАГ УПРАВЛ-Я (/)(ДЛЯ УСИЛ. СНЕГООЧИСТ. СИСТМЫ) ОПЦИОННЫЕ КОМПОНЕНТЫ
FIT
1:1
100%

Артикул

Название

Примечание

Количество

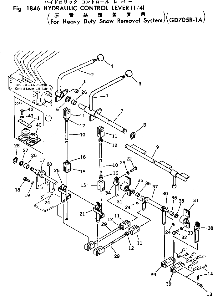
1

234-971-3123

LEVER,L.H.

SN: 2052-UP

1шт.

2

234-971-3113

LEVER,R.H.

SN: 2052-UP

1шт.

3

234-977-0180

KNOB ASS'Y,L.H.

SN: 2052-UP

1шт.

3

232-43-17480

KNOB

SN: 2052-UP

1шт.

3

234-977-1780

PLATE, MARK

SN: 2052-UP

1шт.

4

234-977-0190

KNOB ASS'Y,R.H.

SN: 2052-UP

1шт.

4

232-43-17480

KNOB

SN: 2052-UP

1шт.

4

232-977-1790

PLATE, MARK

SN: 2052-UP

1шт.

5

06600-00805

BUSHING

SN: 2052-UP

1шт.

6

237-43-17420

WASHER

SN: 2052-UP

3шт.

7

234-971-3131

SHAFT

SN: 2052-UP

1шт.

8

04064-01812

RING

SN: 2052-UP

1шт.

9

234-971-3390

SHAFT

SN: 2052-UP

1шт.

10

234-971-3160

ROD

SN: 2052-UP

2шт.

11

04211-20844

YOKE

SN: 2052-UP

4шт.

12

01580-10806

NUT

SN: 2052-UP

4шт.

13

04205-10822

PIN

SN: 2052-UP

12шт.

14

04050-12012

PIN

SN: 2052-UP

12шт.

15

04221-20844

YOKE

SN: 2052-UP

2шт.

16

01580-20805

NUT

SN: 2052-UP

2шт.

17

234-971-3180

SUPPORT

SN: 2052-UP

1шт.

18

01010-51020

BOLT

SN: 2052-UP

2шт.

19

01602-21030

WASHER

SN: 2052-UP

2шт.

20

234-971-3170

SHAFT

SN: 2052-UP

1шт.

21

234-971-3220

LEVER

SN: 2052-UP

1шт.

22

01010-50830

BOLT

SN: 2052-UP

3шт.

23

01602-20825

WASHER

SN: 2052-UP

3шт.

24

04010-00519

KEY

SN: 2052-UP

3шт.

25

234-971-3210

LEVER

SN: 2052-UP

1шт.

26

234-885-1620

BUSHING

SN: 2052-UP

3шт.

27

01640-22032

WASHER

SN: 2052-UP

1шт.

28

04064-02012

RING

SN: 2052-UP

1шт.

29

04244-40817

ROD

SN: 2052-UP

2шт.

30

234-971-3270

SHAFT

SN: 2052-UP

1шт.

31

06125-02051

BEARING

SN: 2052-UP

2шт.

32

01010-50816

BOLT

SN: 2052-UP

4шт.

33

01602-20825

WASHER

SN: 2052-UP

4шт.

34

234-971-3250

LEVER

SN: 2052-UP

1шт.

35

234-971-3280

COLLAR

SN: 2052-UP

2шт.

36

234-885-1620

BUSHING

SN: 2052-UP

2шт.

37

234-971-3260

LEVER

SN: 2052-UP

1шт.

38

234-971-3240

LEVER

SN: 2052-UP

1шт.

39

234-971-3290

YOKE

SN: 2052-UP

2шт.

40

232-856-3210

BOOT,(FOR NOISE SUPPRESSION)

SN: 2052-UP

2шт.

41

234-884-1520

PLATE,(FOR NOISE SUPPRESSION)

SN: 2052-UP

2шт.

42

01220-40412

SCREW,(FOR NOISE SUPPRESSION)

SN: 2052-UP

4шт.

43

01602-00410

WASHER,(FOR NOISE SUPPRESSION)

SN: 2052-UP

4шт.

Выбрано товаров: 47