Запчасти Komatsu GD705R-1 СИДЕНЬЕ ОПЕРАТОРА РАМА И ЧАСТИ КОРПУСА

Схема запчастей Komatsu GD705R-1 - СИДЕНЬЕ ОПЕРАТОРА РАМА И ЧАСТИ КОРПУСА
FIT
1:1
100%

Артикул

Название

Примечание

Количество

|$0

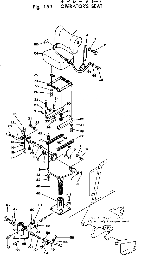
237-54-14102

OPERATOR'S SEAT A.

SN: 2120-UP

1шт.

|$1

237-54-14101

OPERATOR'S SEAT A.

SN: 2502-2119

1шт.

1

236-54-22660

CUSHION

SN: 2052-UP

1шт.

2

01010-31230

BOLT

SN: 2052-UP

2шт.

3

01602-01236

WASHER

SN: 2052-UP

2шт.

4

232-57-51120

BRACKET

SN: 2120-UP

1шт.

4

237-54-14121

BRACKET

SN: 2052-2119

1шт.

5

232-57-51111

BASE

SN: 2120-UP

1шт.

5

236-54-22311

BASE

SN: 2052-2119

1шт.

6

232-54-22610

PIN

SN: 2052-UP

2шт.

7

01640-22540

WASHER

SN: 2052-UP

2шт.

8

04050-15035

PIN

SN: 2052-UP

2шт.

9

236-54-22480

SPRING,L.H.

SN: 2052-UP

1шт.

10

236-54-22490

SPRING,R.H.

SN: 2052-UP

1шт.

11

232-57-51150

LEVER

SN: 2120-UP

1шт.

11

236-54-22410

LEVER

SN: 2052-2119

1шт.

12

04205-10830

PIN

SN: 2052-UP

1шт.

13

01641-20812

WASHER

SN: 2052-UP

1шт.

14

04050-02012

PIN

SN: 2052-UP

1шт.

15

04205-00630

PIN

SN: 2052-UP

1шт.

16

01641-20608

WASHER

SN: 2052-UP

2шт.

17

04050-01610

PIN

SN: 2052-UP

1шт.

18

236-54-22430

PIN

SN: 2052-UP

1шт.

19

236-54-22420

PLATE

SN: 2052-UP

1шт.

20

236-54-22470

SPRING

SN: 2052-UP

1шт.

21

01220-30408

SCREW

SN: 2052-UP

4шт.

22

01601-00410

WASHER

SN: 2052-UP

4шт.

23

09304-00835

KNOB

SN: 2052-UP

3шт.

24

237-54-14152

CUSHION

SN: 2120-UP

1шт.

24

237-54-14151

CUSHION

SN: 2052-2119

1шт.

25

236-54-22380

PLATE

SN: 2052-UP

4шт.

26

01010-30620

BOLT

SN: 2052-UP

8шт.

27

01602-00619

WASHER

SN: 2052-UP

8шт.

28

236-54-22370

PLATE

SN: 2052-UP

1шт.

|$34

236-54-00030

CASE ASS'Y,L.H.

SN: 2052-2119

1шт.

|$35

236-54-00040

CASE ASS'Y,R.H.

SN: 2052-2119

1шт.

29

236-54-22331

ADJUSTER ASS'Y,L.H.

SN: 2120-UP

1шт.

29

236-54-22330

CASE,L.H.

SN: 2055-2119

1шт.

30

236-54-22351

ADJUSTER ASS'Y,R.H.

SN: 2120-UP

1шт.

30

236-54-22350

ADJUSTER,R.H.

SN: 2052-2119

1шт.

31

236-54-22450

PIN

SN: 2052-2119

2шт.

32

0

ROLLER

SN: 2052-2119

2шт.

33

0

LEVER

SN: 2052-2119

1шт.

34

0

PIN

SN: 2052-2119

1шт.

35

01641-20608

WASHER

SN: 2052-2119

2шт.

36

0

PIN

SN: 2052-2119

1шт.

37

236-54-22460

SPRING

SN: 2052-2119

1шт.

38

0

CASE,L.H.

SN: 2052-2119

1шт.

39

0

CASE,R.H.

SN: 2052-2119

1шт.

40

01220-40840

SCREW

SN: 2120-UP

4шт.

40

01010-50810

BOLT

SN: 2052-2119

4шт.

41

01602-00825

WASHER

SN: 2052-UP

4шт.

42

01010-50816

BOLT

SN: 2052-2119

4шт.

43

01602-00825

WASHER

SN: 2052-UP

4шт.

44

01580-00806

NUT

SN: 2052-UP

4шт.

45

236-54-22590

SPRING

SN: 2052-UP

1шт.

46

236-54-22580

BOLT

SN: 2052-UP

1шт.

47

01602-01648

WASHER

SN: 2052-UP

1шт.

47

01602-01620

WASHER

SN: 2052-UP

1шт.

48

232-57-51170

STAND

SN: 2120-UP

1шт.

48

236-54-22510

STAND

SN: 2052-2119

1шт.

49

236-54-22540

LEVER

SN: 2052-UP

1шт.

50

236-54-22550

PIN

SN: 2052-UP

1шт.

51

01641-20812

WASHER

SN: 2052-UP

2шт.

52

04050-02012

PIN

SN: 2052-UP

1шт.

53

236-54-22520

PIN

SN: 2052-UP

1шт.

54

04205-10630

PIN

SN: 2052-UP

1шт.

55

01641-20608

WASHER

SN: 2052-UP

2шт.

56

04050-01610

PIN

SN: 2052-UP

1шт.

57

236-54-22530

SPRING

SN: 2052-UP

1шт.

58

236-54-22560

PLATE

SN: 2052-UP

1шт.

59

236-54-22570

PIN

SN: 2052-UP

2шт.

60

01641-20508

WASHER

SN: 2052-UP

4шт.

61

04050-01208

PIN

SN: 2052-UP

2шт.

62

236-54-22620

PLATE

SN: 2052-UP

1шт.

63

236-54-29210

BELT

SN: 2052-UP

1шт.

64

01010-31020

BOLT

SN: 2052-UP

2шт.

65

01602-01030

WASHER

SN: 2052-UP

2шт.

Выбрано товаров: 78