Запчасти Komatsu GD705R-1 ПЕРЕДН. ОТВАЛ (ДЛЯ ПЕРЕДН. ОТВАЛ) ОПЦИОННЫЕ КОМПОНЕНТЫ

Схема запчастей Komatsu GD705R-1 - ПЕРЕДН. ОТВАЛ (ДЛЯ ПЕРЕДН. ОТВАЛ) ОПЦИОННЫЕ КОМПОНЕНТЫ
FIT
1:1
100%

Артикул

Название

Примечание

Количество

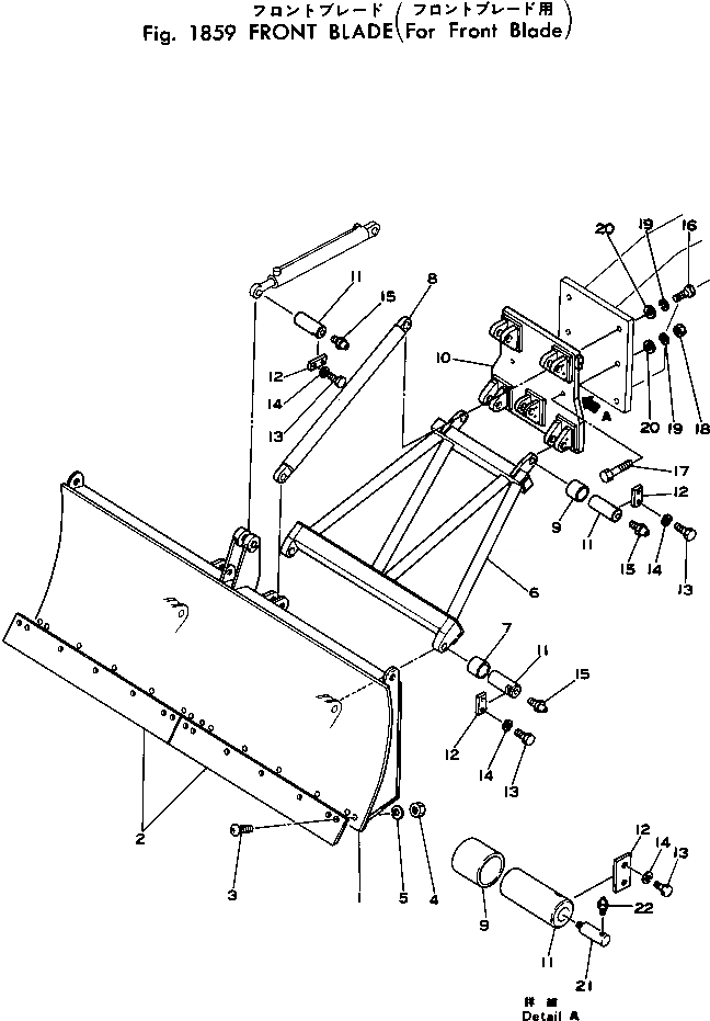
1

234-870-8110

BLADE,FRONT

SN: 2052-UP

1шт.

2

233-971-5120

EDGE

SN: 2052-UP

2шт.

3

02090-11060

BOLT

SN: 2052-UP

14шт.

4

02290-11016

NUT

SN: 2052-UP

14шт.

5

01602-01648

WASHER

SN: 2052-UP

14шт.

6

232-870-8123

FRAME

SN: 4014-UP

1шт.

|6

0

FRAME

SN: .-4013

1шт.

|6

0

FRAME

SN: 2052-.

1шт.

7

234-870-8120

BUSHING

SN: 2052-UP

4шт.

8

232-870-8130

ROD

SN: 2052-UP

2шт.

9

234-870-8120

BUSHING

SN: 2052-UP

4шт.

10

232-870-8141

BRACKET

SN: 2052-UP

1шт.

11

234-870-8130

PIN

SN: 2052-UP

10шт.

12

04082-00212

LOCK

SN: 2052-UP

10шт.

13

01010-31230

BOLT

SN: 2052-UP

20шт.

14

01602-01236

WASHER

SN: 2052-UP

20шт.

15

07020-00000

FITTING

SN: 2052-UP

9шт.

16

01010-32475

BOLT

SN: 2052-UP

4шт.

17

01010-32495

BOLT

SN: 2052-UP

2шт.

18

01580-02419

NUT

SN: 2052-UP

2шт.

19

01602-02472

WASHER

SN: 2052-UP

6шт.

20

01643-32460

WASHER

SN: 2052-UP

6шт.

21

234-870-8340

NIPPLE

SN: 2052-UP

1шт.

22

07020-00001

FITTING

SN: 2052-UP

1шт.

Выбрано товаров: 24