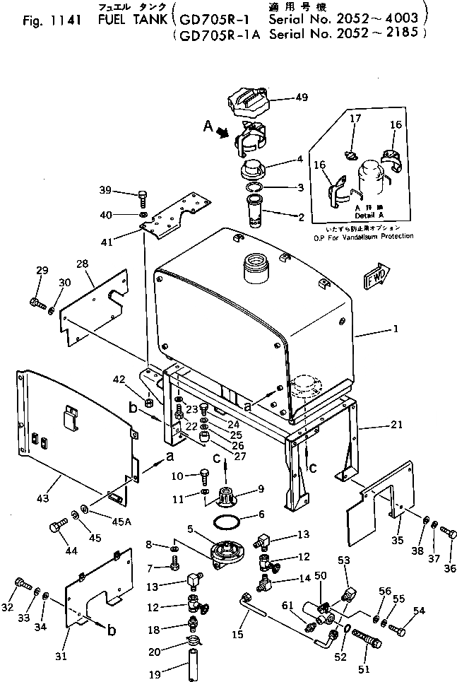
Запчасти Komatsu GD705R-1 ТОПЛИВН. БАК.(№-) КОМПОНЕНТЫ ДВИГАТЕЛЯ И ЭЛЕКТРИКА

Схема запчастей Komatsu GD705R-1 - ТОПЛИВН. БАК.(№-) КОМПОНЕНТЫ ДВИГАТЕЛЯ И ЭЛЕКТРИКА
FIT
1:1
100%

Артикул

Название

Примечание

Количество

|1

234-04-00018

FUEL TANK ASS'Y

SN: .-4003

1шт.

|1

0

FUEL TANK ASS'Y

SN: 2053-.

1шт.

|1

0

FUEL TANK ASS'Y

SN: 2052-2052

1шт.

|1

234-977-0306

FUEL TANK ASS'Y

SN: 2051-2051

1шт.

|1

0

FUEL TANK ASS'Y

SN: 2051-2051

1шт.

|1

0

FUEL TANK ASS'Y

SN: 2051-2051

1шт.

1

234-04-11114

TANK

SN: 2052-4003

1шт.

2

07056-18416

STRAINER

SN: 2052-@

1шт.

3

07057-04087

RING

SN: 2052-@

1шт.

4

07050-21200

CAP

SN: 2052-@

1шт.

|4

234-977-6610

CAP

SN: 2051-2051

1шт.

5

234-04-11290

FLANGE

SN: 2052-@

1шт.

6

07000-13135

O-RING (KIT)

SN: 2052-@

1шт.

7

01010-31025

BOLT

SN: 2052-@

8шт.

8

01602-01030

WASHER

SN: 2052-@

8шт.

9

234-902-6150

STRAINER

SN: 2052-2052

1шт.

10

01010-00810

BOLT

SN: 2052-2052

4шт.

11

01602-00825

WASHER

SN: 2052-2052

4шт.

12

154-04-12491

VALVE

SN: 4004-@

2шт.

|12

0

VALVE

SN: 2052-4003

2шт.

13

234-04-11351

ELBOW

SN: 2052-@

2шт.

14

232-04-12132

NIPPLE

SN: 2052-@

2шт.

15

234-04-11315

TUBE

SN: 2052-@

1шт.

16

234-902-6110

PLATE,(FOR VANDALISM PROTECTION)

SN: 2052-@

2шт.

17

09460-00002

LOCK,(FOR VANDALISM PROTECTION)

SN: 2052-@

1шт.

18

441-04-31170

NIPPLE

SN: 2052-@

1шт.

19

07270-01295

TUBE

SN: 2052-@

1шт.

20

04059-01016

WIRE

SN: 2052-@

1шт.

21

234-04-11215

BRACKET

SN: 2052-4003

1шт.

22

01010-31430

BOLT

SN: 2052-4003

5шт.

|22

01010-31460

BOLT

SN: 2052-4003

1шт.

23

01602-01442

WASHER

SN: 2052-@

6шт.

24

01010-31675

BOLT

SN: 2052-4003

4шт.

25

01602-01648

WASHER

SN: 2052-@

4шт.

26

01643-31645

WASHER

SN: 2052-@

4шт.

27

234-04-11190

SPACER

SN: 2052-@

4шт.

28

234-04-11221

COVER

SN: 2052-4003

1шт.

29

01010-31016

BOLT

SN: 2052-@

5шт.

30

01602-01030

WASHER

SN: 2052-@

5шт.

31

234-04-11231

COVER

SN: 2052-4003

1шт.

32

01010-31016

BOLT

SN: 2052-4003

4шт.

33

01602-01030

WASHER

SN: 2052-4003

4шт.

34

01640-21016

WASHER

SN: 2052-@

4шт.

35

234-04-11244

COVER

SN: 2052-4003

1шт.

36

01010-31016

BOLT

SN: 2052-4003

4шт.

37

01602-01030

WASHER

SN: 2052-4003

4шт.

38

01640-21016

WASHER

SN: 2052-@

2шт.

39

234-04-11261

COVER

SN: 2052-@

1шт.

40

01010-31025

BOLT

SN: 2052-@

4шт.

41

01602-01030

WASHER

SN: 2052-@

4шт.

42

01580-01008

NUT

SN: 2052-@

4шт.

43

234-04-11134

PLATE

SN: 2052-@

1шт.

44

01010-31020

BOLT

SN: 2052-@

4шт.

45

01602-01030

WASHER

SN: 2052-@

4шт.

45A

01643-31232

WASHER

SN: 2053-@

4шт.

49

07091-01200

CAP,(FOR VANDALISM PROTECTION)

SN: 2052-@

1шт.

|50

154-04-00073

STRAINER ASS'Y

SN: 2052-@

1шт.

50

154-04-12510

CASE

SN: 2052-@

1шт.

51

154-04-12531

STRAINER

SN: 2052-@

1шт.

52

07000-13038

O-RING (KIT)

SN: 2052-@

1шт.

53

234-04-11360

NIPPLE

SN: 2052-@

1шт.

54

01010-30825

BOLT

SN: 2052-@

2шт.

55

01602-00825

WASHER

SN: 2052-@

2шт.

56

01640-20816

WASHER

SN: 2052-@

2шт.

57

232-06-52430

SENSOR,FUEL (NOT SHOWN)

SN: 2052-@

1шт.

58

237-06-15190

PACKING,(NOT SHOWN)

SN: 2052-@

1шт.

59

01220-40412

SCREW,(NOT SHOWN)

SN: 2052-@

5шт.

60

01601-00410

WASHER,(NOT SHOWN)

SN: 2052-@

5шт.

61

234-04-11360

NIPPLE

SN: 2052-4006

1шт.

Выбрано товаров: 69