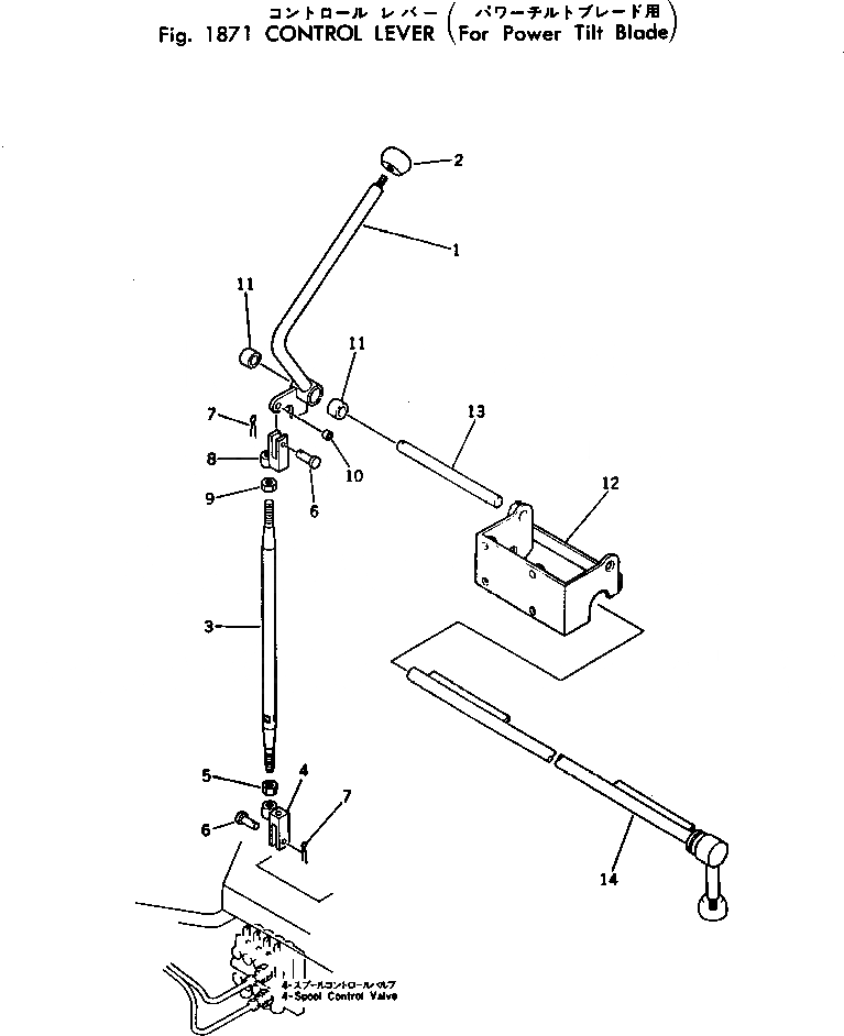
Запчасти Komatsu GD705R-1 РЫЧАГ УПРАВЛ-Я (ДЛЯ НАКЛОНЯЕМ. ОТВАЛ) ОПЦИОННЫЕ КОМПОНЕНТЫ

Схема запчастей Komatsu GD705R-1 - РЫЧАГ УПРАВЛ-Я (ДЛЯ НАКЛОНЯЕМ. ОТВАЛ) ОПЦИОННЫЕ КОМПОНЕНТЫ
FIT
1:1
100%

Артикул

Название

Примечание

Количество

1

234-979-5111

LEVER

SN: 2052-UP

1шт.

|2

232-735-0050

KNOB ASS'Y

SN: 2052-UP

1шт.

2

237-43-17480

KNOB

SN: 2052-UP

1шт.

|2

232-735-1340

PLATE¤ OPERATING

SN: 2052-UP

1шт.

3

234-870-8410

ROD

SN: 2052-UP

1шт.

4

234-870-8430

YOKE

SN: 2052-UP

1шт.

5

01508-00806

NUT¤ L.H. THREAD

SN: 2052-UP

1шт.

6

04205-00822

PIN

SN: 2052-UP

2шт.

7

04050-02012

PIN

SN: 2052-UP

2шт.

8

234-870-8420

YOKE

SN: 2052-UP

1шт.

9

01580-00806

NUT

SN: 2052-UP

1шт.

10

06600-00805

BUSHING

SN: 2052-UP

1шт.

11

232-43-18250

BUSHING

SN: 2052-UP

2шт.

12

234-979-5122

BRACKET,R.H.

SN: 2052-UP

1шт.

13

234-979-6131

SHAFT

SN: 2052-UP

1шт.

14

232-979-5140

ARM

SN: 2052-UP

1шт.

Выбрано товаров: 16