Запчасти Komatsu GD705R-1 ТОРКФЛОУ ТРАНСМИССИЯ (MODULATING И QUICK ВОЗВРАТ. КЛАПАН) СИЛОВАЯ ПЕРЕДАЧА

Схема запчастей Komatsu GD705R-1 - ТОРКФЛОУ ТРАНСМИССИЯ (MODULATING И QUICK ВОЗВРАТ. КЛАПАН) СИЛОВАЯ ПЕРЕДАЧА
FIT
1:1
100%

Артикул

Название

Примечание

Количество

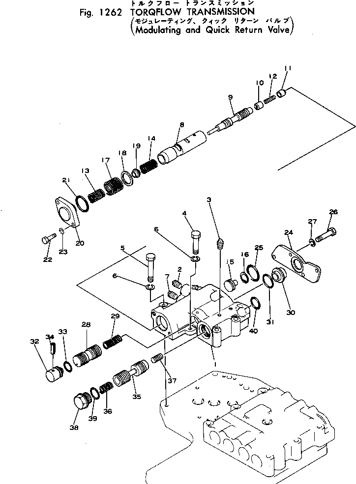
|1

234-15-00012

TRANSMISSION ASS'Y

SN: 2052-UP

1шт.

|1

234-902-0021

TRANSMISSION ASS'Y,(EXCEPT JAPAN)

SN: 2052-UP

1шт.

|1

234-15-00151

VALVE ASS'Y

SN: 2052-UP

1шт.

|1

234-15-00171

VALVE ASS'Y

SN: 2052-UP

1шт.

1

234-15-15210

BODY

SN: 2052-UP

1шт.

2

07042-00211

PLUG

SN: 2052-UP

1шт.

3

141-60-19220

PLUG

SN: 2052-UP

2шт.

4

01010-31030

BOLT

SN: 2052-UP

1шт.

5

01010-31065

BOLT

SN: 2052-UP

4шт.

6

01602-01030

WASHER

SN: 2052-UP

5шт.

7

07042-00312

PLUG

SN: 2052-UP

1шт.

8

145-14-43381

VALVE,MODULATING

SN: 2052-UP

1шт.

9

145-14-43331

VALVE,MODULATING

SN: 2052-UP

1шт.

10

175-15-15540

VALVE,MODULATING

SN: 2052-UP

1шт.

11

175-15-15550

VALVE,MODULATING

SN: 2052-UP

1шт.

12

180-14-25560

SPRING

SN: 2052-UP

1шт.

13

145-14-33420

SPRING

SN: 2052-UP

1шт.

14

145-14-33430

SPRING

SN: 2052-UP

1шт.

15

145-14-23180

STOPPER

SN: 2052-UP

1шт.

16

130-09-15170

RING

SN: 2052-UP

1шт.

17

145-14-33351

SPRING

SN: 2052-UP

1шт.

18

145-14-33450

WASHER

SN: 2052-UP

1шт.

19

145-14-43340

SEAT

SN: 2052-UP

1шт.

20

234-15-15251

COVER

SN: 2052-UP

1шт.

21

07000-73045

O-RING (KIT)

SN: 2052-UP

1шт.

22

01010-31030

BOLT

SN: 2052-UP

2шт.

23

01602-01030

WASHER

SN: 2052-UP

2шт.

24

234-15-15260

COVER

SN: 2052-UP

1шт.

25

07000-73049

O-RING (KIT)

SN: 2052-UP

1шт.

26

01010-31025

BOLT

SN: 2052-UP

4шт.

27

01602-01030

WASHER

SN: 2052-UP

4шт.

28

175-15-15571

VALVE,QUICK RETURN

SN: 2052-UP

1шт.

29

175-15-15590

SPRING

SN: 2052-UP

1шт.

30

234-15-15270

COLLER

SN: 2052-UP

1шт.

31

07000-73032

O-RING (KIT)

SN: 2052-UP

1шт.

32

145-14-43160

STOPPER

SN: 2052-UP

1шт.

33

07000-73022

O-RING (KIT)

SN: 2052-UP

1шт.

34

04025-00650

PIN

SN: 2052-UP

1шт.

35

234-15-15520

VALVE

SN: 2052-UP

1шт.

36

234-15-15230

SPRING¤ (L= 52.0)

SN: 2052-UP

1шт.

37

145-14-23720

PISTON

SN: 2052-UP

1шт.

38

234-15-15242

PLUG

SN: 2052-UP

1шт.

39

07000-03030

O-RING (KIT)

SN: 2052-UP

1шт.

40

07000-73032

O-RING (KIT)

SN: 2052-UP

1шт.

Выбрано товаров: 0