Запчасти Komatsu GD705R-1 УКЛОН. И РУЛЕВ. УПРАВЛЕНИЕ ROD СИСТЕМАУПРАВЛЕНИЯ ПОВОРОТОМ

Схема запчастей Komatsu GD705R-1 - УКЛОН. И РУЛЕВ. УПРАВЛЕНИЕ ROD СИСТЕМАУПРАВЛЕНИЯ ПОВОРОТОМ
FIT
1:1
100%

Артикул

Название

Примечание

Количество

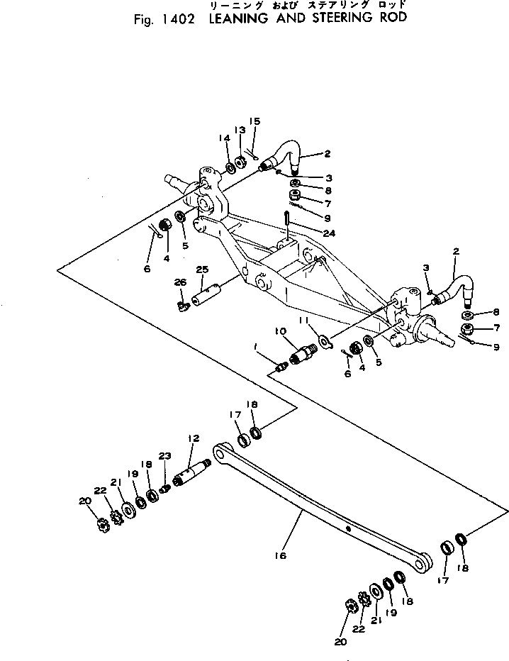
1

07020-00000

FITTING

SN: 2052-UP

2шт.

2

234-27-11355

ARM,R.H.

SN: 2052-UP

1шт.

|2

234-27-11365

ARM,L.H.

SN: 2052-UP

1шт.

3

04010-01055

KEY

SN: 2052-UP

2шт.

4

01593-03320

NUT

SN: 2052-UP

2шт.

5

234-27-11480

WASHER

SN: 2052-UP

2шт.

6

04050-06050

PIN

SN: 2052-UP

2шт.

7

01590-02022

NUT

SN: 2052-UP

2шт.

8

234-27-11530

WASHER

SN: 2052-UP

2шт.

9

04050-04040

PIN

SN: 2052-UP

2шт.

10

234-27-11410

SHAFT

SN: 2052-UP

1шт.

11

234-27-11420

PLATE

SN: 2052-UP

1шт.

12

234-27-11431

SHAFT

SN: 2052-UP

1шт.

13

01590-03335

NUT

SN: 2052-UP

1шт.

14

234-27-11480

WASHER

SN: 2052-UP

1шт.

15

04050-06050

PIN

SN: 2052-UP

1шт.

|16

234-27-00071

LEANING ROD ASS'Y

SN: 2052-UP

1шт.

16

234-27-11442

ROD

SN: 2052-UP

1шт.

17

141-903-2160

BUSHING

SN: 2052-UP

2шт.

18

07145-00050

SEAL (KIT)

SN: 2052-UP

4шт.

19

234-27-11450

COLLAR

SN: 2052-UP

2шт.

20

01530-23610

NUT

SN: 2052-UP

2шт.

21

234-27-11461

WASHER

SN: 2052-UP

2шт.

22

01658-23618

WASHER

SN: 2052-UP

2шт.

23

07020-00000

FITTING

SN: 2052-UP

2шт.

24

04025-00880

PIN

SN: 2052-UP

1шт.

25

234-27-11120

PIN

SN: 2052-UP

1шт.

26

07020-00675

FITTING

SN: 2052-UP

1шт.

Выбрано товаров: 28