Запчасти Komatsu GD705R-1 ГЛУШИТЕЛЬ КОМПОНЕНТЫ ДВИГАТЕЛЯ И ЭЛЕКТРИКА

Схема запчастей Komatsu GD705R-1 - ГЛУШИТЕЛЬ КОМПОНЕНТЫ ДВИГАТЕЛЯ И ЭЛЕКТРИКА
FIT
1:1
100%

Артикул

Название

Примечание

Количество

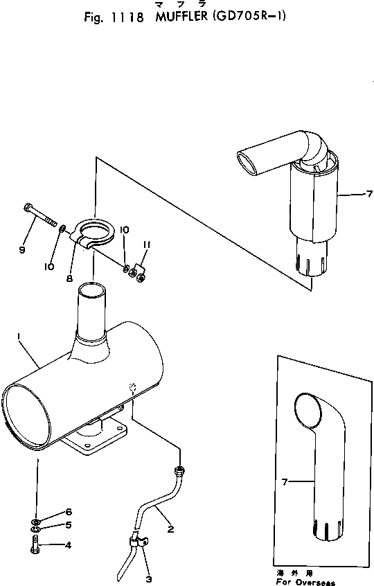
|1

232-02-00022

MUFFLER ASS'Y,(FOR JAPAN)

SN: 2090-UP

1шт.

|1

0

MUFFLER ASS'Y,(FOR JAPAN)

SN: 2052-2089

1шт.

|1

234-902-0111

MUFFLER ASS'Y,(EXCEPT JAPAN)

SN: 2090-UP

1шт.

|1

0

MUFFLER ASS'Y,(EXCEPT JAPAN)

SN: 2052-2089

1шт.

1

6678-11-5721

MUFFLER

SN: 2090-UP

1шт.

|1

6678-11-5720

MUFFLER

SN: 2090-2089

1шт.

2

234-02-12120

TUBE

SN: 2052-UP

1шт.

3

234-02-12150

CLIP

SN: 2052-UP

1шт.

4

01050-31020

BOLT

SN: 2052-UP

2шт.

5

01602-01030

WASHER

SN: 2052-UP

2шт.

6

01643-31032

WASHER

SN: 2052-UP

2шт.

7

234-02-12130

MUFFLER,(FOR JAPAN)

SN: 2052-UP

1шт.

|7

6679-11-5731

PIPE,(EXCEPT JAPAN)

SN: 2052-UP

1шт.

8

6620-11-5742

CLAMP

SN: 2052-UP

1шт.

9

01011-61415

BOLT

SN: 2052-UP

1шт.

10

01641-21423

WASHER

SN: 2052-UP

2шт.

11

01580-01411

NUT

SN: 2052-UP

2шт.

Выбрано товаров: 17