Запчасти Komatsu NH-220-CI-2AA БЛОК ЦИЛИНДРОВ (/) БЛОК ЦИЛИНДРОВ

Схема запчастей Komatsu NH-220-CI-2AA - БЛОК ЦИЛИНДРОВ (/) БЛОК ЦИЛИНДРОВ
FIT
1:1
100%

Артикул

Название

Примечание

Количество

|1

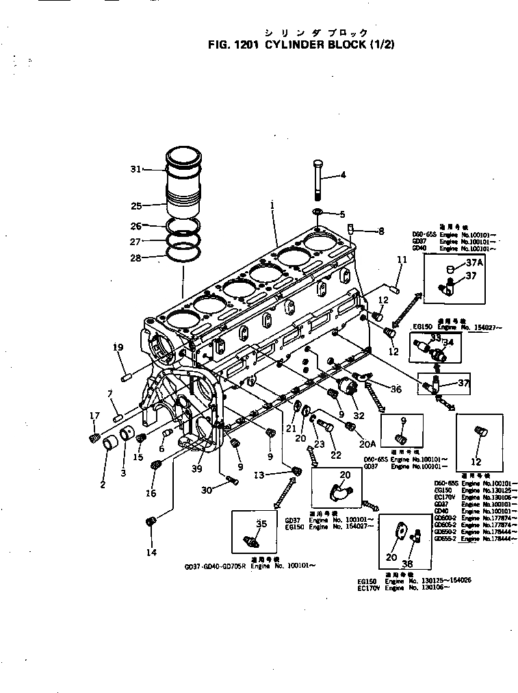
6643-21-1016

CYLINDER BLOCK A.

SN: .-UP

1шт.

|1

0

CYLINDER BLOCK ASS'Y

SN: 143358-.

1шт.

|1

6643-21-1026

CYLINDER BLOCK A.

SN: .-UP

1шт.

|1

0

CYLINDER BLOCK A.

SN: 143358-.

1шт.

1

0

BLOCK

SN: 143358-UP

1шт.

|2

6610-21-1040

BUSHING ASS'Y,CAMSHAFT

SN: 143358-UP

1шт.

2

6610-21-1410

BUSHING,FRONT

SN: 143358-UP

1шт.

3

6610-21-1420

BUSHING

SN: 143358-UP

6шт.

4

6610-11-1611

BOLT

SN: 143358-UP

18шт.

5

6610-11-1620

WASHER

SN: 143358-UP

18шт.

6

6620-21-3610

PIN,DOWEL¤ GEAR COVER

SN: 143358-UP

1шт.

7

6620-21-3620

PIN,DOWEL¤ GEAR COVER

SN: 143358-UP

1шт.

8

6610-11-1410

PIN,DOWEL¤ CYLINDER HEAD

SN: 143358-UP

9шт.

9

02720-20810

PLUG

SN: 143358-UP

3шт.

11

02400-10416

PIN,DOWEL¤ CAM FOLLOWER

SN: 143358-UP

6шт.

12

6610-21-2720

PLUG,OIL HEADER

SN: 143358-UP

6шт.

13

02720-20607

PLUG

SN: 143358-UP

3шт.

14

02720-20204

PLUG

SN: 143358-UP

1шт.

15

02720-20810

PLUG

SN: 143358-UP

1шт.

16

6600-01-2860

PLUG

SN: 143358-UP

1шт.

17

02720-21214

PLUG

SN: .-UP

1шт.

|17

0

PLUG

SN: 143358-.

1шт.

19

6610-21-2790

PIN,DOWEL

SN: 143358-UP

1шт.

20

6691-51-9930

FLANGE,OIL HEADER

SN: .-UP

1шт.

|20

6610-21-6730

FLANGE,OIL HEADER

SN: 143358-.

1шт.

20A

02720-20810

PLUG

SN: .-UP

1шт.

21

6610-21-5671

GASKET (K2)

SN: 143358-UP

1шт.

22

02030-20625

BOLT

SN: 143358-UP

2шт.

23

02310-11224

WASHER,SPRING

SN: 143358-UP

2шт.

25

6610-21-2213

LINER,CYLINDER

SN: .-UP

6шт.

|25

0

LINER,CYLINDER

SN: 143358-.

6шт.

26

6610-21-2240

SEAL,CREVICE (K2)

SN: 143358-UP

6шт.

27

6610-21-2221

O-RING (K2)

SN: 143358-UP

6шт.

28

6610-21-2250

O-RING (K2)

SN: 143358-UP

6шт.

30

04418-02550

SCREW

SN: 143358-UP

4шт.

31

6610-29-2330

SHIM¤ 0.18MM,(SERVICE PARTS)

SN: 143358-UP

-2шт.

|31

6610-28-2330

SHIM¤ 0.20MM,(SERVICE PARTS)

SN: 143358-UP

-2шт.

|31

6610-27-2330

SHIM¤ 0.23MM,(SERVICE PARTS)

SN: 143358-UP

-2шт.

|31

6610-26-2330

SHIM¤ 0.51MM,(SERVICE PARTS)

SN: 143358-UP

-2шт.

|31

6610-25-2330

SHIM¤ 0.79MM,(SERVICE PARTS)

SN: 143358-UP

-2шт.

|31

6610-24-2330

SHIM¤ 1.57MM,(SERVICE PARTS)

SN: 143358-UP

-2шт.

35

6684-91-4230

NIPPLE

SN: 143358-UP

1шт.

37

6610-81-8820

ELBOW,PRESSURE GAUGE

SN: 143358-UP

1шт.

37A

6610-81-8950

CAP

SN: 143358-UP

1шт.

39

6678-81-1110

PLATE¤ NAME,(LIMITED SUPPLY)

SN: 143358-UP

1шт.

|1

6643-21-1016

CYLINDER BLOCK A.

SN: .-UP

1шт.

|1

0

CYLINDER BLOCK ASS'Y

SN: 143358-.

1шт.

|1

6643-21-1026

CYLINDER BLOCK A.

SN: .-UP

1шт.

|1

0

CYLINDER BLOCK A.

SN: 143358-.

1шт.

1

0

BLOCK

SN: 143358-UP

1шт.

|2

6610-21-1040

BUSHING ASS'Y,CAMSHAFT

SN: 143358-UP

1шт.

2

6610-21-1410

BUSHING,FRONT

SN: 143358-UP

1шт.

3

6610-21-1420

BUSHING

SN: 143358-UP

6шт.

4

6610-11-1611

BOLT

SN: 143358-UP

18шт.

5

6610-11-1620

WASHER

SN: 143358-UP

18шт.

6

6620-21-3610

PIN,DOWEL¤ GEAR COVER

SN: 143358-UP

1шт.

7

6620-21-3620

PIN,DOWEL¤ GEAR COVER

SN: 143358-UP

1шт.

8

6610-11-1410

PIN,DOWEL¤ CYLINDER HEAD

SN: 143358-UP

9шт.

9

02720-20810

PLUG

SN: 143358-UP

3шт.

11

02400-10416

PIN,DOWEL¤ CAM FOLLOWER

SN: 143358-UP

6шт.

12

6610-21-2720

PLUG,OIL HEADER

SN: 143358-UP

6шт.

13

02720-20607

PLUG

SN: 143358-UP

3шт.

14

02720-20204

PLUG

SN: 143358-UP

1шт.

15

02720-20810

PLUG

SN: 143358-UP

1шт.

16

6600-01-2860

PLUG

SN: 143358-UP

1шт.

17

02720-21214

PLUG

SN: .-UP

1шт.

|17

0

PLUG

SN: 143358-.

1шт.

19

6610-21-2790

PIN,DOWEL

SN: 143358-UP

1шт.

20

6691-51-9930

FLANGE,OIL HEADER

SN: .-UP

1шт.

|20

6610-21-6730

FLANGE,OIL HEADER

SN: 143358-.

1шт.

20A

02720-20810

PLUG

SN: .-UP

1шт.

21

6610-21-5671

GASKET (K2)

SN: 143358-UP

1шт.

22

02030-20625

BOLT

SN: 143358-UP

2шт.

23

02310-11224

WASHER,SPRING

SN: 143358-UP

2шт.

25

6610-21-2213

LINER,CYLINDER

SN: .-UP

6шт.

|25

0

LINER,CYLINDER

SN: 143358-.

6шт.

26

6610-21-2240

SEAL,CREVICE (K2)

SN: 143358-UP

6шт.

27

6610-21-2221

O-RING (K2)

SN: 143358-UP

6шт.

28

6610-21-2250

O-RING (K2)

SN: 143358-UP

6шт.

30

04418-02550

SCREW

SN: 143358-UP

4шт.

31

6610-29-2330

SHIM¤ 0.18MM,(SERVICE PARTS)

SN: 143358-UP

-2шт.

|31

6610-28-2330

SHIM¤ 0.20MM,(SERVICE PARTS)

SN: 143358-UP

-2шт.

|31

6610-27-2330

SHIM¤ 0.23MM,(SERVICE PARTS)

SN: 143358-UP

-2шт.

|31

6610-26-2330

SHIM¤ 0.51MM,(SERVICE PARTS)

SN: 143358-UP

-2шт.

|31

6610-25-2330

SHIM¤ 0.79MM,(SERVICE PARTS)

SN: 143358-UP

-2шт.

|31

6610-24-2330

SHIM¤ 1.57MM,(SERVICE PARTS)

SN: 143358-UP

-2шт.

35

6684-91-4230

NIPPLE

SN: 143358-UP

1шт.

37

6610-81-8820

ELBOW,PRESSURE GAUGE

SN: 143358-UP

1шт.

37A

6610-81-8950

CAP

SN: 143358-UP

1шт.

39

6678-81-1110

PLATE¤ NAME,(LIMITED SUPPLY)

SN: 143358-UP

1шт.

Выбрано товаров: 90