Запчасти Komatsu GD705R-1A DECELERATOR ЦИЛИНДР(№-7) КОМПОНЕНТЫ ДВИГАТЕЛЯ И ЭЛЕКТРИКА

Схема запчастей Komatsu GD705R-1A - DECELERATOR ЦИЛИНДР(№-7) КОМПОНЕНТЫ ДВИГАТЕЛЯ И ЭЛЕКТРИКА
FIT
1:1
100%

Артикул

Название

Примечание

Количество

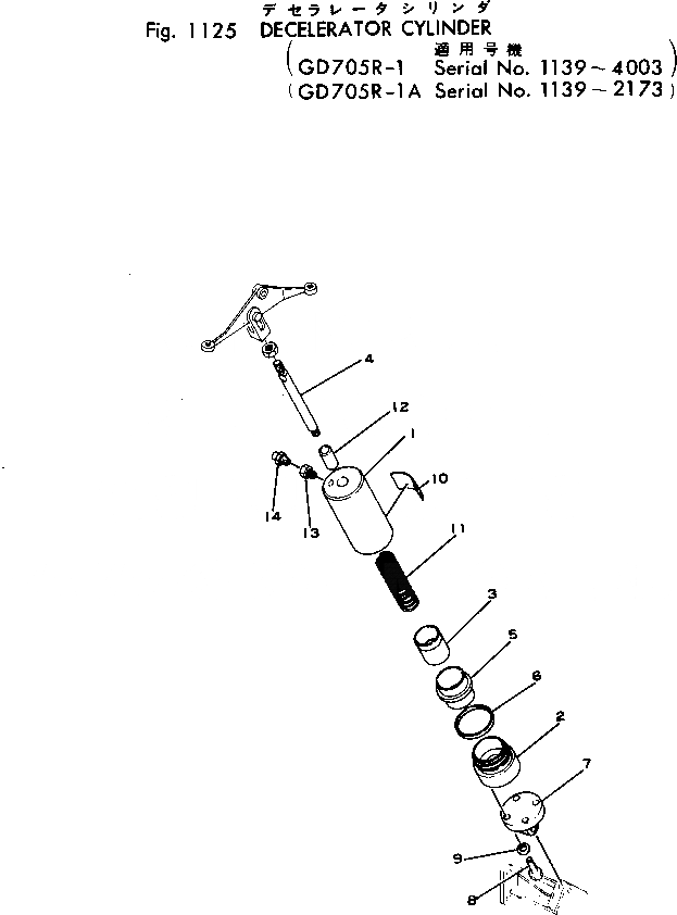
|1

234-43-12501

CYLINDER ASS'Y

SN: 2052-2173

1шт.

1

234-43-12711

CYLINDER

SN: 2052-2173

1шт.

2

234-43-12720

BONNET

SN: 2052-2173

1шт.

3

234-43-12730

PISTON

SN: 2052-2173

1шт.

4

234-43-12740

ROD

SN: 2052-2173

1шт.

5

234-43-12750

BELLOWS

SN: 2052-2173

1шт.

6

234-43-12760

RING,LOCK

SN: 2052-2173

1шт.

7

234-43-12770

BRACKET

SN: 2052-2173

1шт.

8

234-43-12780

BOLT

SN: 2052-2173

4шт.

9

234-43-12790

WASHER

SN: 2052-2173

4шт.

10

0

LABEL

SN: 2052-2173

1шт.

11

234-43-12820

SPRING

SN: 2052-2173

1шт.

12

234-43-12830

BUSHING

SN: 2052-2173

1шт.

13

234-43-12510

JOINT

SN: 2052-@

1шт.

14

07030-00252

BREATHER

SN: 2052-@

1шт.

Выбрано товаров: 15