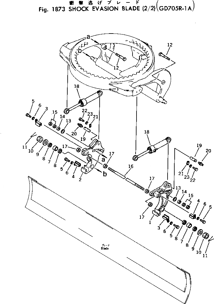
Запчасти Komatsu GD705R-1A SHOCK EVASION ОТВАЛ (/) ОПЦИОННЫЕ КОМПОНЕНТЫ

Схема запчастей Komatsu GD705R-1A - SHOCK EVASION ОТВАЛ (/) ОПЦИОННЫЕ КОМПОНЕНТЫ
FIT
1:1
100%

Артикул

Название

Примечание

Количество

1

234-735-3180

ADJUSTER,L.H.

SN: 2052-UP

1шт.

2

234-735-3210

ADJUSTER,R.H.

SN: 2052-UP

1шт.

3

234-70-12261

GUIDE

SN: 2052-UP

2шт.

4

234-70-12251

GUIDE

SN: 2052-UP

2шт.

5

01010-51435

BOLT

SN: 2052-UP

4шт.

6

01602-21442

WASHER

SN: 2052-UP

4шт.

7

234-979-6260

BUSHING

SN: 2052-UP

2шт.

8

234-70-34180

SEAL

SN: 2052-UP

4шт.

9

234-979-6270

WASHER

SN: 2052-UP

2шт.

10

01590-14548

NUT

SN: 2052-UP

2шт.

11

04050-18080

PIN

SN: 2052-UP

2шт.

12

234-870-6220

BOLT

SN: 2052-UP

2шт.

13

232-735-1261

WASHER

SN: 2052-UP

2шт.

14

234-70-33170

COLLAR

SN: 2052-UP

2шт.

15

01580-13024

NUT

SN: 2052-UP

4шт.

16

234-70-33260

ROD

SN: 2052-UP

1шт.

17

01580-13629

NUT

SN: 2052-UP

4шт.

18

234-63-18300

CYLINDER ASS'Y,L.H.

SN: 2052-UP

1шт.

|18

234-63-18400

CYLINDER ASS'Y,R.H.

SN: 2052-UP

1шт.

19

232-870-9370

PIN

SN: 2052-UP

2шт.

20

07020-00000

FITTING

SN: 2052-UP

2шт.

21

04082-00212

LOCK

SN: 2052-UP

2шт.

22

01010-51225

BOLT

SN: 2052-UP

4шт.

23

01602-21236

WASHER

SN: 2052-UP

4шт.

Выбрано товаров: 24