Запчасти Komatsu GD705R-1A ШИНЫ ЗАЩИТАER ОПЦИОННЫЕ КОМПОНЕНТЫ

Схема запчастей Komatsu GD705R-1A - ШИНЫ ЗАЩИТАER ОПЦИОННЫЕ КОМПОНЕНТЫ
FIT
1:1
100%

Артикул

Название

Примечание

Количество

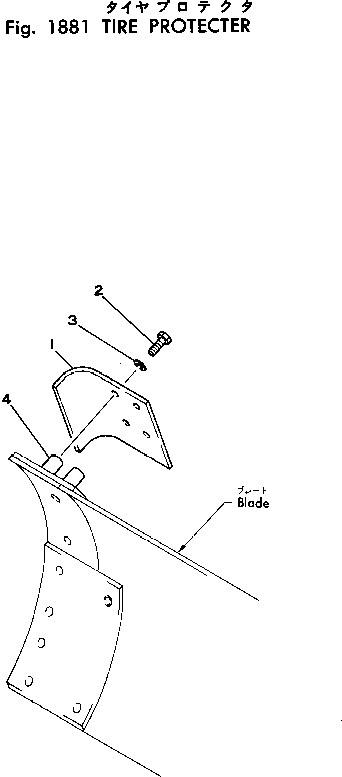
1

234-835-1111

PROTECTOR,L.H.

SN: 2052-UP

1шт.

|1

234-835-1120

PROTECTOR,R.H.

SN: 2052-UP

1шт.

2

01010-31845

BOLT

SN: 2052-UP

8шт.

3

01602-01854

WASHER

SN: 2052-UP

8шт.

4

234-835-1130

SEAT (WELDED)

SN: 2052-UP

8шт.

Выбрано товаров: 5