Запчасти Komatsu GD705R-2 КАБИНА ROPS ОПЦИОННЫЕ КОМПОНЕНТЫ

Схема запчастей Komatsu GD705R-2 - КАБИНА ROPS ОПЦИОННЫЕ КОМПОНЕНТЫ
FIT
1:1
100%

Артикул

Название

Примечание

Количество

|$0

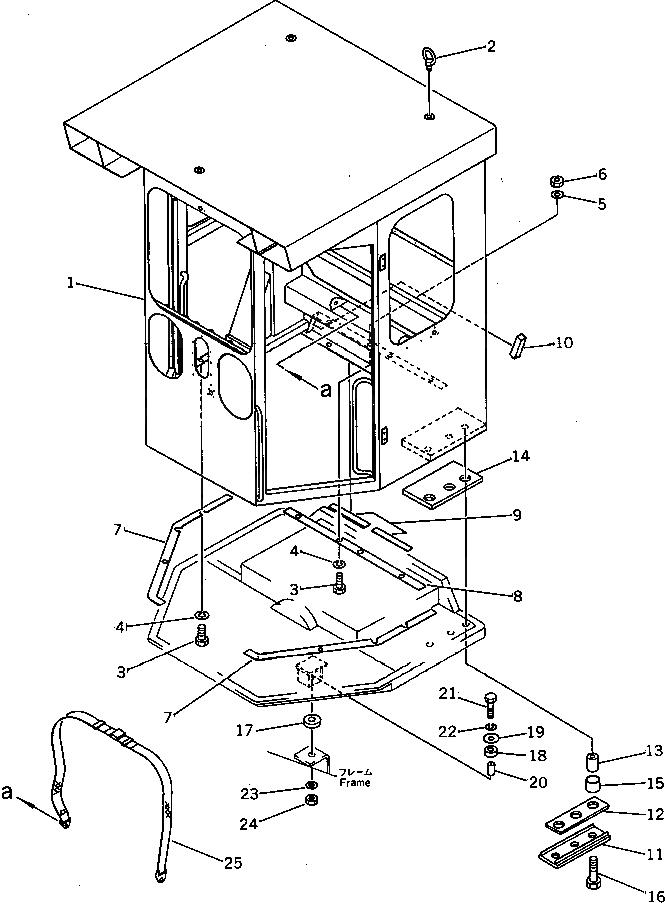
234-957-0030

ROPS CAB ASSY

SN: 1001-UP

1шт.

1

234-957-3110

CAB

SN: 1001-UP

1шт.

2

0

BOLT

SN: 1001-UP

4шт.

3

01010-51030

BOLT

SN: 1001-UP

13шт.

4

01602-21030

WASHER

SN: 1001-UP

13шт.

5

01643-31032

WASHER

SN: 1001-UP

13шт.

6

01580-11008

NUT

SN: 1001-UP

7шт.

7

234-957-3130

.

SN: 1001-UP

2шт.

8

234-855-2270

CUSHION

SN: 1001-UP

1шт.

9

234-885-3140

CUSHION

SN: 1001-UP

2шт.

10

234-801-1930

SEAT

SN: 1001-UP

2шт.

11

234-957-1120

PLATE

SN: 1001-UP

2шт.

12

234-957-1130

SEAT

SN: 1001-UP

2шт.

13

234-957-1140

BUSHING

SN: 1001-UP

6шт.

14

234-957-1150

SEAT

SN: 1001-UP

2шт.

15

232-957-1170

SPACER

SN: 1001-UP

6шт.

16

0

BOLT

SN: 1001-UP

6шт.

17

237-54-11280

CUSHION

SN: 1001-UP

2шт.

18

237-54-11270

CUSHION

SN: 1001-UP

2шт.

19

234-54-11480

PLATE

SN: 1001-UP

2шт.

20

234-54-11470

COLLAR

SN: 1001-UP

2шт.

21

01010-51695

BOLT

SN: 1001-UP

2шт.

22

01602-21648

WASHER

SN: 1001-UP

2шт.

23

01643-31645

WASHER

SN: 1001-UP

2шт.

24

01580-11613

NUT

SN: 1001-UP

2шт.

25

09409-10000

BELT

SN: 1001-UP

1шт.

Выбрано товаров: 26