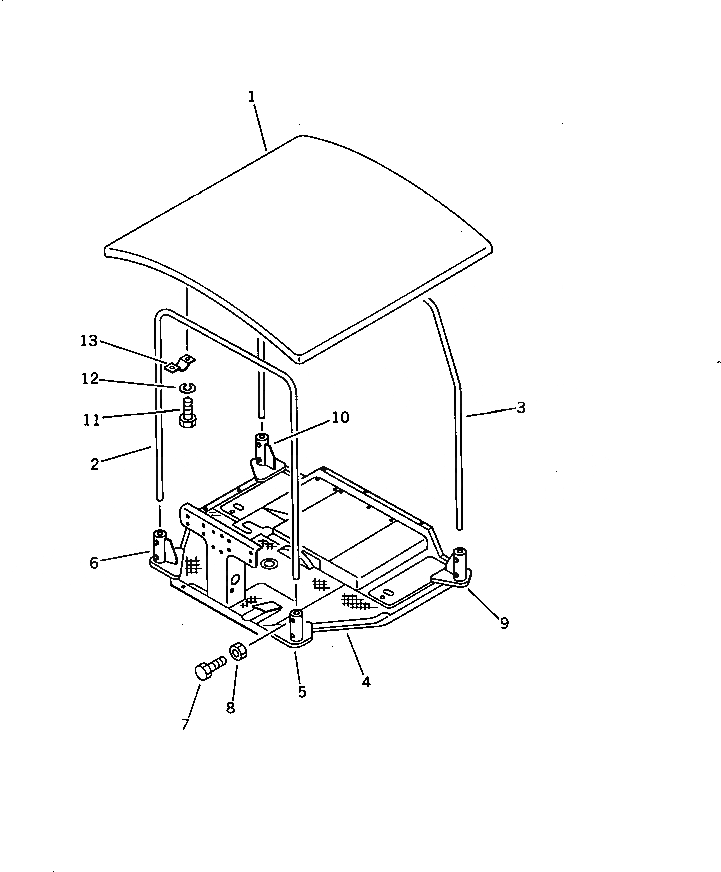
Запчасти Komatsu GD705R-2 STEEL НАВЕС ОПЦИОННЫЕ КОМПОНЕНТЫ

Схема запчастей Komatsu GD705R-2 - STEEL НАВЕС ОПЦИОННЫЕ КОМПОНЕНТЫ
FIT
1:1
100%

Артикул

Название

Примечание

Количество

|$0

234-855-0130

CANOPY ASS'Y

SN: 1001-UP

1шт.

1

232-55-13310

ROOF

SN: 1001-UP

1шт.

2

234-855-7132

POLE

SN: 1001-UP

1шт.

3

234-855-7440

POLE

SN: 1001-UP

1шт.

4

234-855-7510

FRAME

SN: 1001-UP

1шт.

5

234-855-7153

BRACKET

SN: 1001-UP

1шт.

6

234-855-7163

BRACKET

SN: 1001-UP

1шт.

7

0

BOLT

SN: 1001-UP

8шт.

8

01580-11210

NUT

SN: 1001-UP

8шт.

9

234-855-7530

BRACKET

SN: 1001-UP

1шт.

10

234-855-7520

BRACKET

SN: 1001-UP

1шт.

11

0

BOLT

SN: 1001-UP

8шт.

12

01602-21442

WASHER

SN: 1001-UP

8шт.

13

131-906-1150

CLIP

SN: 1001-UP

4шт.

Выбрано товаров: 0