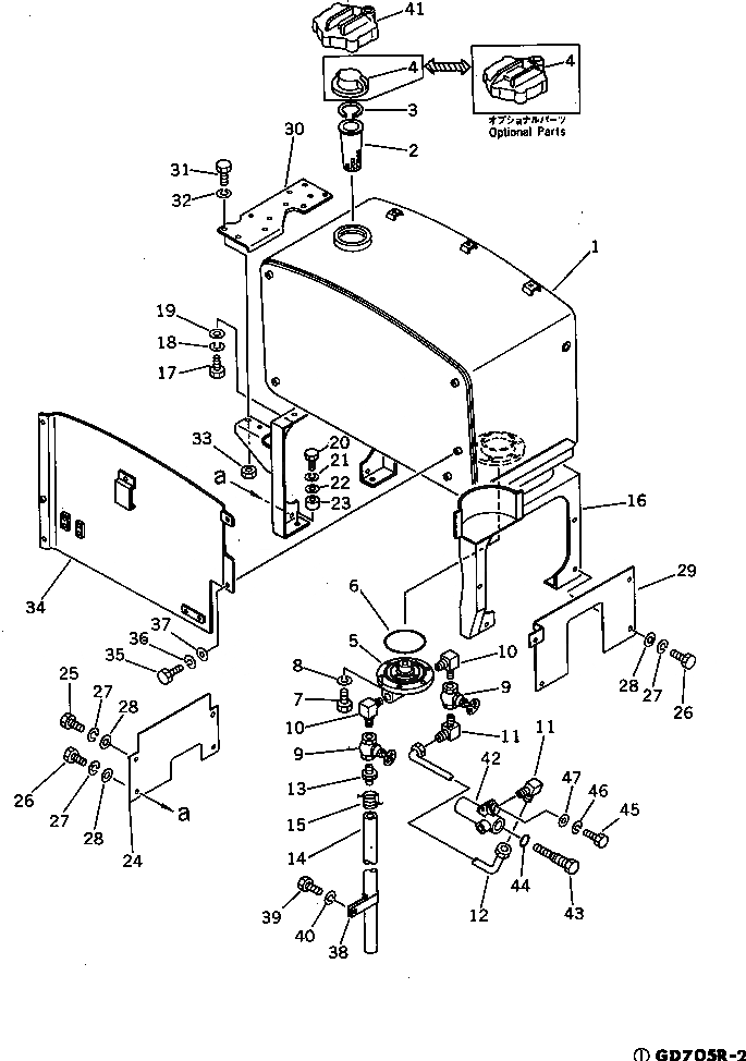
Запчасти Komatsu GD705R-2 ТОПЛИВН. БАК.(№8-) КОМПОНЕНТЫ ДВИГАТЕЛЯ И ЭЛЕКТРИКА

Схема запчастей Komatsu GD705R-2 - ТОПЛИВН. БАК.(№8-) КОМПОНЕНТЫ ДВИГАТЕЛЯ И ЭЛЕКТРИКА
FIT
1:1
100%

Артикул

Название

Примечание

Количество

|$0

234-04-00200

FUEL TANK ASS'Y

SN: 12286-13213

1шт.

1

234-04-12110

TANK

SN: 1001-13213

1шт.

2

07056-18416

STRAINER

SN: 1001-13213

1шт.

3

07057-04087

RING

SN: 1001-13213

1шт.

4

07050-21200

CAP

SN: 1001-13213

1шт.

4

07091-01210

CAP (OP)

SN: 1001-13213

1шт.

5

234-04-11290

FLANGE

SN: 1001-13213

1шт.

6

07000-13135

O-RING (KIT)

SN: 1001-13213

1шт.

7

01010-31025

BOLT

SN: 1001-13213

8шт.

8

01602-01030

WASHER

SN: 1001-13213

8шт.

9

0

VALVE

SN: 1001-13213

2шт.

10

234-04-11351

ELBOW

SN: 1001-13213

2шт.

11

232-04-12132

NIPPLE

SN: 1001-13213

2шт.

12

234-04-11640

TUBE

SN: 12286-13213

1шт.

13

141-04-31170

NIPPLE

SN: 1001-13213

1шт.

14

07270-01295

TUBE

SN: 1001-13213

1шт.

15

0

WIRE

SN: (1001-13213)

1шт.

16

234-04-11610

BRACKET

SN: 12286-13213

1шт.

17

01010-51435

BOLT

SN: 12286-13213

6шт.

18

01602-01442

WASHER

SN: 1001-13213

6шт.

19

01641-21423

WASHER

SN: 12358-13213

6шт.

20

01010-51680

BOLT

SN: 12286-13213

4шт.

21

01602-01648

WASHER

SN: 1001-13213

4шт.

22

01643-31645

WASHER

SN: 1001-13213

4шт.

23

234-04-11190

SPACER

SN: 1001-13213

4шт.

24

234-04-11570

COVER

SN: 12286-13213

1шт.

25

01010-51025

BOLT

SN: 12286-13213

1шт.

26

0

BOLT

SN: 12286-12519

6шт.

26

0

BOLT

SN: 12520-13213

7шт.

27

01602-21030

WASHER

SN: 12866-12159

7шт.

27

01602-21030

WASHER

SN: 12520-13213

8шт.

28

1640-21016

WASHER

SN: 12286-12519

7шт.

28

1640-21016

WASHER

SN: 12520-13213

8шт.

28

234-04-11560

COVER

SN: 12286-13213

1шт.

30

234-04-11261

COVER

SN: 1001-13213

1шт.

31

01010-31025

BOLT

SN: 1001-13213

4шт.

32

01602-01030

WASHER

SN: 1001-13213

4шт.

33

01580-01008

NUT

SN: 1001-13213

4шт.

34

234-04-11134

PLATE

SN: 1001-13213

1шт.

35

01010-31020

BOLT

SN: 1001-13213

4шт.

36

01602-01030

WASHER

SN: 1001-13213

4шт.

37

01643-31232

WASHER

SN: 1001-13213

4шт.

38

234-04-11420

CLIP

SN: 1001-13213

1шт.

39

01010-30820

BOLT

SN: 1001-13213

1шт.

40

01602-00825

WASHER

SN: 1001-13213

1шт.

41

0

CAP (OP)

SN: 1001-13213

1шт.

41

0

STRAINER ASS'Y

SN: 1001-13213

1шт.

42

154-04-12510

CASE

SN: 1001-13213

1шт.

43

0

STRAINER

SN: 1001-13213

1шт.

44

07000-13038

O-RING (KIT)

SN: 1001-13213

1шт.

45

01010-30825

BOLT

SN: 1001-13213

2шт.

46

01602-00825

WASHER

SN: 1001-13213

2шт.

47

01640-20816

WASHER

SN: 1001-13213

2шт.

Выбрано товаров: 53