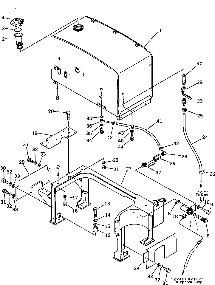
Запчасти Komatsu GD705R-2 ТОПЛИВН. БАК.(№-) КОМПОНЕНТЫ ДВИГАТЕЛЯ И ЭЛЕКТРИКА

Схема запчастей Komatsu GD705R-2 - ТОПЛИВН. БАК.(№-) КОМПОНЕНТЫ ДВИГАТЕЛЯ И ЭЛЕКТРИКА
FIT
1:1
100%

Артикул

Название

Примечание

Количество

1

234-04-12410

SN: 13214-UP

1шт.

2

07056-18416

STRAINER

SN: 13214-UP

1шт.

3

07057-04087

RING

SN: 13214-UP

1шт.

4

07050-21200

CAP

SN: 13214-UP

1шт.

4

07091-01210

CAP (OP)

SN: 13214-UP

1шт.

4

0

CAP (OP)

SN: 13214-UP

1шт.

5

154-04-12510

CASE

SN: 13214-UP

1шт.

6

0

STRAINER

SN: 13214-UP

1шт.

7

07000-13038

O-RING

SN: 13214-UP

1шт.

8

234-04-11370

SPACER

SN: 13214-UP

4шт.

9

01010-50825

BOLT

SN: 13214-UP

2шт.

10

01602-20825

WASHER

SN: 13214-UP

2шт.

11

01640-20816

WASHER

SN: 13214-UP

2шт.

12

234-04-11190

SPACER

SN: 13214-UP

4шт.

13

01010-51680

BOLT

SN: 13214-UP

4шт.

14

01602-21648

WASHER

SN: 13214-UP

4шт.

15

01643-31645

WASHER

SN: 13214-UP

4шт.

16

01010-51435

BOLT

SN: 13214-UP

6шт.

17

01602-21442

WASHER

SN: 13214-UP

6шт.

18

234-04-12120

ELBOW

SN: 13214-UP

1шт.

19

234-04-11261

COVER

SN: 13214-UP

1шт.

20

01010-51025

BOLT

SN: 13214-UP

4шт.

21

01580-11008

NUT

SN: 13214-UP

4шт.

22

01602-21030

WASHER

SN: 13214-UP

4шт.

23

232-04-52340

NIPPLE

SN: 13214-UP

1шт.

24

07270-01295

TUBE

SN: 13214-UP

1шт.

25

236-04-21190

CLIP

SN: 13214-UP

1шт.

26

08036-01814

CLIP

SN: 13214-UP

1шт.

27

234-04-11610

BRACKET

SN: 13214-UP

1шт.

28

234-04-11560

COVER

SN: 13214-UP

1шт.

29

234-04-11570

COVER

SN: 13214-UP

1шт.

30

01010-51025

BOLT

SN: 13214-UP

1шт.

31

0

BOLT

SN: 13214-UP

7шт.

32

01602-21030

WASHER

SN: 13214-UP

8шт.

33

01640-21016

WASHER

SN: 13214-UP

8шт.

34

07206-31014

BOLT

SN: 13214-UP

1шт.

35

07005-01412

GASKET

SN: 13214-UP

2шт.

36

238-04-12110

TUBE

SN: 13214-UP

1шт.

37

232-04-52350

NIPPLE

SN: 13214-UP

1шт.

38

232-04-52320

NIPPLE

SN: 13214-UP

1шт.

39

07700-40460

VALVE

SN: 13214-UP

2шт.

40

234-04-12320

NIPPLE

SN: 13214-UP

1шт.

41

07260-20945

HOSE

SN: 13214-UP

1шт.

42

07281-00197

CLAMP

SN: 13214-UP

2шт.

43

08036-01814

CLIP

SN: 13214-UP

1шт.

44

0

BOLT

SN: 13214-UP

1шт.

45

01602-01030

WASHER

SN: 13214-UP

1шт.

Выбрано товаров: 47