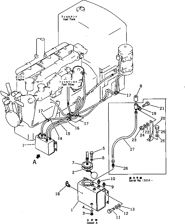
Запчасти Komatsu GD705R-2 ТОПЛИВОПРОВОД. КОМПОНЕНТЫ ДВИГАТЕЛЯ И ЭЛЕКТРИКА

Схема запчастей Komatsu GD705R-2 - ТОПЛИВОПРОВОД. КОМПОНЕНТЫ ДВИГАТЕЛЯ И ЭЛЕКТРИКА
FIT
1:1
100%

Артикул

Название

Примечание

Количество

1

234-01-11211

TANK

SN: 1001-UP

1шт.

2

6610-71-8820

GASKET (KIT)

SN: 1001-UP

1шт.

3

07040-11409

PLUG

SN: 1001-UP

1шт.

4

07002-11423

O-RING

SN: 1001-UP

1шт.

5

01010-30616

BOLT

SN: 1001-UP

8шт.

6

01602-00619

WASHER

SN: 1001-UP

8шт.

7

6610-71-8704

VALVE ASS'Y

SN: 1001-UP

1шт.

8

6684-71-8911

BREATHER

SN: 1001-UP

1шт.

9

6641-71-8861

CONNECTOR

SN: 1001-UP

1шт.

10

6600-02-3861

CONNECTOR

SN: 1001-UP

1шт.

11

01010-31020

BOLT

SN: 1001-UP

4шт.

12

01602-01030

WASHER

SN: 1001-UP

4шт.

13

01640-21016

WASHER

SN: 1001-UP

4шт.

14

02750-04210

HOSE

SN: 1001-UP

1шт.

15

02750-04170

HOSE

SN: 1001-UP

1шт.

16

02750-03140

HOSE

SN: 1001-UP

1шт.

17

08034-00834

BAND

SN: 1001-UP

6шт.

18

6610-81-8820

ELBOW

SN: 1001-UP

1шт.

19

0

BRACKET

SN: 13214-UP

1шт.

20

232-04-51380

BRACKET

SN: 13214-UP

1шт.

21

0

BOLT

SN: 13214-UP

1шт.

22

01640-21016

WASHER

SN: 13214-UP

1шт.

23

01580-11008

NUT

SN: 13214-UP

1шт.

24

01602-21030

WASHER

SN: 13214-UP

1шт.

25

0

BOLT

SN: 13214-UP

1шт.

26

01602-21030

WASHER

SN: 13214-UP

1шт.

27

02750-22070

HOSE

SN: 13214-UP

1шт.

28

6641-71-8931

CONNECTOR

SN: 13214-UP

1шт.

Выбрано товаров: 28