Запчасти Komatsu GD705R-2 ORBIT МОТОР ДЛЯ КОЛЬЦЕВ. РЕВЕРСА(№-) ГИДРАВЛИКА

Схема запчастей Komatsu GD705R-2 - ORBIT МОТОР ДЛЯ КОЛЬЦЕВ. РЕВЕРСА(№-) ГИДРАВЛИКА
FIT
1:1
100%

Артикул

Название

Примечание

Количество

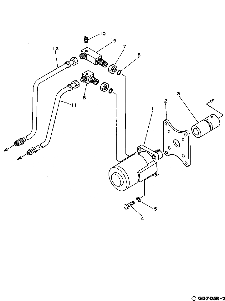
1

234-902-7610

MOTOR

SN: 1001-1010

1шт.

1

234-902-7611

OIL MOTOR

SN: 1011-UP

1шт.

2

0

PLATE

SN: 1001-1010

1шт.

2

234-902-7711

PLATE

SN: 1011-UP

1шт.

3

234-902-7720

COUPLING

SN: 1001-UP

1шт.

4

01010-31035

BOLT

SN: 1001-1010

4шт.

4

0

BOLT

SN: 1011-UP

4шт.

5

01602-01030

WASHER

SN: 1001-1010

4шт.

5

01602-21236

WASHER

SN: 1011-UP

4шт.

6

07000-12020

O-RING

SN: 1001-1010

2шт.

6

07000-12018

O-RING

SN: 1011-UP

2шт.

7

0

NUT

SN: 1001-1010

2шт.

7

234-902-7641

NUT

SN: 1011-UP

2шт.

8

0

ELBOW

SN: 1001-1010

1шт.

8

234-902-7631

ELBOW

SN: 1011-UP

1шт.

9

234-902-7620

ELBOW

SN: 1001-1010

1шт.

9

234-902-7621

ELBOW

SN: 1011-UP

1шт.

10

07042-00103

PLUG

SN: 1001-UP

2шт.

11

0

TUBE

SN: 1001-1010

1шт.

11

234-902-7661

TUBE

SN: 1011-UP

1шт.

12

0

TUBE

SN: 1001-1010

1шт.

12

234-902-7651

TUBE

SN: 1011-UP

1шт.

Выбрано товаров: 0