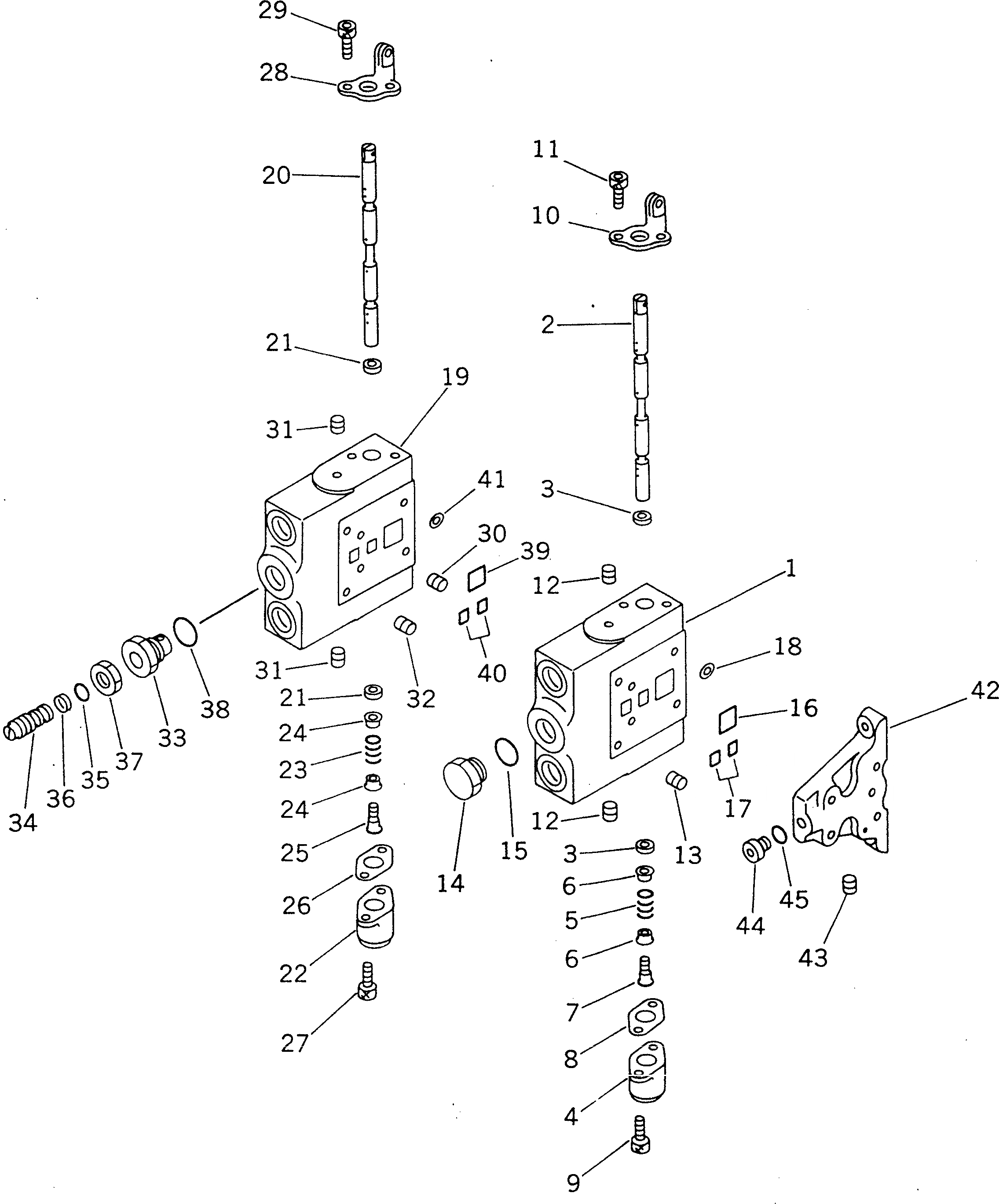
Запчасти Komatsu GD725A-1 ГИДРАВЛ УПРАВЛЯЮЩ. КЛАПАН¤ ЛЕВ. (4-Х СЕКЦИОНН.) (/) ГИДРАВЛИКА

Схема запчастей Komatsu GD725A-1 - ГИДРАВЛ УПРАВЛЯЮЩ. КЛАПАН¤ ЛЕВ. (4-Х СЕКЦИОНН.) (/) ГИДРАВЛИКА
FIT
1:1
100%

Артикул

Название

Примечание

Количество

|$0

23C-60-12200

CONTROL VALVE ASS'Y

SN: 50001-UP

1шт.

|$$2

THIS ASSEMBLY CONSISTS OF ALL PARTS SHOWN IN FIGS.6201 AND 6203.

-1шт.

|$2

23C-60-13250

SPOOL SECTION ASS'Y

SN: 50001-UP

1шт.

1

0

BODY

SN: 50001-UP

1шт.

2

0

SPOOL

SN: 50001-UP

1шт.

3

23C-60-12760

PACKING

SN: 50001-UP

2шт.

|$6

23C-60-12630

SPRING ASS'Y

SN: 50001-UP

1шт.

4

23C-60-12640

COVER

SN: 50001-UP

1шт.

5

23C-60-12680

SPRING

SN: 50001-UP

1шт.

6

23C-60-12670

SEAT,SPRING

SN: 50001-UP

2шт.

7

23C-60-12660

END

SN: 50001-UP

1шт.

8

23C-60-12650

PLATE

SN: 50001-UP

1шт.

9

23C-60-12690

BOLT

SN: 50001-UP

2шт.

|$13

23C-60-12710

BRACKET ASS'Y

SN: 50001-UP

1шт.

10

23C-60-12720

BRACKET

SN: 50001-UP

1шт.

11

23C-60-12730

BOLT

SN: 50001-UP

2шт.

12

23C-60-12830

PLUG

SN: 50001-UP

2шт.

13

23C-60-12260

PLUG

SN: 50001-UP

2шт.

|$18

23C-60-12790

PLUG ASS'Y

SN: 50001-UP

1шт.

14

23C-60-12810

PLUG

SN: 50001-UP

1шт.

15

23C-60-12820

O-RING

SN: 50001-UP

1шт.

16

23C-60-12780

O-RING

SN: 50001-UP

1шт.

17

23C-60-12770

O-RING

SN: 50001-UP

2шт.

18

23C-60-12750

SHIM

SN: 50001-UP

4шт.

|$24

23C-60-12520

SPOOL SECTION ASS'Y

SN: 50001-UP

1шт.

19

0

BODY

SN: 50001-UP

1шт.

20

0

SPOOL

SN: 50001-UP

1шт.

21

23C-60-12760

PACKING

SN: 50001-UP

2шт.

|$28

23C-60-12630

SPRING ASS'Y

SN: 50001-UP

1шт.

22

23C-60-12640

COVER

SN: 50001-UP

1шт.

23

23C-60-12680

SPRING

SN: 50001-UP

1шт.

24

23C-60-12670

SEAT,SPRING

SN: 50001-UP

2шт.

25

23C-60-12660

END

SN: 50001-UP

1шт.

26

23C-60-12650

PLATE

SN: 50001-UP

1шт.

27

23C-60-12690

BOLT

SN: 50001-UP

2шт.

|$35

23C-60-12710

BRACKET ASS'Y

SN: 50001-UP

1шт.

28

23C-60-12720

BRACKET

SN: 50001-UP

1шт.

29

23C-60-12730

BOLT

SN: 50001-UP

2шт.

30

23C-60-12740

VALVE ASS'Y,SHUTTLE

SN: 50001-UP

1шт.

31

23C-60-12830

PLUG

SN: 50001-UP

2шт.

32

23C-60-12260

PLUG

SN: 50001-UP

2шт.

|$41

23C-60-12850

VALVE ASS'Y,FLOW CONTROL

SN: 50001-UP

1шт.

33

23C-60-12870

PLUG

SN: 50001-UP

1шт.

34

23C-60-12860

SCREW,ADJUSTER

SN: 50001-UP

1шт.

35

23C-60-12890

O-RING

SN: 50001-UP

1шт.

36

23C-60-12910

RING,BACK-UP

SN: 50001-UP

1шт.

37

23C-60-12880

NUT

SN: 50001-UP

1шт.

38

23C-60-12820

O-RING

SN: 50001-UP

1шт.

39

23C-60-12780

O-RING

SN: 50001-UP

1шт.

40

23C-60-12770

O-RING

SN: 50001-UP

2шт.

41

23C-60-12750

SHIM

SN: 50001-UP

4шт.

|$51

23C-60-12940

COVER ASS'Y,END

SN: 50001-UP

1шт.

42

23C-60-12950

BODY

SN: 50001-UP

1шт.

43

23C-60-12260

PLUG

SN: 50001-UP

1шт.

44

23C-60-12410

PLUG

SN: 50001-UP

1шт.

45

23C-60-12420

O-RING

SN: 50001-UP

1шт.

Выбрано товаров: 56