Запчасти Komatsu GD725A-1 ОТВАЛ АККУМУЛЯТОР(№.-) ГИДРАВЛИКА

Схема запчастей Komatsu GD725A-1 - ОТВАЛ АККУМУЛЯТОР(№.-) ГИДРАВЛИКА
FIT
1:1
100%

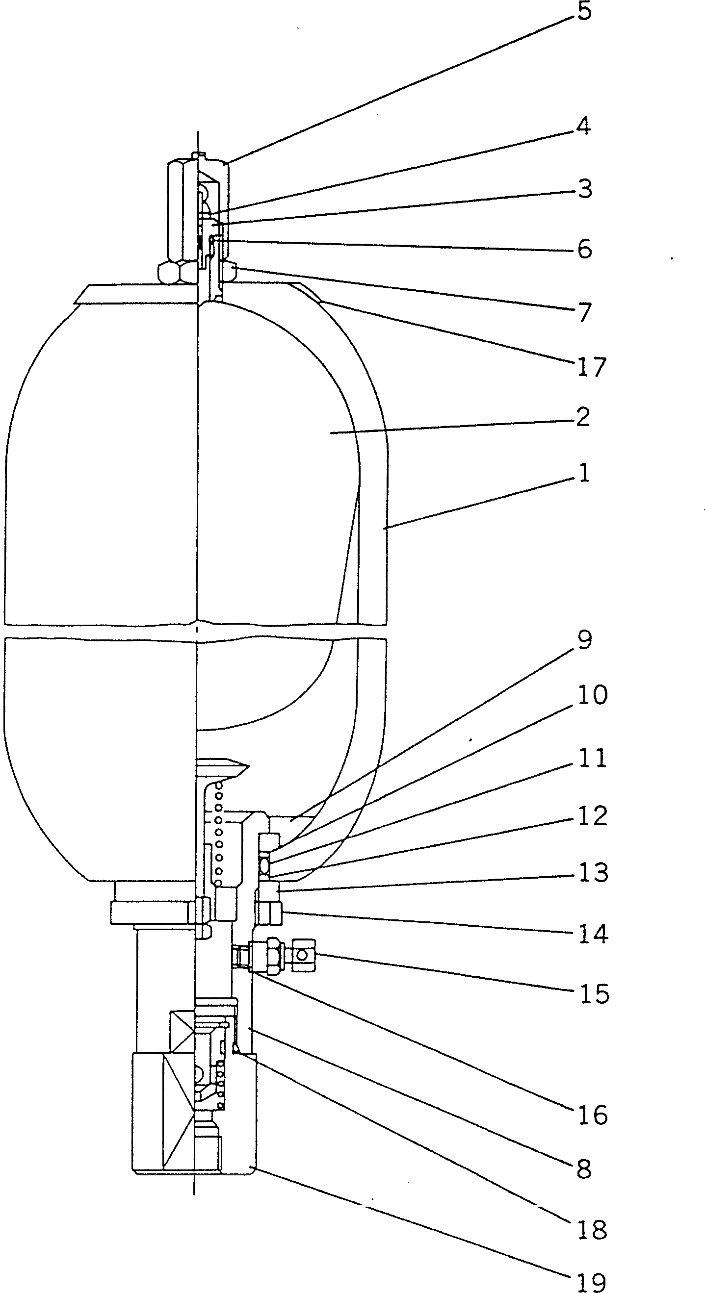
Артикул

Название

Примечание

Количество

|$0

235-833-1200

ACCUMULATOR

SN: .-UP

2шт.

1

235-833-1210

SHELL

SN: 50001-UP

1шт.

2

235-833-1221

BLADDER

SN: .-UP

1шт.

3

235-833-1410

BODY,VALVE

SN: .-UP

1шт.

4

235-833-1420

CORE

SN: .-UP

1шт.

5

235-833-1430

CAP

SN: .-UP

1шт.

6

235-833-1440

O-RING

SN: 50001-UP

1шт.

7

235-833-1240

NUT

SN: 50001-UP

1шт.

8

235-833-1260

BODY ASS'Y

SN: 50001-UP

1шт.

9

235-833-1271

RING

SN: .-UP

1шт.

10

235-833-1280

WASHER

SN: 50001-UP

1шт.

11

235-833-1290

O-RING

SN: 50001-UP

1шт.

12

235-833-1310

RING,BACK-UP

SN: 50001-UP

1шт.

13

235-833-1320

RING,SPACER

SN: 50001-UP

1шт.

14

235-833-1330

NUT,LOCK

SN: 50001-UP

1шт.

15

235-833-1340

PLUG

SN: 50001-UP

1шт.

16

235-833-1350

GASKET

SN: 50001-UP

1шт.

17

235-833-1360

PLATE, NAME

SN: 50001-UP

1шт.

18

235-833-1370

O-RING

SN: 50001-UP

1шт.

19

235-833-1380

VALVE ASS'Y,SLOW RETURN

SN: 50001-UP

1шт.

Выбрано товаров: 20