Запчасти Komatsu GD725A-1 АККУМУЛЯТОР КОМПОНЕНТЫ ДВИГАТЕЛЯ И ЭЛЕКТРИКА

Схема запчастей Komatsu GD725A-1 - АККУМУЛЯТОР КОМПОНЕНТЫ ДВИГАТЕЛЯ И ЭЛЕКТРИКА
FIT
1:1
100%

Артикул

Название

Примечание

Количество

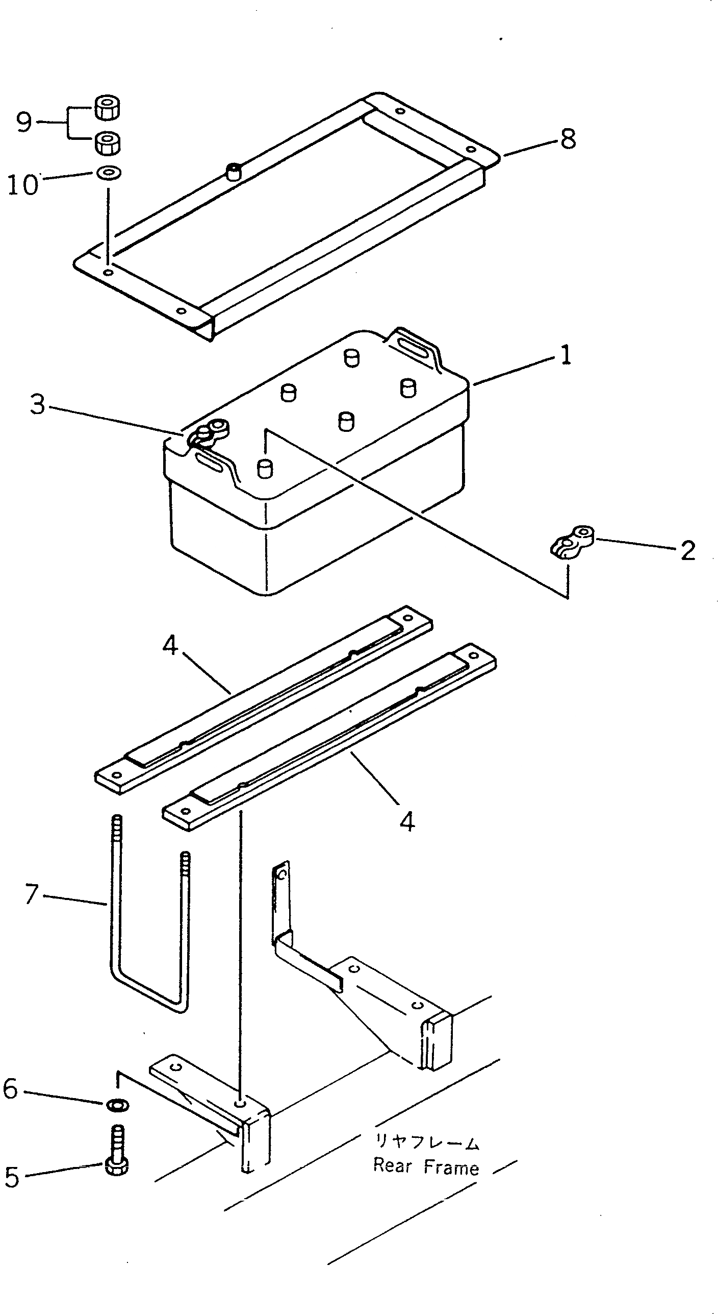
1

08000-02220

BATTERY (190H52)

SN: 50001-UP

2шт.

2

08000-00000

TERMINAL, (+)

SN: 50001-UP

2шт.

3

08000-00001

TERMINAL, (-)

SN: 50001-UP

2шт.

4

23B-06-12420

BRACKET

SN: 50001-UP

4шт.

5

01010-51025

BOLT

SN: 50001-UP

8шт.

6

01643-31032

WASHER

SN: 50001-UP

8шт.

7

23A-06-12420

U-BOLT

SN: 50001-UP

4шт.

8

23C-06-12150

HOLDER,L.H.

SN: 50001-UP

1шт.

8

23C-06-12160

HOLDER,R.H.

SN: 50001-UP

1шт.

9

01580-11008

NUT

SN: 50001-UP

16шт.

10

01643-31032

WASHER

SN: 50001-UP

8шт.

Выбрано товаров: 11