Запчасти Komatsu GD725A-1 ПЕДАЛЬ ТОРМОЗА СИСТЕМА УПРАВЛЕНИЯ

Схема запчастей Komatsu GD725A-1 - ПЕДАЛЬ ТОРМОЗА СИСТЕМА УПРАВЛЕНИЯ
FIT
1:1
100%

Артикул

Название

Примечание

Количество

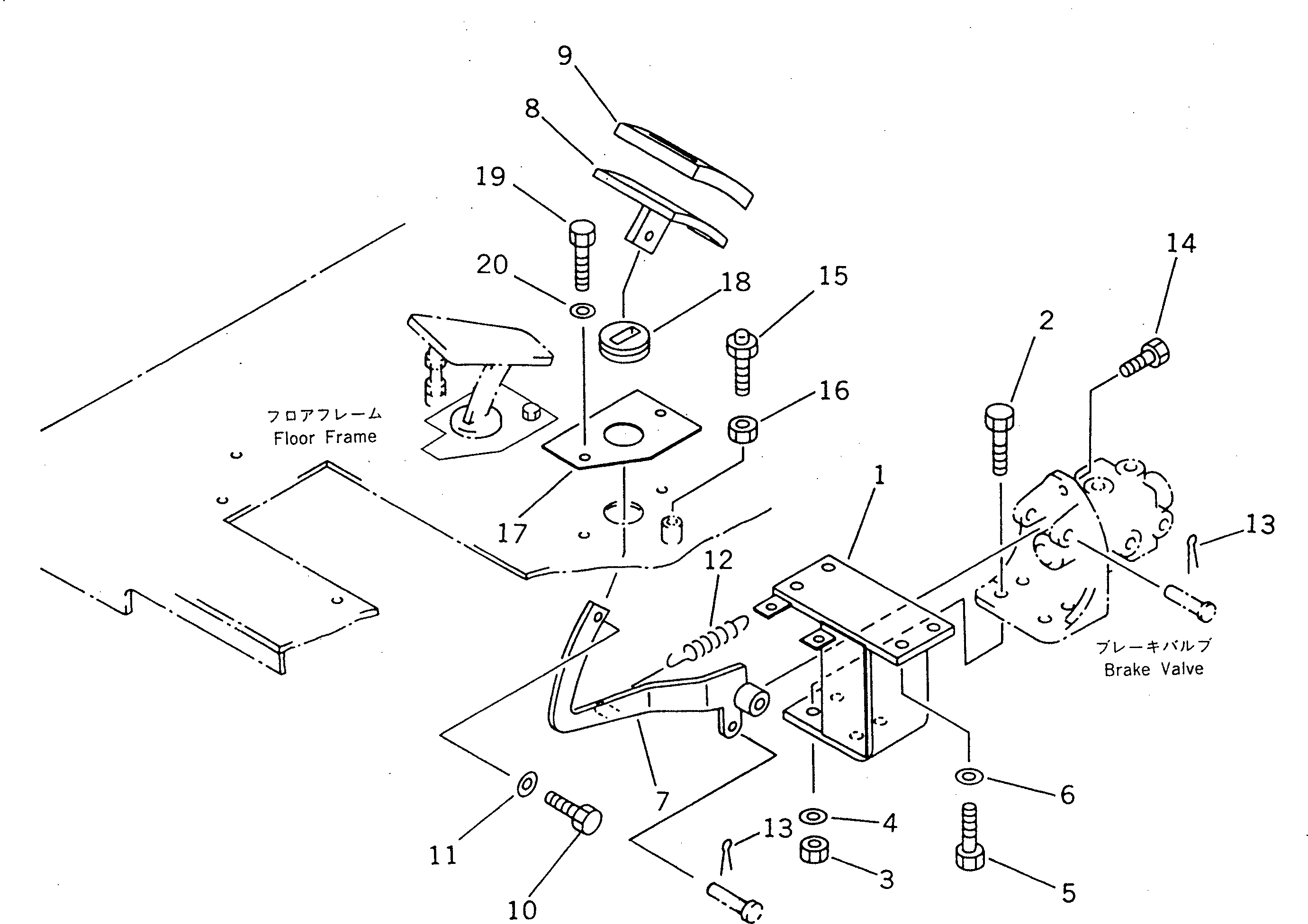
1

235-43-13110

BRACKET

SN: 50001-UP

1шт.

2

01010-51030

BOLT

SN: 50001-UP

4шт.

3

01580-11008

NUT

SN: 50001-UP

4шт.

4

01643-31032

WASHER

SN: 50001-UP

4шт.

5

01010-51220

BOLT

SN: 50001-UP

4шт.

6

01643-51232

WASHER

SN: 50001-UP

4шт.

7

23B-43-13110

LEVER

SN: 50001-UP

1шт.

8

235-45-12110

PEDAL

SN: 50001-UP

1шт.

9

235-45-12170

COVER

SN: 50001-UP

1шт.

10

01010-51230

BOLT

SN: 50001-UP

1шт.

11

01643-31232

WASHER

SN: 50001-UP

1шт.

12

144-15-25710

SPRING

SN: 50001-UP

1шт.

13

04050-13022

PIN,COTTER

SN: 50001-UP

2шт.

14

01016-50845

BOLT

SN: 50012-UP

1шт.

14

01016-30845

BOLT

SN: 50001-50011

1шт.

15

232-43-52430

BUMPER

SN: 50001-UP

1шт.

16

01580-11210

NUT

SN: 50001-UP

1шт.

17

23B-43-12210

COVER

SN: 50001-UP

1шт.

18

235-957-2170

GROMMET

SN: 50001-UP

1шт.

19

01010-50820

BOLT

SN: 50001-UP

2шт.

20

01643-30823

WASHER

SN: 50001-UP

2шт.

Выбрано товаров: 21