Запчасти Komatsu GD750A-1 ТОПЛИВН. БАК. POWER

Схема запчастей Komatsu GD750A-1 - ТОПЛИВН. БАК. POWER
31
25
30
7
32
21
9
31
30
31
11
30
22
29
25
28
27
4
31
30
3
4
22
2
3
1
20
8
26
19
18
8
16
15
10
17
33
10
34
23
13
24
7
9
14
5
6
5
23
13
24
12
14
6
FIT
1:1
100%

Артикул

Название

Примечание

Количество

|$0

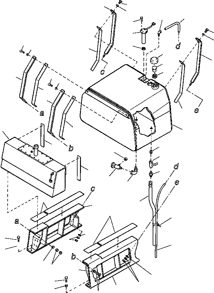
1435 220 H93

FUEL AND HYDRAULIC TANK

1шт.

1

1438 905 H91

TANK, FUEL

1шт.

2

TANK, HYDRAULIC OIL (SEE PG 10-064)

-29шт.

3

132 175

WEBBING

2шт.

4

1439 062 H91

STRAP, TANK - REAR

2шт.

5

01643-31232

WASHER

2шт.

6

01580-11210

NUT

4шт.

7

83 814

TUBE, VENT

1шт.

8

139 895

STRIP, ANTISQUEAK

2шт.

9

SENDER, FUEL GAUGE (SEE PG 08-024)

-29шт.

10

139 895

STRIP, ANTISQUEAK

2шт.

11

GASKET (SEE PG 08-024)

-29шт.

12

1439 027 H92

BRACKET, TANK - R.H

1шт.

13

01010-81230

BOLT

8шт.

14

25 555 R1

WASHER

8шт.

15

108 686 H1

ELBOW - 90°

1шт.

16

1436 239 H1

VALVE, SHUTOFF

1шт.

17

1437 101 H1

HOSE

1шт.

18

607 782 R1

CONNECTOR

1шт.

19

120 579 H45

VALVE, SHUTOFF

1шт.

20

121 208

NIPPLE

1шт.

21

SCREW (SEE PG 08-024)

-29шт.

22

132 175

WEBBING

2шт.

23

01643-31232

WASHER

2шт.

24

01580-11210

NUT

4шт.

25

1438 543 H91

STRAP, TANK - FRONT

2шт.

26

9403 370

CAP

1шт.

27

41704-21230

GASKET

1шт.

28

07056-18416

STRAINER

1шт.

29

423-04-11362

CAP, FUEL

1шт.

30

01643-31232

WASHER

4шт.

31

01010-81225

BOLT

4шт.

32

1439 201 H91

FITTING, COMPRESSION

1шт.

33

1439 397 H92

BRACKET, TANK - L.H

1шт.

34

149 880

STRAP, TIE

1шт.

Выбрано товаров: 35