Качественные детали и логистика
Оригинальные и аналоговые запчасти с доставкой по России, Казахстану и Беларуси
©2022 PartSell ООО "Система" ИНН 2463123282 ОГРН 1212400004838
Центральный офис: г. Красноярск, Академика Киренского, д.87, пом.4
Телефон: 8 (800) 777-65-74 Email: zakaz@partsell.ru
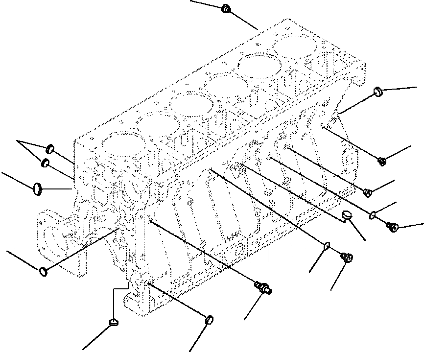
БЛОК ЦИЛИНДРОВ ТРУБЫ
№
Артикул
Название
Примечание
Количество
1
6732-61-2240
PLUG, PIPE (1/4 NPT)
2шт.
2
6736-21-1820
PLUG, EXPANSION (1 INCH)
4шт.
3
1239 144 H1
PLUG, EXPANSION (0.387 DIA)
9шт.
4
6732-11-1910
PLUG, PIPE (1/2 NPT)
1шт.
|$4
1246 118 H91
PLUG, THREADED
5
1246 120 H1
6
1246 119 H1
O-RING
|$7
1246 131 H91
7
1246 132 H1
8
6735-21-4160
9
1267 723 H91
NIPPLE, COUPLING
Выбрано товаров: 0