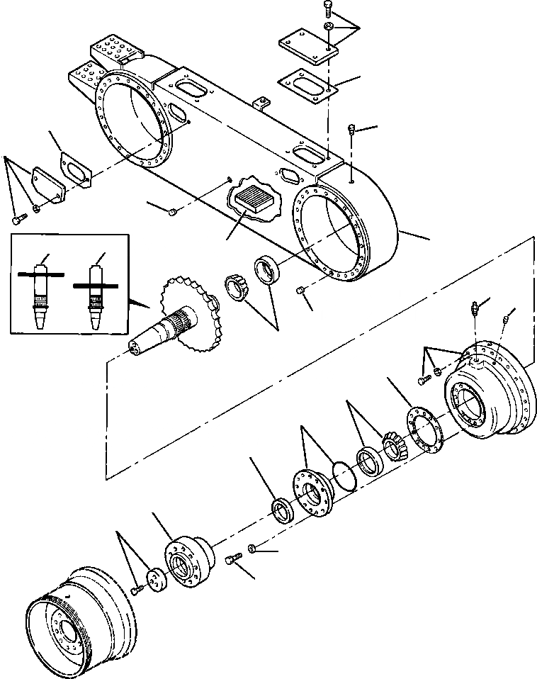
Запчасти Komatsu GD750A-1 СДВОЕНН. ПРИВОД С PLANETARY КОНЕЧНАЯ ПЕРЕДАЧА ПРИВОД TRAIN

Схема запчастей Komatsu GD750A-1 - СДВОЕНН. ПРИВОД С PLANETARY КОНЕЧНАЯ ПЕРЕДАЧА ПРИВОД TRAIN
11
12
20
14
13
17
1
9
10
16
3
19
17
5
2
15
4
8
18
6
7
22
21
FIT
1:1
100%

Артикул

Название

Примечание

Количество

|$0

FINAL DRIVE AND TANDEM (SEE PG 07-004)

-29шт.

1

1438 829 H91

TANDEM CASE - R.H

1шт.

|$2

1438 830 H91

TANDEM CASE - L.H. (SHOWN)

1шт.

2

HOUSING, BRAKE (SEE PG 04-012)

-29шт.

3

SCREW, BLEEDER (SEE PG 04-012)

-29шт.

4

BEARING (SEE PG 04-012)

-29шт.

5

BEARING (SEE PG 04-012)

-29шт.

6

HUB, WHEEL (SEE PG 15-002)

-29шт.

7

RETAINER (SEE PG 15-002)

-29шт.

8

HOUSING, BEARING (SEE PG 04-012)

-29шт.

9

1438 179 H91

SHAFT - FRONT

1шт.

10

1438 180 H91

SHAFT - REAR

1шт.

11

23723-11142

COVER, TOP ACCESS

2шт.

|$13

30 041 R1

BOLT

16шт.

|$14

01643-31232

WASHER

8шт.

12

1438 886 H1

GASKET

2шт.

13

1438 883 H1

COVER, SIDE ACCESS

4шт.

|$17

30 041 R1

BOLT

16шт.

|$18

01643-31232

WASHER

16шт.

14

1438 885 H1

GASKET

4шт.

15

SHIM (SEE PG 04-012)

-29шт.

16

1110 878 C1

MAGNET

1шт.

17

89 946

PLUG, PIPE

2шт.

18

1435 633 H1

SEAL

2шт.

19

PLUG, PIPE (SEE PG 04-012)

-29шт.

20

77 506

BREATHER

1шт.

21

BOLT (SEE PG 04-012)

-29шт.

22

WASHER (SEE PG 04-012)

-29шт.

Выбрано товаров: 0