Запчасти Komatsu GD750A-1 ГИДРАВЛ ТОРМОЗН. ГИДРОЛИНИЯS ТОРМОЗНОЙ КЛАПАН - ТОРМОЗ.S ТОРМОЗ.S

Схема запчастей Komatsu GD750A-1 - ГИДРАВЛ ТОРМОЗН. ГИДРОЛИНИЯS ТОРМОЗНОЙ КЛАПАН - ТОРМОЗ.S ТОРМОЗ.S
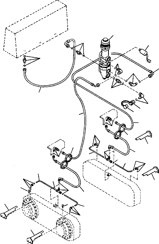
1
5
16
18
3
2
3
5
17
6
7
8
2
2
11
14
9
9
4
13
10
12
13
11
12
14
12
14
13
4
15
13
10
4
12
14
4
FIT
1:1
100%

Артикул

Название

Примечание

Количество

1

VALVE, BRAKE (SEE PG 04-010)

-29шт.

2

1439 017 H1

HOSE

2шт.

3

WB 0136

ELBOW

2шт.

|$3

WA 0012

O-RING

1шт.

|$4

TL 3995

O-RING

1шт.

4

1439 100 H91

GUARD WELDMENT, BRAKE LINE

4шт.

5

WB 0099

FITTING

2шт.

|$7

WA 0012

O-RING

1шт.

|$8

TL 3995

O-RING

1шт.

6

WB 0077

ELBOW

1шт.

|$10

WA 0012

O-RING

1шт.

7

1436 365 H1

COUPLING

1шт.

8

162 144

CAP, DUST

1шт.

9

1439 817 H1

CABLE TIE, DOUBLE LOOP

2шт.

10

1438 985 H1

HOSE

2шт.

11

WB 0179

ELBOW

2шт.

|$16

WA 0014

O-RING

2шт.

12

1436 415 H93

TUBE, BRAKE

4шт.

13

1439 224 H1

TEE

2шт.

|$19

WA 0014

O-RING

3шт.

14

1439 423 H1

ELBOW

4шт.

|$21

364 885 R1

O-RING

1шт.

|$22

WA 0012

O-RING

1шт.

15

SCREW, BLEEDER (SEE PG 04-012)

-29шт.

16

SWITCH, BRAKE LIGHT (SEE PG 08-024)

-29шт.

17

1439 007 H2

HOSE, BRAKE VALVE DRAIN

1шт.

18

WB 0100

FITTING

1шт.

|$27

WA 0012

O-RING

1шт.

|$28

SV 9812

O-RING

1шт.

Выбрано товаров: 29