Запчасти Komatsu GD755-3 РАДИАТОР СИСТЕМА ОХЛАЖДЕНИЯ

Схема запчастей Komatsu GD755-3 - РАДИАТОР СИСТЕМА ОХЛАЖДЕНИЯ
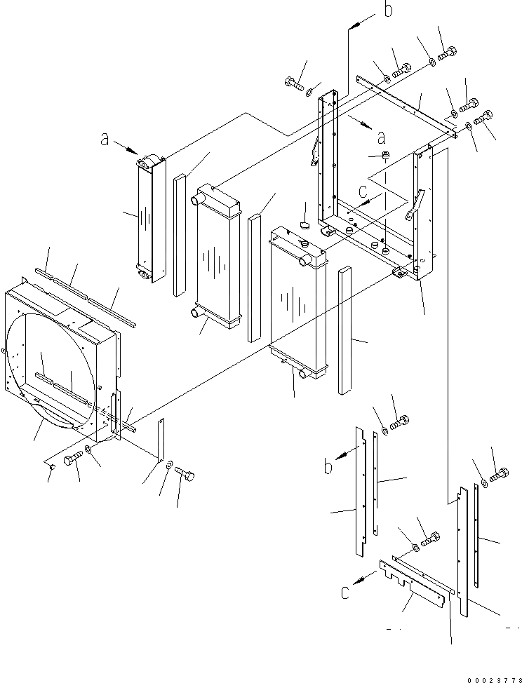
1
2
3
4
5
6
7
8
9
10
11
11
12
12
13
13
14
15
16
17
18
19
19
19
19
19
19
20
20
20
20
20
20
21
21
22
23
23
24
25
25
25
26
26
26
FIT
1:1
100%

Артикул

Название

Примечание

Количество

|1

23C-03-51104

RADIATOR ASS'Y

SN: 30001-UP

1шт.

1

23C-03-51121

RADIATOR CORE ASS'Y

SN: 30001-UP

1шт.

2

23C-03-51741

FRAME

SN: 30001-UP

1шт.

3

23C-03-51161

FRAME

SN: 30001-UP

1шт.

4

23C-03-51711

AC CORE ASS'Y

SN: 30001-UP

1шт.

5

23C-03-51181

OC CORE ASS'Y

SN: 30001-UP

1шт.

6

23C-03-51731

SHROUD

SN: 30001-UP

1шт.

7

23C-03-51410

CAP

SN: 30001-UP

1шт.

8

23C-03-51440

PACKING

SN: 30001-UP

1шт.

9

23C-03-51450

PACKING

SN: 30001-UP

1шт.

10

23C-03-51460

PACKING

SN: 30001-UP

1шт.

11

23C-03-51471

PACKING

SN: 30001-UP

2шт.

12

23C-03-51761

PACKING

SN: 30001-UP

2шт.

13

23C-03-51481

PACKING

SN: 30001-UP

2шт.

14

09415-00706

CAP

SN: 30001-UP

8шт.

15

01010-81020

BOLT

SN: 30001-UP

20шт.

16

01643-31032

WASHER

SN: 30001-UP

20шт.

17

23C-03-51751

CUSHION

SN: 30001-UP

4шт.

18

23C-03-51770

PLATE

SN: 30001-UP

1шт.

19

01010-81020

BOLT

SN: 30001-UP

18шт.

20

01643-31032

WASHER

SN: 30001-UP

18шт.

21

23C-03-51351

PLATE

SN: 30001-UP

2шт.

22

23C-03-51361

PLATE

SN: 30001-UP

1шт.

23

23C-03-51371

PLATE

SN: 30001-UP

2шт.

24

23C-03-51381

PLATE

SN: 30001-UP

1шт.

25

01010-80825

BOLT

SN: 30001-UP

11шт.

26

01643-30823

WASHER

SN: 30001-UP

11шт.

Выбрано товаров: 27