Запчасти Komatsu GD805A-1 ТОПЛИВОПРОВОД.(№-) КОМПОНЕНТЫ ДВИГАТЕЛЯ И ЭЛЕКТРИКА

Схема запчастей Komatsu GD805A-1 - ТОПЛИВОПРОВОД.(№-) КОМПОНЕНТЫ ДВИГАТЕЛЯ И ЭЛЕКТРИКА
FIT
1:1
100%

Артикул

Название

Примечание

Количество

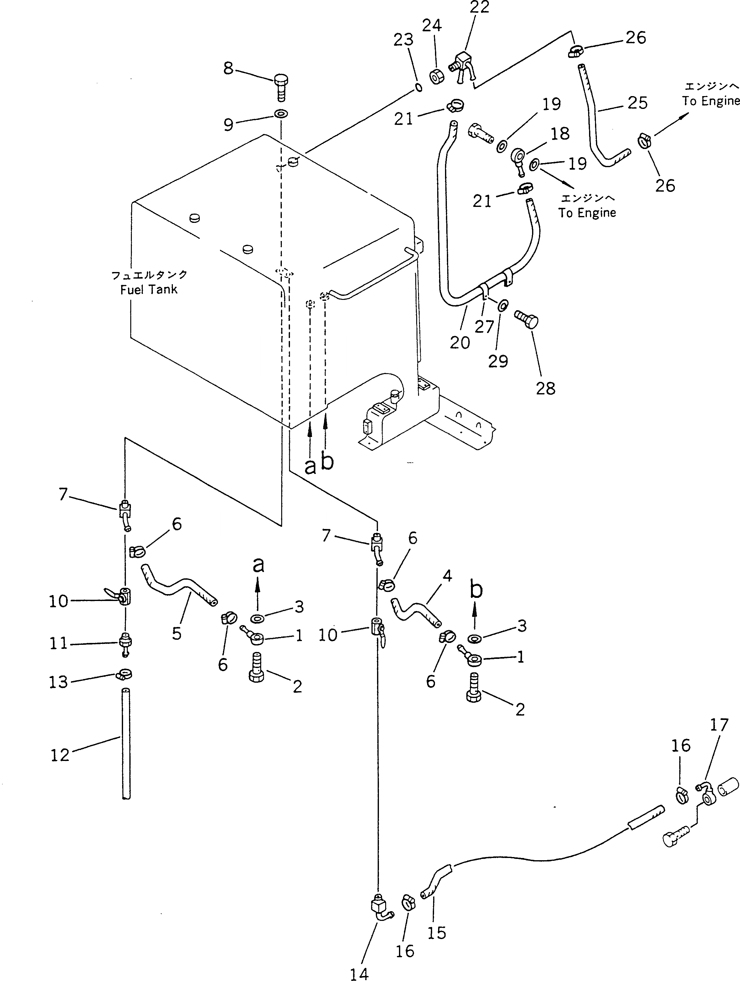
1

238-04-12110

TUBE

SN: 10002-UP

2шт.

2

07206-31014

BOLT,JOINT

SN: 10002-UP

2шт.

3

07005-01412

GASKET

SN: 10002-UP

2шт.

4

07260-20936

HOSE

SN: 10005-UP

1шт.

5

07260-20945

HOSE

SN: 10005-UP

1шт.

6

07281-00259

CLAMP

SN: 10002-UP

4шт.

7

235-04-12130

NIPPLE

SN: 10002-UP

2шт.

8

01010-50820

BOLT

SN: 10002-UP

2шт.

9

01643-30823

WASHER

SN: 10002-UP

2шт.

10

07700-40460

VALVE

SN: 10002-UP

2шт.

11

232-04-52340

NIPPLE

SN: 10002-UP

1шт.

12

07270-01290

TUBE

SN: 10002-UP

1шт.

13

236-04-21190

CLIP

SN: 10002-UP

1шт.

14

235-04-12140

NIPPLE

SN: 10002-UP

1шт.

15

07260-20971

HOSE

SN: 10005-UP

1шт.

16

07281-00197

CLAMP

SN: 10002-UP

2шт.

17

235-04-12160

TUBE

SN: 10002-UP

1шт.

18

235-04-12190

TUBE

SN: 10002-UP

1шт.

19

07005-01412

GASKET

SN: 10002-UP

2шт.

20

07261-20925

HOSE

SN: 10002-UP

1шт.

21

07281-00197

CLAMP

SN: 10002-UP

2шт.

22

235-04-12170

NIPPLE

SN: 10002-UP

1шт.

23

07002-12034

O-RING

SN: 10002-UP

1шт.

24

07239-12009

NUT

SN: 10002-UP

1шт.

25

07270-20470

TUBE

SN: 10002-UP

1шт.

26

07281-00137

CLAMP

SN: 10002-UP

2шт.

27

08036-21814

CLIP

SN: 10002-UP

2шт.

28

01010-50816

BOLT

SN: 10002-UP

2шт.

29

01643-30823

WASHER

SN: 10002-UP

2шт.

Выбрано товаров: 0