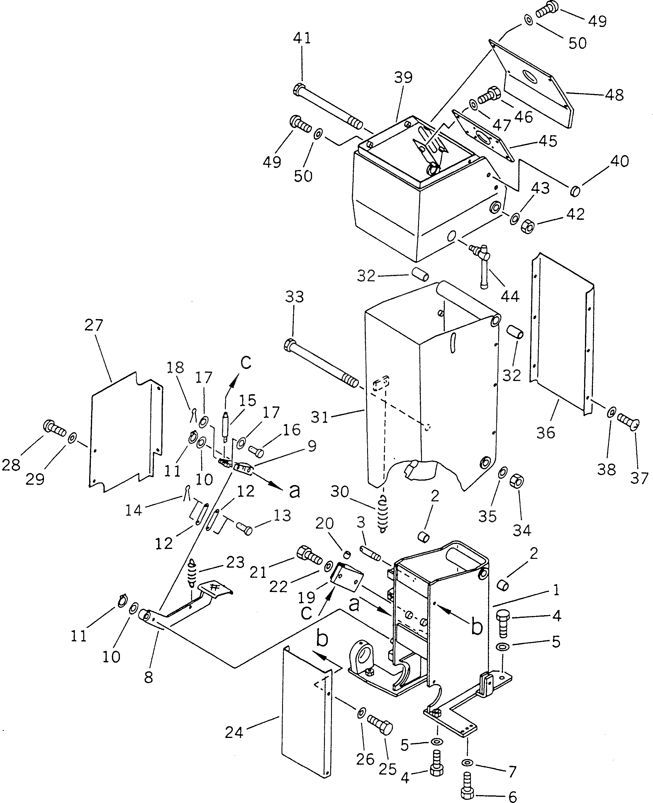
Запчасти Komatsu GD805A-1 КОНСОЛЬН. БЛОК (/)(№8-) СИСТЕМА УПРАВЛЕНИЯ

Схема запчастей Komatsu GD805A-1 - КОНСОЛЬН. БЛОК (/)(№8-) СИСТЕМА УПРАВЛЕНИЯ
FIT
1:1
100%

Артикул

Название

Примечание

Количество

1

235-43-28640

BRACKET

SN: 10008-UP

1шт.

2

235-43-28610

BUSHING

SN: 10008-UP

2шт.

3

238-43-38280

BOLT

SN: 10002-UP

1шт.

4

01010-51230

BOLT

SN: 10005-UP

5шт.

5

01643-31232

WASHER

SN: 10002-UP

5шт.

6

01010-50616

BOLT

SN: 10002-UP

1шт.

7

01643-30623

WASHER

SN: 10002-UP

1шт.

8

238-43-38220

PEDAL

SN: 10002-UP

1шт.

9

238-43-38210

LEVER

SN: 10002-UP

1шт.

10

01643-31232

WASHER

SN: 10002-UP

2шт.

11

04064-01210

RING,SNAP

SN: 10002-UP

2шт.

12

234-43-38770

PLATE

SN: 10002-UP

2шт.

13

04205-10822

PIN

SN: 10002-UP

2шт.

14

04050-12015

PIN,COTTER

SN: 10002-UP

2шт.

15

238-43-38190

PIN

SN: 10002-UP

1шт.

16

04205-10628

PIN

SN: 10002-UP

1шт.

17

01643-30623

WASHER

SN: 10002-UP

2шт.

18

04050-11610

PIN,COTTER

SN: 10002-UP

1шт.

19

235-43-28650

BLOCK

SN: 10008-UP

1шт.

20

235-43-28620

BUSHING

SN: 10008-UP

2шт.

21

01010-51230

BOLT

SN: 10008-UP

2шт.

22

01643-31232

WASHER

SN: 10008-UP

2шт.

23

234-835-2230

SPRING

SN: 10002-UP

1шт.

24

238-43-38240

COVER

SN: 10002-UP

1шт.

25

01010-50616

BOLT

SN: 10002-UP

2шт.

26

01643-30623

WASHER

SN: 10002-UP

2шт.

27

238-43-38250

COVER

SN: 10002-UP

1шт.

28

01220-40616

SCREW

SN: 10002-UP

4шт.

29

01643-30623

WASHER

SN: 10002-UP

4шт.

30

230-43-13120

SPRING

SN: 10002-UP

1шт.

31

235-43-28630

BOX

SN: 10008-UP

1шт.

32

234-885-1610

BUSHING

SN: 10002-UP

2шт.

33

238-43-38160

SHAFT

SN: 10002-UP

1шт.

34

233-43-27860

NUT

SN: 10002-UP

1шт.

35

01643-31845

WASHER

SN: 10002-UP

1шт.

36

235-43-28220

COVER

SN: 10002-UP

1шт.

37

01220-40616

SCREW

SN: 10002-UP

6шт.

38

01643-30623

WASHER

SN: 10002-UP

6шт.

39

235-43-28111

BOX

SN: 10005-UP

1шт.

40

09415-00706

CAP

SN: 10005-UP

1шт.

41

238-43-38170

SHAFT

SN: 10002-UP

1шт.

42

235-43-27860

NUT

SN: 10002-UP

1шт.

43

01643-31845

WASHER

SN: 10002-UP

1шт.

44

238-43-38230

HANDLE

SN: 10002-UP

1шт.

45

23D-43-18550

PLATE

SN: 10008-UP

1шт.

46

01010-51025

BOLT

SN: 10008-UP

4шт.

47

01643-31032

WASHER

SN: 10002-UP

4шт.

48

235-43-28120

COVER

SN: 10002-UP

1шт.

49

01220-40616

SCREW

SN: 10002-UP

8шт.

50

01643-30623

WASHER

SN: 10002-UP

8шт.

Выбрано товаров: 50