Запчасти Komatsu GD805A-1 ПОВОРОТНОЕ СОЕДИНЕНИЕ ГИДРАВЛИКА

Схема запчастей Komatsu GD805A-1 - ПОВОРОТНОЕ СОЕДИНЕНИЕ ГИДРАВЛИКА
FIT
1:1
100%

Артикул

Название

Примечание

Количество

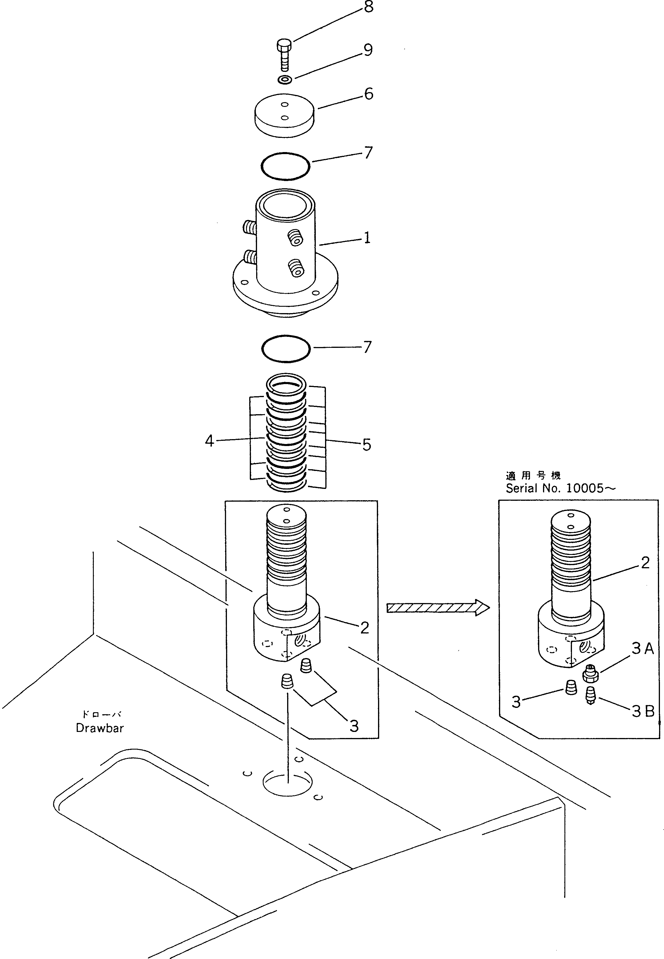
|1

235-60-14901

JOINT ASS'Y

SN: 10005-UP

1шт.

|1

0

JOINT ASS'Y

SN: 10002-10004

1шт.

1

235-60-14910

BODY

SN: 10002-UP

1шт.

2

235-60-14920

FLANGE

SN: 10002-UP

1шт.

3

07043-00211

PLUG

SN: 10005-UP

2шт.

|3

07043-00211

PLUG

SN: 10002-10004

4шт.

3A

235-60-14680

NIPPLE

SN: 10005-UP

2шт.

3B

07042-20108

PLUG

SN: 10005-UP

2шт.

4

07000-13050

O-RING

SN: 10002-UP

5шт.

5

07001-03050

RING,BACK-UP

SN: 10002-UP

8шт.

6

232-60-54730

PLATE

SN: 10002-UP

1шт.

7

07000-12065

O-RING

SN: 10002-UP

2шт.

8

01010-51225

BOLT

SN: 10002-UP

2шт.

9

01643-31232

WASHER

SN: 10002-UP

2шт.

Выбрано товаров: 14