Запчасти Komatsu GD805A-1 ГИДРОЛИНИЯ (ДЛЯ ЗАДН. РЫХЛИТЕЛЬ) (/) ГИДРАВЛИКА

Схема запчастей Komatsu GD805A-1 - ГИДРОЛИНИЯ (ДЛЯ ЗАДН. РЫХЛИТЕЛЬ) (/) ГИДРАВЛИКА
FIT
1:1
100%

Артикул

Название

Примечание

Количество

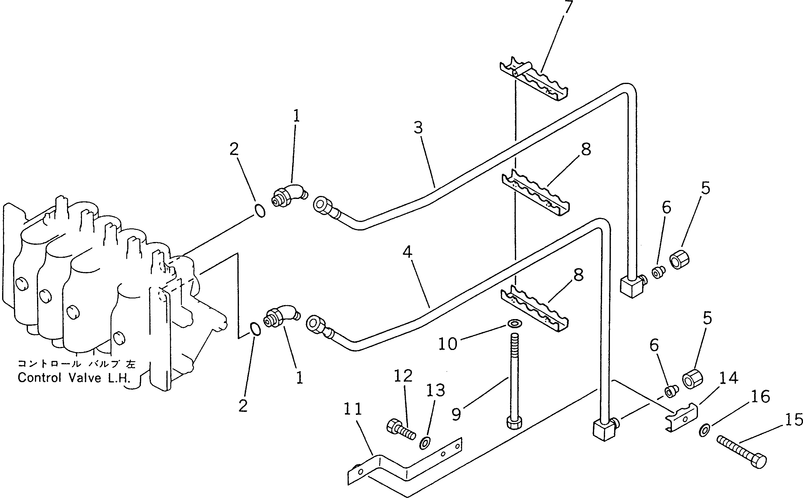
1

235-60-15370

ELBOW

SN: 10002-UP

2шт.

2

237-60-22240

O-RING

SN: 10002-UP

2шт.

3

235-60-15310

TUBE

SN: 10002-UP

1шт.

4

235-60-15320

TUBE

SN: 10002-UP

1шт.

5

07221-20422

NUT,SLEEVE

SN: 10002-UP

2шт.

6

07222-00414

PLUG

SN: 10002-UP

2шт.

7

235-60-15840

CLIP

SN: 10002-UP

1шт.

8

235-60-15830

CLIP

SN: 10002-UP

2шт.

9

01010-51095

BOLT

SN: 10002-UP

2шт.

10

01643-31032

WASHER

SN: 10002-UP

2шт.

11

234-60-15910

BRACKET

SN: 10002-UP

1шт.

12

01010-51020

BOLT

SN: 10002-UP

2шт.

13

01643-31032

WASHER

SN: 10002-UP

2шт.

14

237-60-14130

CLIP

SN: 10002-UP

1шт.

15

01010-51050

BOLT

SN: 10002-UP

1шт.

16

01643-31032

WASHER

SN: 10002-UP

1шт.

Выбрано товаров: 16