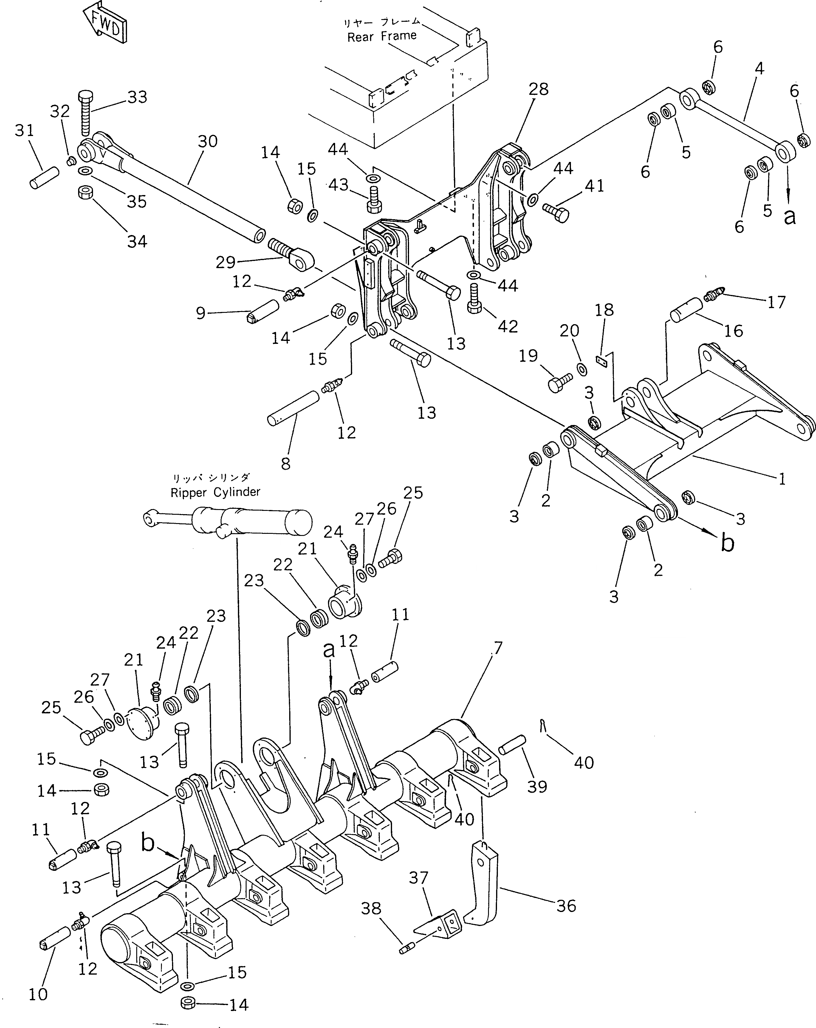
Запчасти Komatsu GD805A-1 ЗАДН. КРЕПЛЕНИЕ РЫХЛИТЕЛЬ РАБОЧЕЕ ОБОРУДОВАНИЕ

Схема запчастей Komatsu GD805A-1 - ЗАДН. КРЕПЛЕНИЕ РЫХЛИТЕЛЬ РАБОЧЕЕ ОБОРУДОВАНИЕ
FIT
1:1
100%

Артикул

Название

Примечание

Количество

1

235-785-1161

LINK

SN: .-UP

1шт.

|1

0

LINK

SN: 10002-.

1шт.

2

07143-10606

BUSHING

SN: 10002-UP

4шт.

3

07145-00060

SEAL,DUST

SN: 10002-UP

8шт.

4

235-785-1170

ROD

SN: 10002-UP

2шт.

5

234-785-1620

BUSHING

SN: 10002-UP

4шт.

6

07145-00060

SEAL,DUST

SN: 10002-UP

8шт.

7

235-785-1111

BRACKET

SN: .-UP

1шт.

|7

0

BRACKET

SN: 10002-.

1шт.

8

235-785-1210

PIN

SN: 10002-UP

2шт.

9

235-785-1270

PIN

SN: 10002-UP

2шт.

10

235-785-1220

PIN

SN: 10002-UP

2шт.

11

235-785-1230

PIN

SN: 10002-UP

2шт.

12

07020-00900

FITTING,GREASE

SN: 10002-UP

8шт.

13

01011-51025

BOLT

SN: 10002-UP

8шт.

14

01580-11008

NUT

SN: 10002-UP

8шт.

15

01643-31032

WASHER

SN: 10002-UP

8шт.

16

235-785-1290

PIN

SN: 10002-UP

1шт.

17

07020-00900

FITTING,GREASE

SN: 10002-UP

1шт.

18

04082-00514

LOCK

SN: 10002-UP

1шт.

19

01010-51435

BOLT

SN: 10002-UP

2шт.

20

01643-31445

WASHER

SN: 10002-UP

2шт.

21

234-785-1710

SUPPORT

SN: 10002-UP

2шт.

22

234-785-1610

BUSHING

SN: 10002-UP

2шт.

23

07145-00090

SEAL,DUST

SN: 10002-UP

2шт.

24

07020-00000

FITTING,GREASE

SN: 10002-UP

2шт.

25

01010-51250

BOLT

SN: 10002-UP

8шт.

26

01643-31232

WASHER

SN: 10002-UP

8шт.

27

01643-31232

WASHER

SN: 10002-UP

8шт.

28

235-785-1150

BRACKET

SN: 10002-UP

1шт.

29

234-785-1261

BOLT,EYE

SN: 10002-UP

2шт.

30

235-785-1180

ROD

SN: 10002-UP

2шт.

31

235-785-1190

PIN

SN: 10002-UP

2шт.

32

07048-01210

PLUG

SN: 10002-UP

2шт.

33

01011-51025

BOLT

SN: 10002-UP

2шт.

34

01580-11008

NUT

SN: 10002-UP

2шт.

35

01643-31032

WASHER

SN: 10002-UP

2шт.

36

235-785-1250

SHANK

SN: 10002-UP

3шт.

37

235-785-1260

POINT

SN: 10002-UP

3шт.

38

09244-02516

PIN

SN: 10002-UP

3шт.

39

235-785-1240

PIN

SN: 10002-UP

3шт.

40

04050-10070

PIN,COTTER

SN: 10002-UP

6шт.

41

01010-52465

BOLT

SN: 10002-UP

6шт.

42

01010-52470

BOLT

SN: 10002-UP

4шт.

43

01010-52455

BOLT

SN: 10002-UP

2шт.

44

01643-32460

WASHER

SN: 10002-UP

12шт.

Выбрано товаров: 46