Запчасти Komatsu GD805A-1 ТРАНСМИССИЯ (УПРАВЛЯЮЩ. КЛАПАН) (/)(№-) СИЛОВАЯ ПЕРЕДАЧА

Схема запчастей Komatsu GD805A-1 - ТРАНСМИССИЯ (УПРАВЛЯЮЩ. КЛАПАН) (/)(№-) СИЛОВАЯ ПЕРЕДАЧА
FIT
1:1
100%

Артикул

Название

Примечание

Количество

|1

235-15-00010

TRANSMISSION ASS'Y

SN: 10002-10004

1шт.

|1

235-15-00070

TRANSMISSION ASS'Y,(B)

SN: 10002-10004

1шт.

|1

235-15-00500

CONTROL VALVE ASS'Y

SN: 10002-10004

1шт.

|1

235-15-00600

CONTROL VALVE ASS'Y,(B)

SN: 10002-10004

1шт.

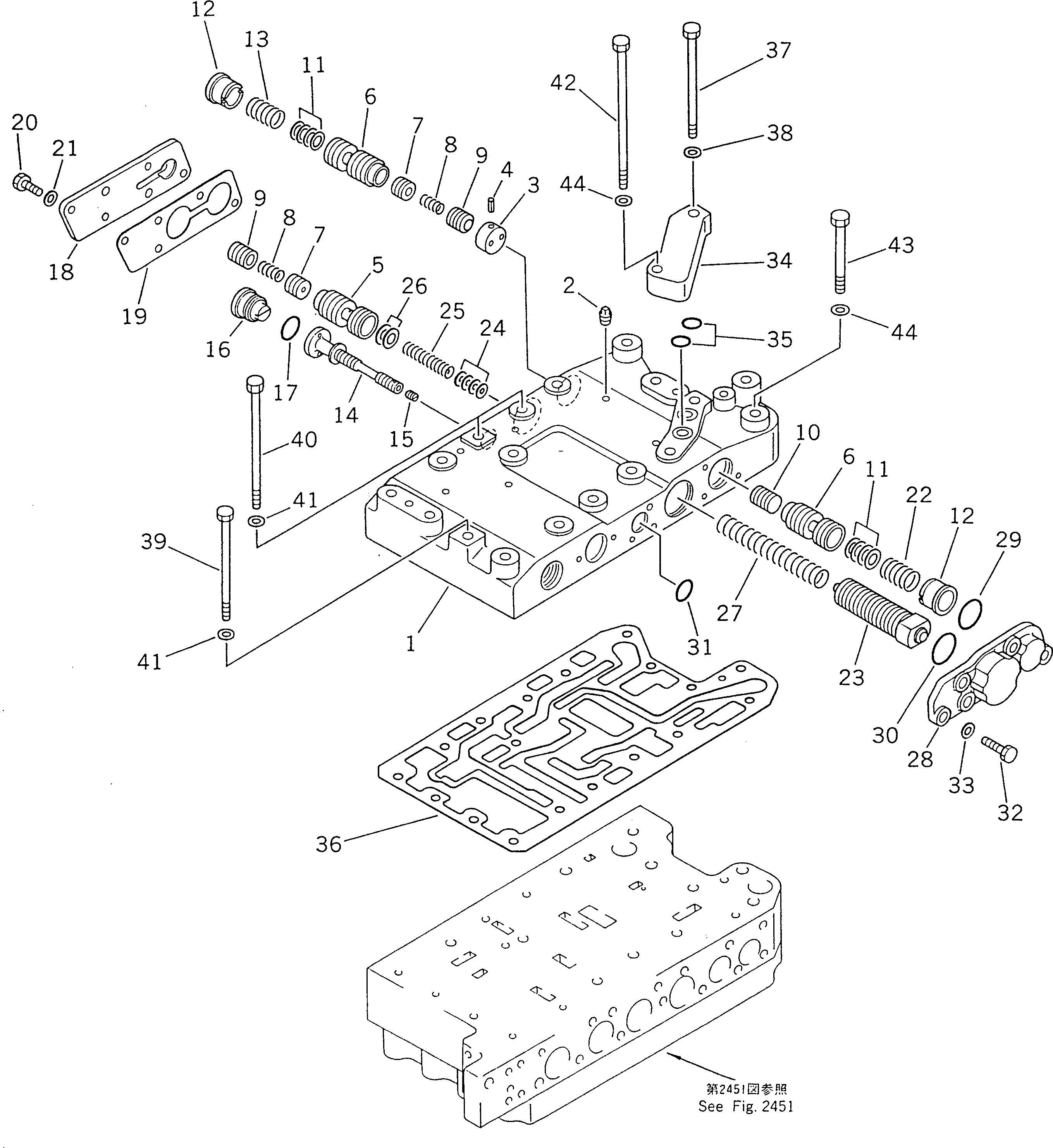
1

424-15-15110

BODY

SN: 10002-10004

1шт.

2

07042-20108

PLUG

SN: 10002-10004

7шт.

3

424-15-15650

STOPPER

SN: 10002-@

1шт.

4

04025-00640

PIN,SPRING

SN: 10002-@

1шт.

5

424-15-15230

VALVE

SN: 10002-@

1шт.

6

425-15-15220

VALVE

SN: 10002-@

2шт.

7

104-15-25490

VALVE

SN: 10002-@

2шт.

8

125-15-15290

SPRING,(L=26)

SN: 10002-@

2шт.

9

104-15-25480

VALVE

SN: 10002-@

2шт.

10

145-14-23720

PISTON

SN: 10002-@

1шт.

11

113-15-25260

SHIM¤ 0.5MM

SN: 10002-@

8шт.

12

424-15-15490

GUIDE

SN: 10002-@

2шт.

13

104-15-25290

SPRING¤ (L= 62.0),(L=62)

SN: 10002-@

1шт.

14

424-15-15630

VALVE

SN: 10002-@

1шт.

15

125-15-11230

PLUG

SN: 10002-@

1шт.

16

424-15-15290

STOPPER

SN: 10002-@

1шт.

17

07000-72021

O-RING

SN: 10002-@

1шт.

18

424-15-15860

COVER

SN: 10002-@

1шт.

19

424-15-15930

GASKET

SN: 10002-@

1шт.

20

01010-50820

BOLT

SN: 10002-@

5шт.

21

01643-50823

WASHER

SN: 10002-@

5шт.

22

10E-10-12750

SPRING,(L=62)

SN: 10002-@

1шт.

23

235-15-15560

VALVE

SN: 10002-@

1шт.

24

424-15-16410

SHIM¤ 0.5MM

SN: 10002-@

14шт.

25

424-15-16170

SPRING¤ (L=118.0),(L=118)

SN: 10002-@

1шт.

26

424-15-16420

SHIM¤ 0.5MM

SN: 10002-@

4шт.

27

424-15-16161

SPRING¤ (L=145.66),(L=144.66)

SN: 10002-@

1шт.

28

235-15-15850

COVER

SN: 10002-@

1шт.

29

07000-73030

O-RING

SN: 10002-@

1шт.

30

07000-73035

O-RING

SN: 10002-@

1шт.

31

07000-72015

O-RING

SN: 10002-@

1шт.

32

01010-50825

BOLT

SN: 10002-@

6шт.

33

01643-50823

WASHER

SN: 10002-@

6шт.

34

424-15-15891

COVER

SN: 10002-10004

1шт.

35

07000-72015

O-RING

SN: 10002-10004

2шт.

36

235-15-15980

GASKET

SN: 10002-10004

1шт.

37

01010-51090

BOLT

SN: 10002-@

1шт.

38

01643-31032

WASHER

SN: 10002-@

1шт.

39

01011-51025

BOLT

SN: 10002-@

2шт.

40

01010-51070

BOLT

SN: 10002-10004

2шт.

41

01643-31032

WASHER

SN: 10002-@

4шт.

42

01011-51075

BOLT

SN: 10002-@

1шт.

43

01011-51055

BOLT

SN: 10002-10004

12шт.

44

01643-31032

WASHER

SN: 10002-@

13шт.

Выбрано товаров: 48