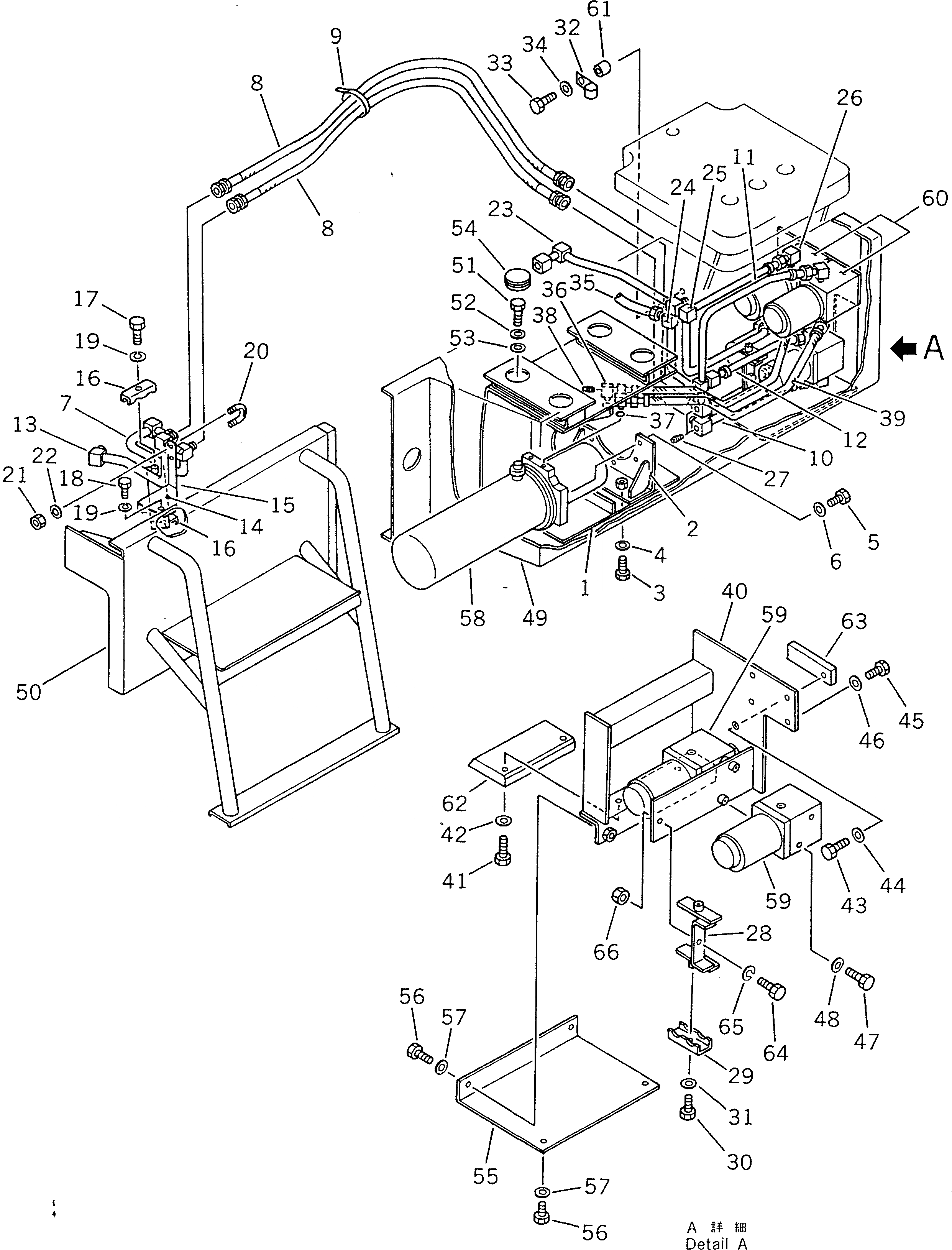
Запчасти Komatsu GD805A-1 ГИДРОЛИНИЯ ЭКСТРЕННОГО УПРАВЛЕНИЯ(№-.) СИЛОВАЯ ПЕРЕДАЧА

Схема запчастей Komatsu GD805A-1 - ГИДРОЛИНИЯ ЭКСТРЕННОГО УПРАВЛЕНИЯ(№-.) СИЛОВАЯ ПЕРЕДАЧА
FIT
1:1
100%

Артикул

Название

Примечание

Количество

1

235-832-1320

BRACKET

SN: 10002-@

1шт.

2

235-832-1310

BRACKET

SN: 10002-@

1шт.

3

01010-51230

BOLT

SN: 10002-@

2шт.

4

01643-31232

WASHER

SN: 10002-@

2шт.

5

01010-50820

BOLT

SN: 10002-@

4шт.

6

01643-30823

WASHER

SN: 10002-@

4шт.

7

235-832-1110

TUBE

SN: 10002-.

1шт.

8

07121-00413

HOSE

SN: 10002-.

2шт.

9

08034-00536

BAND

SN: 10002-.

1шт.

10

235-832-1130

TUBE

SN: 10002-.

1шт.

11

235-832-1140

TUBE

SN: 10002-.

1шт.

12

235-832-1150

TUBE

SN: 10002-.

1шт.

13

235-832-1180

TUBE

SN: 10002-.

1шт.

14

235-832-1120

PLATE

SN: 10002-.

1шт.

15

235-832-1190

BRACKET

SN: 10002-.

1шт.

16

232-60-54820

CLIP

SN: 10002-.

2шт.

17

01010-51030

BOLT

SN: 10002-.

1шт.

18

01010-51035

BOLT

SN: 10002-.

1шт.

19

01602-21030

WASHER,SPRING

SN: 10002-.

2шт.

20

07283-21529

CLIP

SN: 10002-.

1шт.

21

01598-00809

NUT

SN: 10002-.

2шт.

22

01643-30823

WASHER

SN: 10002-.

2шт.

23

235-832-1220

TUBE

SN: 10002-@

1шт.

24

235-832-1210

TUBE

SN: 10002-@

1шт.

25

235-832-1240

TUBE

SN: 10002-@

1шт.

26

233-40-33190

ELBOW

SN: 10002-.

8шт.

27

07042-10108

PLUG

SN: 10002-.

2шт.

28

235-832-1160

BRACKET

SN: 10002-.

1шт.

29

232-60-54820

CLIP

SN: 10002-.

2шт.

30

01010-51025

BOLT

SN: 10002-.

2шт.

31

01602-21030

WASHER,SPRING

SN: 10002-.

2шт.

32

233-60-29850

CLIP

SN: 10002-@

1шт.

33

01010-50820

BOLT

SN: 10002-@

1шт.

34

01643-30823

WASHER

SN: 10002-@

1шт.

35

238-60-41370

TUBE

SN: 10002-@

1шт.

36

235-832-1170

ELBOW

SN: 10002-@

2шт.

37

235-60-15490

O-RING

SN: 10002-@

2шт.

38

07042-10108

PLUG

SN: 10002-@

2шт.

39

07121-00305

HOSE

SN: 10002-@

2шт.

40

235-832-1330

BRACKET

SN: 10002-@

1шт.

41

01010-51240

BOLT

SN: 10002-@

2шт.

42

01643-31232

WASHER

SN: 10002-@

2шт.

43

01010-51225

BOLT

SN: 10002-@

1шт.

44

01643-31232

WASHER

SN: 10002-@

1шт.

45

01010-50820

BOLT

SN: 10002-.

4шт.

46

01643-30823

WASHER

SN: 10002-.

4шт.

47

01010-50680

BOLT

SN: 10002-.

4шт.

48

01643-30623

WASHER

SN: 10002-.

4шт.

49

235-832-1340

COVER,L.H.

SN: 10002-@

1шт.

50

235-832-1350

COVER,L.H.

SN: 10002-@

1шт.

51

01010-51230

BOLT

SN: 10002-@

4шт.

52

01643-31232

WASHER

SN: 10002-.

4шт.

53

01643-31232

WASHER

SN: 10002-.

4шт.

54

09415-03614

CAP

SN: 10002-@

4шт.

55

235-832-1360

COVER

SN: 10002-@

1шт.

56

01010-50620

BOLT

SN: 10002-@

4шт.

57

01643-30623

WASHER

SN: 10002-@

4шт.

58

235-40-12300

PUMP ASS'Y

SN: 10002-@

1шт.

59

234-61-31700

VALVE ASS'Y

SN: 10002-.

2шт.

60

235-40-12400

VALVE ASS'Y

SN: 10002-.

2шт.

61

232-46-51760

SEAT (WELDED)

SN: 10002-@

1шт.

62

235-832-1420

PLATE (WELDED)

SN: 10002-@

1шт.

63

01573-12210

SEAT (WELDED)

SN: 10002-@

1шт.

64

01010-51025

BOLT

SN: 10002-.

1шт.

65

01602-21030

WASHER,SPRING

SN: 10002-.

1шт.

66

01580-11008

NUT

SN: 10002-.

1шт.

Выбрано товаров: 66