Запчасти Komatsu GD805A-1 ЭКСТРЕНН. РУЛЕВ. УПРАВЛЕНИЕ ЭЛЕКТРОПРОВОДКА(№-..) СИЛОВАЯ ПЕРЕДАЧА

Схема запчастей Komatsu GD805A-1 - ЭКСТРЕНН. РУЛЕВ. УПРАВЛЕНИЕ ЭЛЕКТРОПРОВОДКА(№-..) СИЛОВАЯ ПЕРЕДАЧА
FIT
1:1
100%

Артикул

Название

Примечание

Количество

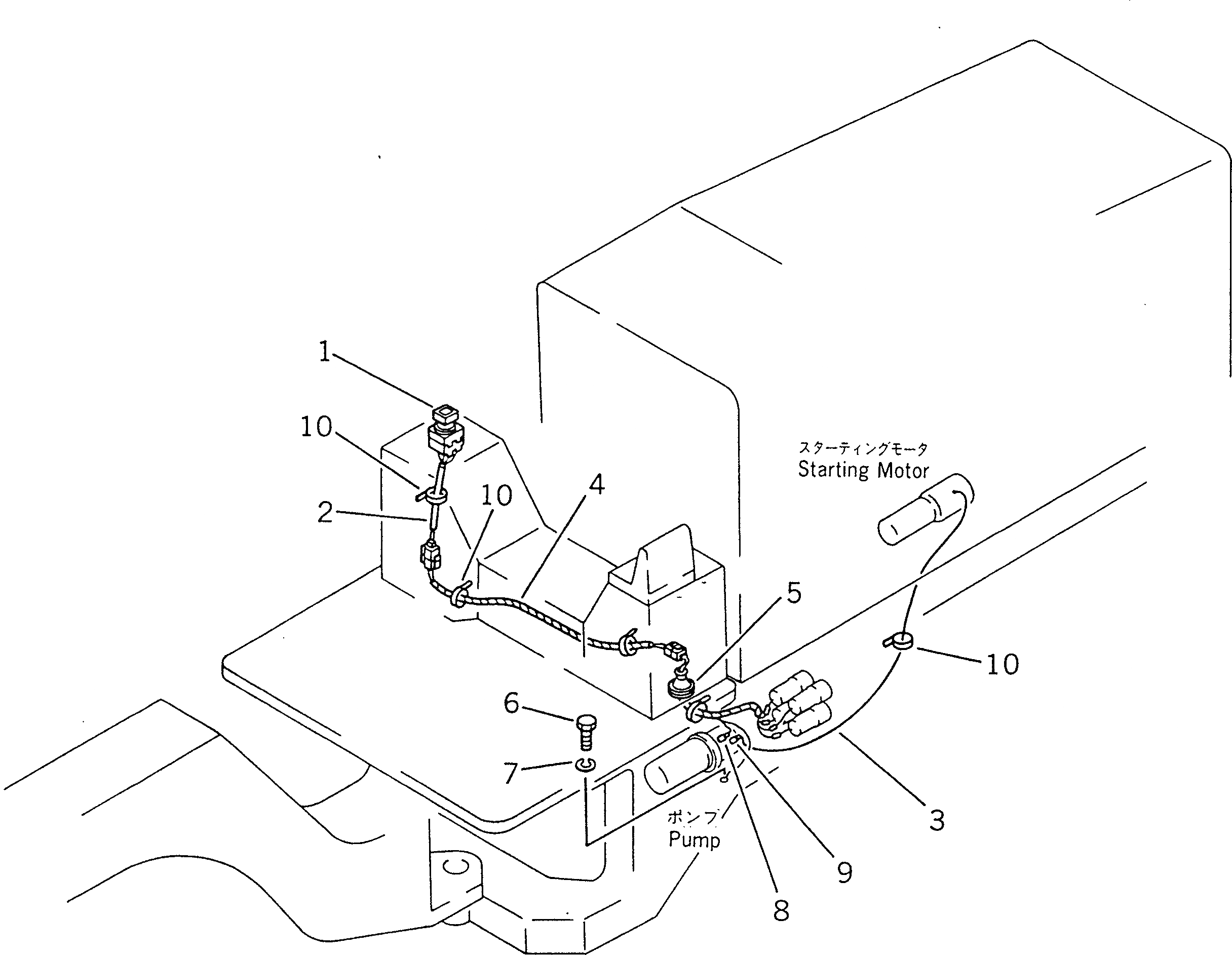
1

235-806-1110

SWITCH

SN: 10002-..

1шт.

2

235-806-1120

WIRE ASS'Y

SN: 10002-..

1шт.

3

235-806-1130

WIRE

SN: 10002-..

1шт.

4

235-806-1140

WIRE ASS'Y

SN: 10002-..

1шт.

5

235-806-1150

WIRE ASS'Y

SN: 10002-..

1шт.

6

01010-50812

BOLT

SN: 10002-..

1шт.

7

01602-20825

WASHER,SPRING

SN: 10002-..

1шт.

8

08038-00218

CAP

SN: 10002-..

1шт.

9

08038-02027

CAP

SN: 10002-..

1шт.

10

08034-00519

BAND

SN: 10002-..

5шт.

Выбрано товаров: 10