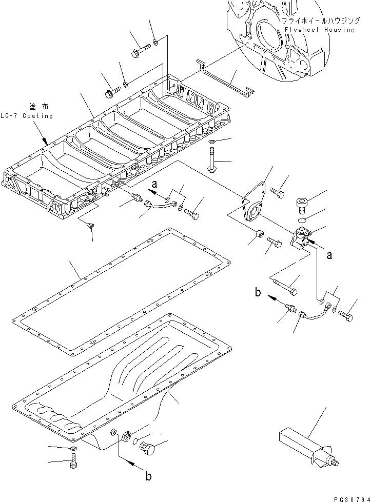
Запчасти Komatsu S6D140-1B-80 МАСЛЯНЫЙ ПОДДОН(№78-7) БЛОК ЦИЛИНДРОВ

Схема запчастей Komatsu S6D140-1B-80 - МАСЛЯНЫЙ ПОДДОН(№78-7) БЛОК ЦИЛИНДРОВ
1
2
3
4
5
6
7
7
7
8
9
10
11
12
13
14
15
16
17
18
19
20
21
22
23
24
24
25
25
26
26
27
1
2
3
4
5
6
7
7
7
8
9
10
11
12
13
14
15
16
17
18
19
20
21
22
23
24
24
25
25
26
26
27
FIT
1:1
100%

Артикул

Название

Примечание

Количество

1

6210-21-5230

FRAME

SN: 10414-12337

1шт.

|1

0

FRAME

SN: 10278-10413

1шт.

2

07043-00211

PLUG

SN: 10278-12327

1шт.

3

6210-21-5280

GASKET (K2)

SN: 10278-12337

1шт.

4

6210-81-9410

BOLT

SN: 10278-12337

32шт.

5

6210-81-9440

BOLT

SN: 10278-12337

2шт.

6

6210-81-9450

BOLT

SN: 10278-12337

4шт.

7

01640-21016

WASHER

SN: 10278-12337

38шт.

8

6210-21-5120

PAN,OIL

SN: 10278-12337

1шт.

9

07044-13620

PLUG,DRAIN

SN: 10518-@

1шт.

|9

0

PLUG,DRAIN

SN: 10278-10517

1шт.

10

07002-23634

O-RING (K2)

SN: 10278-@

1шт.

11

6210-21-5812

GASKET (K2)

SN: 10935-12337

1шт.

|11

6210-21-5812

GASKET

SN: 10641-10934

1шт.

|11

0

GASKET (K2)

SN: 10278-10640

1шт.

12

01010-51030

BOLT

SN: 10278-12337

36шт.

13

01640-21016

WASHER

SN: 10278-12337

36шт.

14

6210-81-4321

BRACKET

SN: 10710-12337

1шт.

|14

0

BRACKET

SN: 10278-10709

1шт.

|$$20

(6210-81-4321{01010-51030)}

-1шт.

15

01010-51030

BOLT

SN: 10710-12337

2шт.

|15

01010-51020

BOLT

SN: 10278-10709

2шт.

16

01010-51035

BOLT

SN: 10278-12337

1шт.

17

6631-11-6390

SPACER

SN: 10278-12337

1шт.

18

6210-81-4210

CASE

SN: 10278-12337

1шт.

19

07040-13618

PLUG

SN: 10278-12337

1шт.

20

07002-23634

O-RING (K2)

SN: 10278-12337

1шт.

21

01010-51075

BOLT

SN: 10278-12337

2шт.

22

6210-81-4230

TUBE

SN: 10278-12337

1шт.

23

6210-81-4240

TUBE

SN: 10278-12337

1шт.

24

07214-50813

CONNECTOR

SN: 10278-12337

2шт.

25

07206-30812

BOLT,JOINT

SN: 10278-12337

2шт.

26

07005-01212

GASKET (K2)

SN: 10278-12337

4шт.

27

09920-00150

LIQUID GASKET,LG-7¤ 150G

SN: 10278-12337

1шт.

1

6210-21-5230

FRAME

SN: 10414-12337

1шт.

|1

0

FRAME

SN: 10278-10413

1шт.

2

07043-00211

PLUG

SN: 10278-12327

1шт.

3

6210-21-5280

GASKET (K2)

SN: 10278-12337

1шт.

4

6210-81-9410

BOLT

SN: 10278-12337

32шт.

5

6210-81-9440

BOLT

SN: 10278-12337

2шт.

6

6210-81-9450

BOLT

SN: 10278-12337

4шт.

7

01640-21016

WASHER

SN: 10278-12337

38шт.

8

6210-21-5120

PAN,OIL

SN: 10278-12337

1шт.

9

07044-13620

PLUG,DRAIN

SN: 10518-@

1шт.

|9

0

PLUG,DRAIN

SN: 10278-10517

1шт.

10

07002-23634

O-RING (K2)

SN: 10278-@

1шт.

11

6210-21-5812

GASKET (K2)

SN: 10935-12337

1шт.

|11

6210-21-5812

GASKET

SN: 10641-10934

1шт.

|11

0

GASKET (K2)

SN: 10278-10640

1шт.

12

01010-51030

BOLT

SN: 10278-12337

36шт.

13

01640-21016

WASHER

SN: 10278-12337

36шт.

14

6210-81-4321

BRACKET

SN: 10710-12337

1шт.

|14

0

BRACKET

SN: 10278-10709

1шт.

|$$20

(6210-81-4321{01010-51030)}

-1шт.

15

01010-51030

BOLT

SN: 10710-12337

2шт.

|15

01010-51020

BOLT

SN: 10278-10709

2шт.

16

01010-51035

BOLT

SN: 10278-12337

1шт.

17

6631-11-6390

SPACER

SN: 10278-12337

1шт.

18

6210-81-4210

CASE

SN: 10278-12337

1шт.

19

07040-13618

PLUG

SN: 10278-12337

1шт.

20

07002-23634

O-RING (K2)

SN: 10278-12337

1шт.

21

01010-51075

BOLT

SN: 10278-12337

2шт.

22

6210-81-4230

TUBE

SN: 10278-12337

1шт.

23

6210-81-4240

TUBE

SN: 10278-12337

1шт.

24

07214-50813

CONNECTOR

SN: 10278-12337

2шт.

25

07206-30812

BOLT,JOINT

SN: 10278-12337

2шт.

26

07005-01212

GASKET (K2)

SN: 10278-12337

4шт.

27

09920-00150

LIQUID GASKET,LG-7¤ 150G

SN: 10278-12337

1шт.

Выбрано товаров: 68