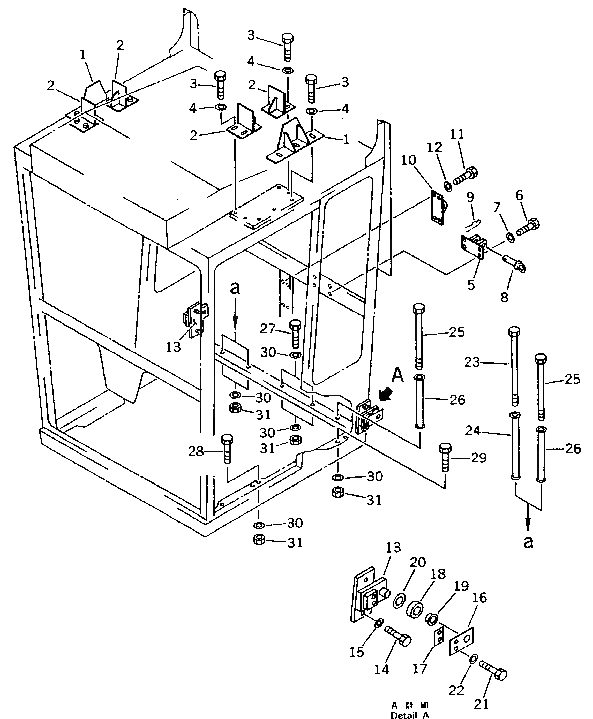
Запчасти Komatsu GD825A-2 КАБИНА (8/8) (ПОДЪЕМ ЧАСТИ)(№-8) РАМА И ЧАСТИ КОРПУСА

Схема запчастей Komatsu GD825A-2 - КАБИНА (8/8) (ПОДЪЕМ ЧАСТИ)(№-8) РАМА И ЧАСТИ КОРПУСА
FIT
1:1
100%

Артикул

Название

Примечание

Количество

|$0

235-957-0210

ROPS CAB ASS'Y,(FULL)

SN: 11001-11008

1шт.

|$1

235-957-0230

ROPS CAB ASS'Y,(LOW)

SN: 11001-11008

1шт.

|$$3

THESE ASSEMBLIES CONSIST OF ALL PARTS SHOWN IN FIGS.5401 TO 5415 AND 5511.

-1шт.

1

235-950-5260

BRACKET

SN: 11001-11008

2шт.

2

235-950-5250

BRACKET

SN: 11001-11008

4шт.

3

01010-51025

BOLT

SN: 11001-@

14шт.

4

234-54-13252

WASHER

SN: 11001-@

14шт.

5

235-957-3430

BRACKET

SN: 11001-@

2шт.

6

01010-51055

BOLT

SN: 11001-@

8шт.

7

01643-31032

WASHER

SN: 11001-@

8шт.

8

235-957-3450

PIN,LINCH

SN: 11001-@

2шт.

9

234-971-8180

PIN,SNAP

SN: 11001-@

2шт.

10

235-957-3130

HOOK

SN: 11001-@

1шт.

11

01010-51025

BOLT

SN: 11001-@

4шт.

12

01643-31032

WASHER

SN: 11001-@

4шт.

13

235-950-5150

BRACKET,L.H.

SN: 11001-@

1шт.

13

235-957-3440

BRACKET,R.H.

SN: 11001-@

1шт.

14

01010-51225

BOLT

SN: 11001-@

4шт.

15

01643-31232

WASHER

SN: 11001-@

4шт.

16

235-950-5160

PLATE

SN: 11001-@

2шт.

17

235-950-0100

SHIM ASS'Y

SN: 11001-@

1шт.

17

0

SHIM, 1.0MM

SN: 11001-@

4шт.

18

235-950-5180

PLATE

SN: 11001-@

2шт.

19

235-950-5220

BUSHING

SN: 11001-@

2шт.

20

235-950-5230

SEAT

SN: 11001-@

2шт.

21

01010-51235

BOLT

SN: 11001-@

4шт.

22

01643-31232

WASHER

SN: 11001-@

4шт.

23

235-957-3470

BOLT

SN: 11001-@

1шт.

24

235-957-3490

TUBE

SN: 11001-@

1шт.

25

235-957-3460

BOLT

SN: 11001-@

2шт.

26

235-957-3480

TUBE

SN: 11001-@

2шт.

27

01010-51255

BOLT

SN: 11001-11008

2шт.

28

01010-51230

BOLT

SN: 11001-@

9шт.

29

01010-51260

BOLT

SN: 11001-@

4шт.

30

01643-31232

WASHER

SN: 11001-11008

18шт.

31

01580-01210

NUT

SN: 11001-11008

18шт.

Выбрано товаров: 36