Запчасти Komatsu GD825A-2 ОТВАЛ(№8-) РАБОЧЕЕ ОБОРУДОВАНИЕ

Схема запчастей Komatsu GD825A-2 - ОТВАЛ(№8-) РАБОЧЕЕ ОБОРУДОВАНИЕ
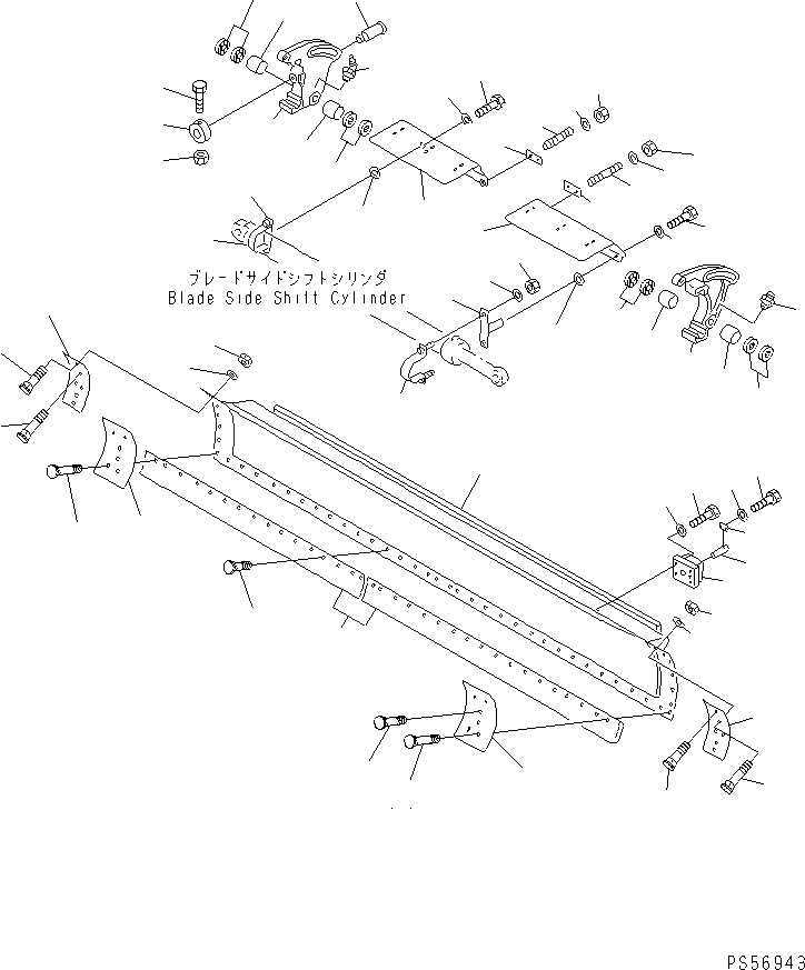
1
2
3
4
5
6
7
8
9
10
10
11
11
12
12
12
13
14
14
15
15
16
16
17
17
18
19
20
21
22
23
24
24
25
25
26
26
26
26
27
28
29
29
30
30
31
31
32
32
33
33
34
34
35
35
36
36
37
37
38
39
40
41
FIT
1:1
100%

Артикул

Название

Примечание

Количество

1

235-70-12111

BLADE

SN: 11028-12000

1шт.

1

235-70-12121

RAIL (WELDED)

SN: 11028-@

2шт.

2

235-70-11280

BRACKET

SN: 11001-@

1шт.

3

01010-52075

BOLT

SN: 11001-@

5шт.

4

01643-32060

WASHER

SN: 11001-@

5шт.

5

235-70-11290

PIN

SN: 11001-@

1шт.

6

04082-00212

LOCK

SN: 11001-@

1шт.

7

01010-51225

BOLT

SN: 11001-@

2шт.

8

01643-31232

WASHER

SN: 11001-@

2шт.

9

235-70-12140

EDGE

SN: 11001-12000

2шт.

10

234-70-32230

EDGE,SIDE

SN: 11001-@

2шт.

11

234-70-32240

BIT,END

SN: 11001-12000

2шт.

12

234-70-32260

BOLT

SN: 11028-12000

26шт.

13

234-70-32270

BOLT

SN: 11028-12000

4шт.

14

235-70-12330

BOLT

SN: 11028-12000

6шт.

15

234-70-32280

BOLT

SN: 11001-12000

2шт.

16

234-70-32290

NUT

SN: 11001-@

44шт.

17

01643-32060

WASHER

SN: 11001-@

44шт.

18

235-70-13262

ADJUSTER,L.H.

SN: 11001-@

1шт.

19

235-70-13272

ADJUSTER,R.H.

SN: 11001-@

1шт.

20

235-70-12161

SHAFT

SN: 11001-@

1шт.

21

235-70-12350

COLLAR

SN: 11001-@

1шт.

22

01011-51410

BOLT

SN: 11001-@

1шт.

23

01598-01415

NUT

SN: 11001-@

1шт.

24

235-70-13430

BUSHING

SN: 11001-@

2шт.

25

235-70-13440

BUSHING

SN: 11001-@

2шт.

26

235-70-13450

SEAL

SN: 11001-@

8шт.

27

235-70-13332

COVER,L.H.

SN: 11031-@

1шт.

27

235-70-13331

COVER,L.H.

SN: 11001-11030

1шт.

28

235-70-13342

COVER,R.H.

SN: 11031-@

1шт.

28

235-70-13341

COVER,R.H.

SN: 11001-11030

1шт.

29

235-70-13350

PLATE

SN: 11001-@

2шт.

30

01124-51230

STUD

SN: 11001-@

4шт.

31

01598-01214

NUT

SN: 11001-@

4шт.

32

232-43-58360

WASHER

SN: 11001-@

4шт.

33

235-70-31221

CLIP

SN: 11001-@

2шт.

34

235-70-31211

CLIP

SN: 11001-@

2шт.

35

01010-51230

BOLT

SN: 11001-@

2шт.

36

01643-31232

WASHER

SN: 11001-@

2шт.

37

232-43-58360

WASHER

SN: 11001-@

2шт.

38

01598-01011

NUT

SN: 11001-@

4шт.

39

01643-31032

WASHER

SN: 11001-@

4шт.

40

07020-00000

FITTING,GREASE

SN: 11001-@

1шт.

41

07020-00675

FITTING,GREASE

SN: 11001-@

1шт.

Выбрано товаров: 0