Запчасти Komatsu GD825A-2 ВОЗДУХОВОД (/) СИСТЕМА УПРАВЛЕНИЯ

Схема запчастей Komatsu GD825A-2 - ВОЗДУХОВОД (/) СИСТЕМА УПРАВЛЕНИЯ
FIT
1:1
100%

Артикул

Название

Примечание

Количество

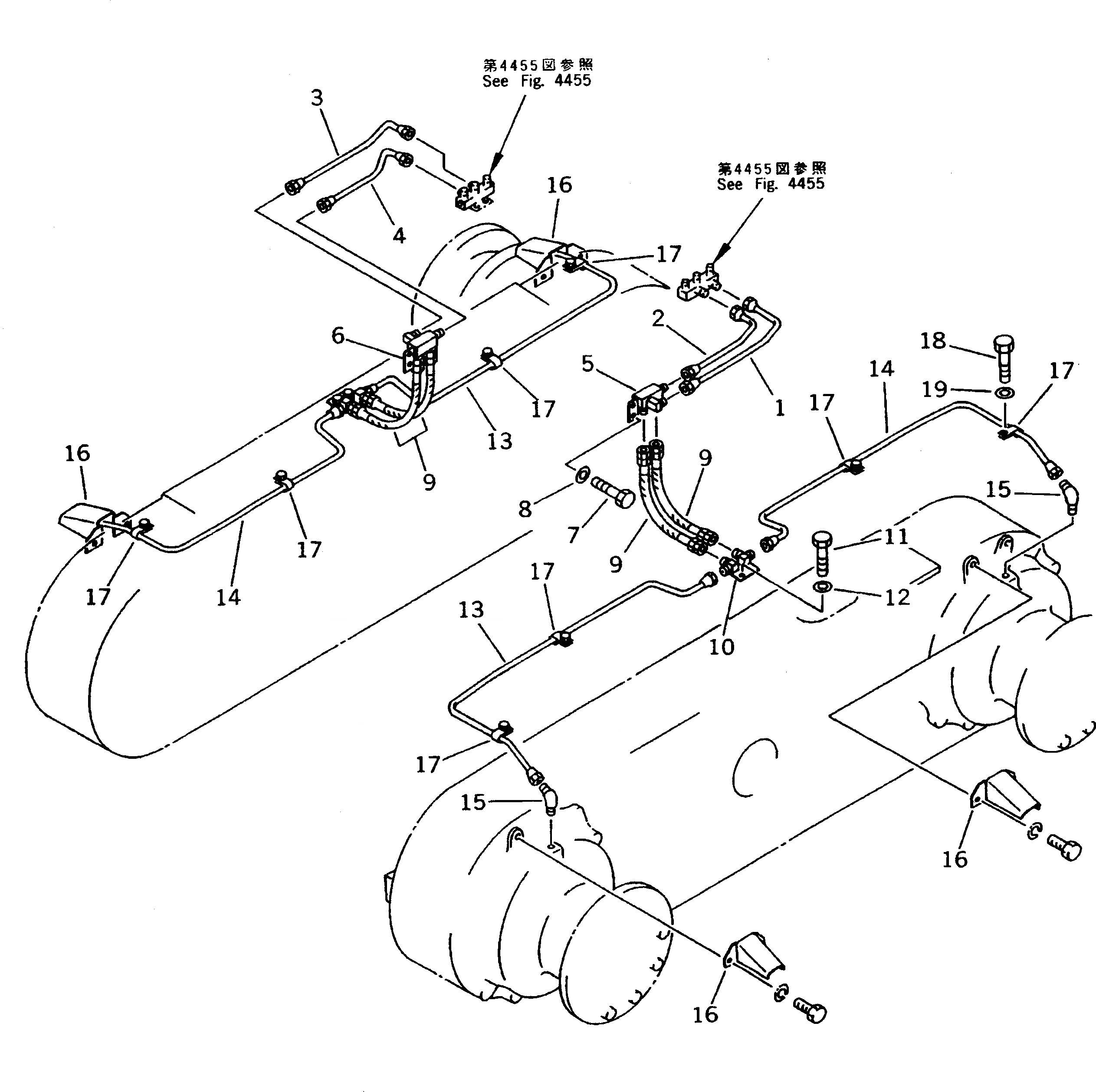
1

235-44-31281

TUBE

SN: 11001-UP

1шт.

2

235-44-31271

TUBE

SN: 11001-UP

1шт.

3

235-44-31261

TUBE

SN: 11001-UP

1шт.

4

235-44-31251

TUBE

SN: 11001-UP

1шт.

5

235-44-11510

JOINT

SN: 11001-UP

1шт.

6

235-44-12410

JOINT

SN: 11001-UP

1шт.

7

01010-51220

BOLT

SN: 11001-UP

4шт.

8

01643-31232

WASHER

SN: 11001-UP

4шт.

9

07103-50404

HOSE

SN: 11028-UP

4шт.

|9

07102-20404

HOSE

SN: 11001-11027

4шт.

10

232-44-54970

JOINT

SN: 11001-UP

2шт.

11

01010-51220

BOLT

SN: 11001-UP

4шт.

12

01643-31232

WASHER

SN: 11001-UP

4шт.

13

235-44-31610

TUBE

SN: 11001-UP

2шт.

14

235-44-31620

TUBE

SN: 11001-UP

2шт.

15

235-44-11570

ELBOW

SN: 11001-UP

4шт.

16

235-44-11580

PROTECTOR

SN: 11001-UP

4шт.

17

232-44-54680

CLIP

SN: 11001-UP

8шт.

18

01010-51220

BOLT

SN: 11001-UP

8шт.

19

01643-31232

WASHER

SN: 11001-UP

8шт.

Выбрано товаров: 20