Запчасти Komatsu GD825A-2 КОНДИЦ. ВОЗДУХА (/7) (КОМПРЕССОР И ЭЛЕМЕНТЫ КРЕПЛЕНИЯ)(№-) РАМА И ЧАСТИ КОРПУСА

Схема запчастей Komatsu GD825A-2 - КОНДИЦ. ВОЗДУХА (/7) (КОМПРЕССОР И ЭЛЕМЕНТЫ КРЕПЛЕНИЯ)(№-) РАМА И ЧАСТИ КОРПУСА
FIT
1:1
100%

Артикул

Название

Примечание

Количество

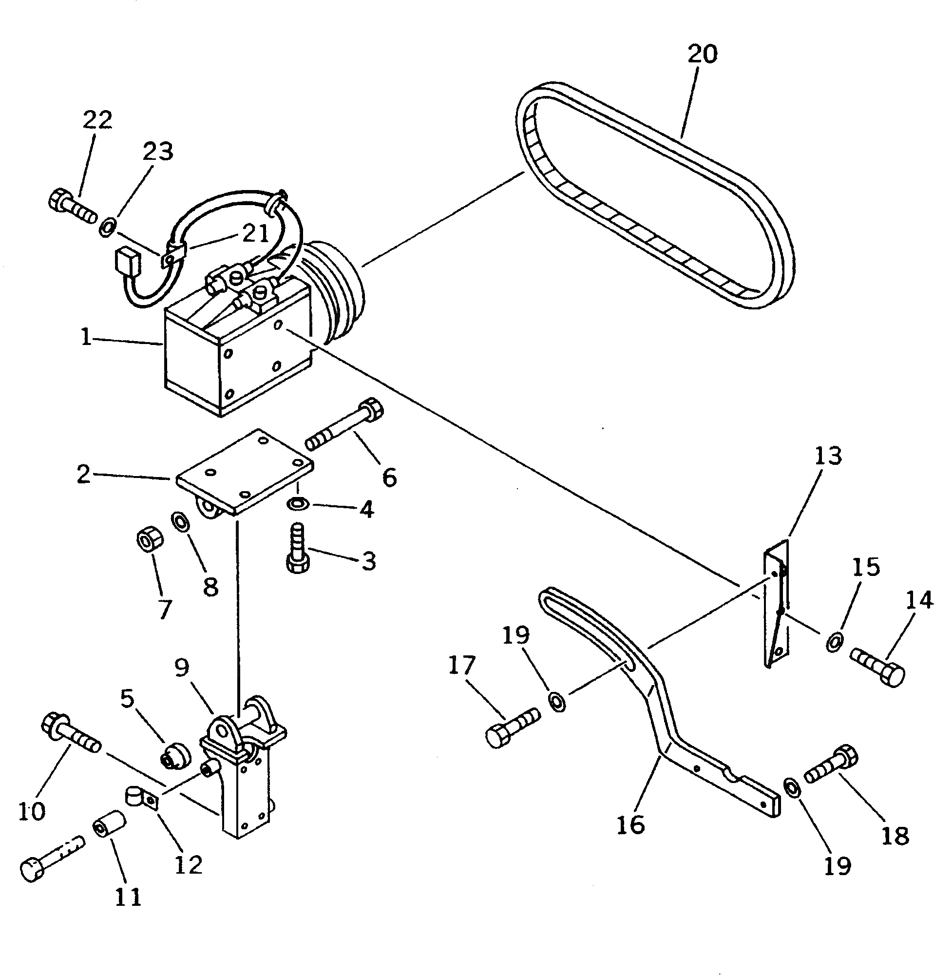
1

195-Z11-5300

COMPRESSOR ASS'Y

SN: 11001-11013

1шт.

|1

195-Z11-6330

COMPRESSOR

SN: 11001-11013

1шт.

|1

195-Z11-6340

MAGNET CLUTCH A.

SN: 11001-11013

1шт.

2

235-809-3470

BRACKET

SN: 11001-11013

1шт.

3

01010-50835

BOLT

SN: 11001-11013

4шт.

4

01643-30823

WASHER

SN: 11001-11013

4шт.

5

419-07-11760

COLLAR

SN: 11001-11013

1шт.

6

01011-51260

BOLT

SN: 11001-11013

1шт.

7

01580-11210

NUT

SN: 11001-11013

1шт.

8

01643-31232

WASHER

SN: 11001-11013

1шт.

9

235-809-3460

BRACKET

SN: 11001-11013

1шт.

10

01435-01025

BOLT

SN: 11001-11013

4шт.

11

6210-11-582A

SPACER

SN: 11001-11013

1шт.

12

112-946-4170

CLIP

SN: 11001-11013

1шт.

13

235-809-3480

PLATE

SN: 11001-11013

1шт.

14

01010-50820

BOLT

SN: 11001-11013

2шт.

15

01643-30823

WASHER

SN: 11001-11013

2шт.

16

235-809-3490

PLATE

SN: 11001-11013

1шт.

17

01010-51230

BOLT

SN: 11001-11013

1шт.

18

01010-51235

BOLT

SN: 11001-11013

2шт.

19

01643-31232

WASHER

SN: 11001-11013

3шт.

20

04120-21752

V-BELT

SN: 11001-11013

1шт.

21

08036-10810

CLIP

SN: 11001-11013

1шт.

22

01010-50816

BOLT

SN: 11001-11013

1шт.

23

01643-30823

WASHER

SN: 11001-11013

1шт.

Выбрано товаров: 25