Запчасти Komatsu GD825A-2E0 ВОЗДУХОВОД (/) СИСТЕМАУПРАВЛЕНИЯ ПОВОРОТОМ

Схема запчастей Komatsu GD825A-2E0 - ВОЗДУХОВОД (/) СИСТЕМАУПРАВЛЕНИЯ ПОВОРОТОМ
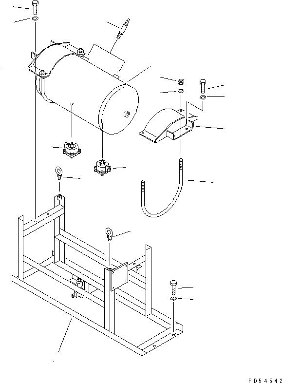
1
2
2
3
3
4
5
6
7
7
8
8
9
10
11
12
12
13
FIT
1:1
100%

Артикул

Название

Примечание

Количество

1

234-44-11114

TANK,AIR

SN: 20001-UP

1шт.

2

232-44-53510

VALVE,AUTO DRAIN

SN: 20001-UP

2шт.

3

235-44-11110

SUPPORT

SN: 20001-UP

2шт.

4

232-44-54810

U-BOLT

SN: 20001-UP

2шт.

5

01580-11008

NUT

SN: 20001-UP

4шт.

6

01643-31032

WASHER

SN: 20001-UP

4шт.

7

01010-81025

BOLT

SN: 20001-UP

4шт.

8

01643-31032

WASHER

SN: 20001-UP

4шт.

9

235-44-46112

BRACKET

SN: 20001-UP

1шт.

10

01010-81225

BOLT

SN: 20001-UP

4шт.

11

01643-31232

WASHER

SN: 20001-UP

4шт.

12

04530-11222

BOLT,EYE

SN: 20001-UP

2шт.

13

232-44-52620

VALVE ASS'Y,SAFETY

SN: 20001-UP

2шт.

Выбрано товаров: 13