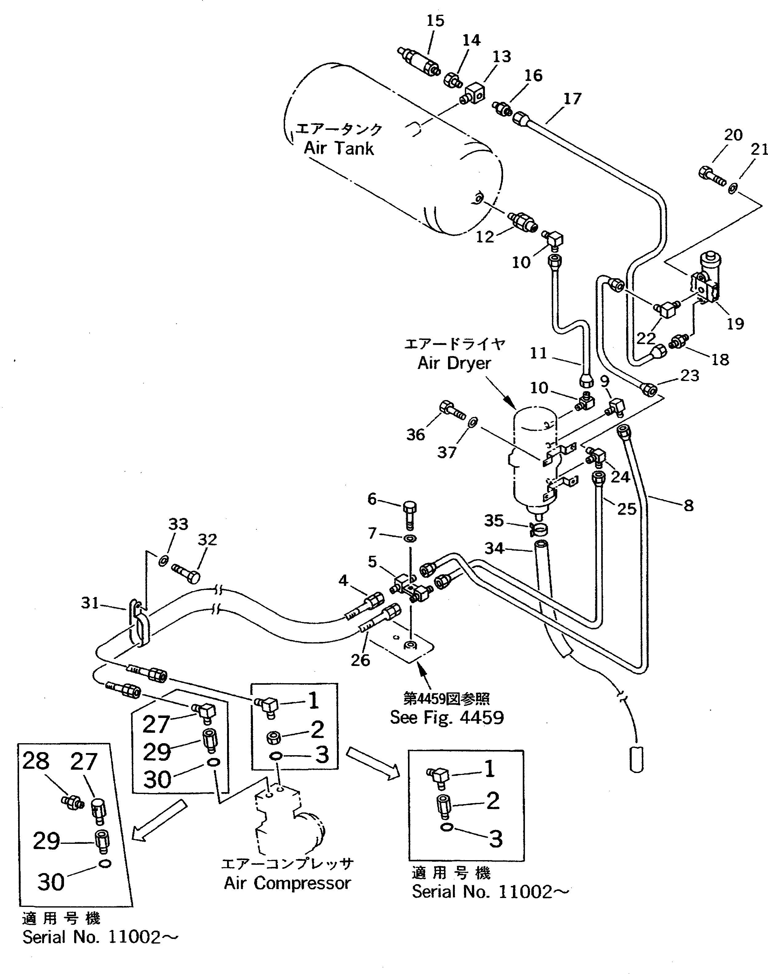
Запчасти Komatsu GH320-2 ТОРМОЗНАЯ ГИДРОЛИНИЯ (/) (КОМПРЕССОР - ВОЗД. ВЛАГООТДЕЛИТЕЛЬ - ВОЗД. БАЛЛОН) СИСТЕМА УПРАВЛЕНИЯ

Схема запчастей Komatsu GH320-2 - ТОРМОЗНАЯ ГИДРОЛИНИЯ (/) (КОМПРЕССОР - ВОЗД. ВЛАГООТДЕЛИТЕЛЬ - ВОЗД. БАЛЛОН) СИСТЕМА УПРАВЛЕНИЯ
FIT
1:1
100%

Артикул

Название

Примечание

Количество

1

232-44-52450

ELBOW

SN: 11002-UP

1шт.

|1

238-44-11311

ELBOW

SN: 11001-11001

1шт.

2

113-899-6820

NIPPLE

SN: 11002-UP

1шт.

|2

232-64-12160

NUT

SN: 11001-11001

1шт.

3

07005-02416

GASKET

SN: 11002-UP

1шт.

|3

07002-12434

O-RING

SN: 11001-11001

1шт.

4

07102-20413

HOSE

SN: 11001-UP

1шт.

5

234-44-31450

JOINT

SN: 11001-UP

1шт.

6

01010-81020

BOLT

SN: .-UP

1шт.

|6

0

BOLT

SN: 11001-.

1шт.

7

01643-31232

WASHER

SN: 11001-UP

1шт.

8

23F-44-11211

TUBE

SN: 12055-UP

-1шт.

|8

0

TUBE

SN: 11001-12054

1шт.

9

232-44-52270

ELBOW

SN: 11001-UP

1шт.

10

232-44-52270

ELBOW

SN: 11001-UP

2шт.

11

23F-44-21321

TUBE

SN: 12055-UP

1шт.

|11

0

TUBE

SN: 12001-12054

1шт.

|11

23F-44-11240

TUBE

SN: 11001-12000

1шт.

12

234-44-11242

VALVE ASS'Y,CHECK

SN: 11001-UP

1шт.

13

154-865-1150

ELBOW

SN: 11001-UP

1шт.

14

234-43-12510

JOINT

SN: 11001-UP

1шт.

15

232-44-52620

VALVE ASS'Y,SAFETY

SN: 11001-UP

1шт.

16

232-44-52570

NIPPLE

SN: 11001-UP

1шт.

17

23F-44-21311

TUBE

SN: 12055-UP

1шт.

|17

0

TUBE

SN: 12001-12054

1шт.

|17

23F-44-11230

TUBE

SN: 11001-12000

1шт.

18

232-44-52320

NIPPLE

SN: 11001-UP

1шт.

19

232-44-52611

GOVERNOR,AIR

SN: 12010-UP

1шт.

|19

232-44-52610

GOVERNOR ASS'Y,AIR

SN: 11001-12009

1шт.

20

01010-50870

BOLT

SN: 11001-UP

2шт.

21

01643-30823

WASHER

SN: 11001-UP

2шт.

22

234-44-41220

ELBOW

SN: 12010-UP

1шт.

|22

238-44-11350

ELBOW

SN: 11001-12009

1шт.

22A

07042-70108

PLUG

SN: 12010-UP

1шт.

23

23F-44-11251

TUBE

SN: 12055-UP

1шт.

|23

0

TUBE

SN: 11001-12054

1шт.

24

23F-44-11510

ELBOW

SN: 11002-UP

1шт.

|24

232-44-55150

ELBOW

SN: 11001-11001

1шт.

25

23F-44-11221

TUBE

SN: 12055-UP

1шт.

|25

0

TUBE

SN: 11001-12054

1шт.

26

07102-20415

HOSE

SN: 11001-UP

1шт.

27

234-991-3620

ELBOW

SN: 11002-UP

1шт.

|27

232-44-52450

ELBOW

SN: 11001-11001

1шт.

28

07238-00422

CONNECTOR

SN: 11002-UP

1шт.

29

234-991-3630

NIPPLE

SN: 11002-UP

1шт.

|29

232-44-62110

NIPPLE

SN: 11001-11001

1шт.

30

07005-01412

GASKET

SN: 11001-UP

1шт.

31

04435-52210

CLIP

SN: 11001-UP

1шт.

32

01010-81016

BOLT

SN: .-UP

1шт.

|32

0

BOLT

SN: 11001-.

1шт.

33

01643-31032

WASHER

SN: 11001-UP

1шт.

34

07286-01680

HOSE

SN: 12001-UP

1шт.

|34

0

HOSE

SN: 11001-12000

1шт.

35

07285-00180

CLIP

SN: 11001-UP

1шт.

36

01010-81020

BOLT

SN: .-UP

4шт.

|36

0

BOLT

SN: 11001-.

4шт.

37

01643-31032

WASHER

SN: 11001-UP

4шт.

Выбрано товаров: 57