Запчасти Komatsu GH320-2 КАПОТ ИПАНЕЛЬ(№-) РАМА И ЧАСТИ КОРПУСА

Схема запчастей Komatsu GH320-2 - КАПОТ И  ПАНЕЛЬ(№-) РАМА И ЧАСТИ КОРПУСА
FIT
1:1
100%

Артикул

Название

Примечание

Количество

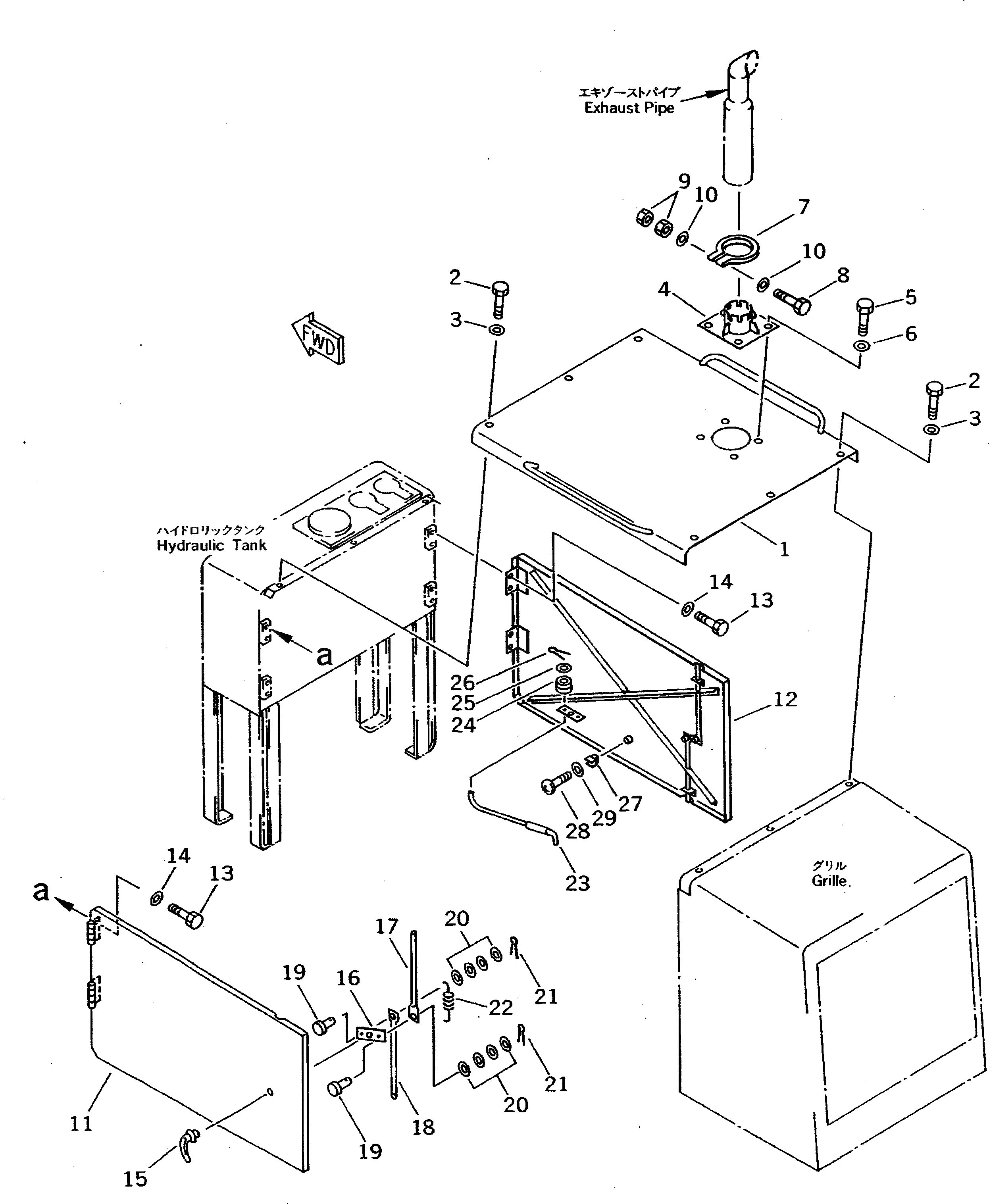
1

23F-54-15130

HOOD

SN: 11001-12000

1шт.

2

01010-51025

BOLT

SN: 11001-@

6шт.

3

234-54-13252

WASHER

SN: 11001-@

6шт.

4

23F-54-15140

SUPPORT

SN: 11001-@

1шт.

5

01010-51025

BOLT

SN: 11001-@

4шт.

6

234-54-13252

WASHER

SN: 11001-@

4шт.

7

23F-54-15120

CLAMP

SN: 11001-@

1шт.

8

6693-12-5550

BOLT

SN: 11001-@

1шт.

9

01582-21411

NUT

SN: 11001-@

2шт.

10

01643-31445

WASHER

SN: 11001-@

2шт.

11

23F-54-15250

PANEL,SIDE¤ L.H.

SN: 11001-12000

1шт.

12

23F-54-15260

PANEL,SIDE¤ R.H.

SN: 11001-12000

1шт.

13

01010-51020

BOLT

SN: 11001-@

8шт.

14

01643-31032

WASHER

SN: 11001-@

8шт.

15

238-54-12620

HANDLE

SN: 11001-12000

2шт.

16

23A-54-15140

PLATE

SN: 11001-12000

2шт.

17

23F-54-15290

BAR

SN: 11001-12000

2шт.

18

23F-54-15280

BAR

SN: 11002-12000

2шт.

|18

23E-54-11230

ROD

SN: 11001-11001

2шт.

19

04205-10514

PIN

SN: 11001-12000

4шт.

20

01641-20508

WASHER

SN: 11001-12000

16шт.

21

04050-11208

PIN,COTTER

SN: 11001-12000

4шт.

22

236-54-22460

SPRING

SN: 11001-12000

2шт.

23

235-54-21760

BAR

SN: 11001-@

2шт.

24

08037-01008

GROMMET

SN: 11001-@

2шт.

25

01643-31032

WASHER

SN: 11001-@

2шт.

26

04050-13018

PIN,COTTER

SN: 11001-@

2шт.

27

283-06-17130

CLIP

SN: 11001-@

2шт.

28

01220-60610

SCREW

SN: 11001-@

2шт.

29

01643-30623

WASHER

SN: 11001-@

2шт.

Выбрано товаров: 30